Запчасти Komatsu D60PL-6 ГИДРОЛИНИЯ (/)¤ ГИДР. НАСОС. - БАК¤ ДЛЯ ANGLE AN УПРАВЛ-Е РАБОЧИМ ОБОРУДОВАНИЕМ

Схема запчастей Komatsu D60PL-6 - ГИДРОЛИНИЯ (/)¤ ГИДР. НАСОС. - БАК¤ ДЛЯ ANGLE AN УПРАВЛ-Е РАБОЧИМ ОБОРУДОВАНИЕМ
FIT
1:1
100%

Артикул

Название

Примечание

Количество

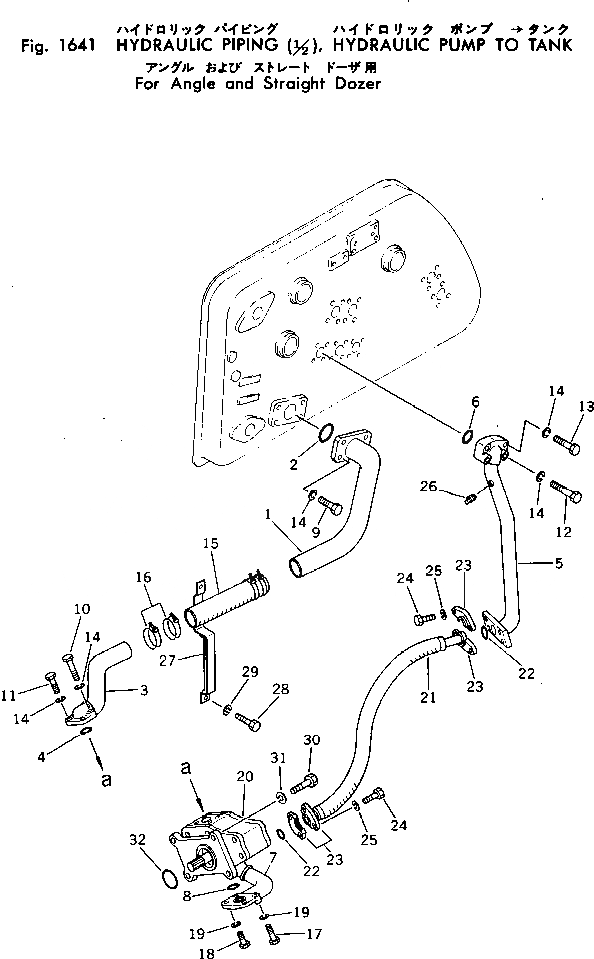
1

144-60-18114

TUBE

SN: 20006-UP

1шт.

2

07000-02075

O-RING

SN: 20006-UP

1шт.

3

144-60-18123

TUBE

SN: 20006-UP

1шт.

4

07000-02070

O-RING

SN: 20006-UP

1шт.

5

144-60-18142

TUBE

SN: 20006-UP

1шт.

6

07000-23048

O-RING

SN: 20006-UP

1шт.

7

144-60-17121

TUBE

SN: 20032-UP

1шт.

|7

144-60-18173

TUBE

SN: 20006-20031

1шт.

8

07000-23040

O-RING

SN: 20006-UP

1шт.

9

01010-31240

BOLT

SN: 20006-UP

4шт.

10

01010-31280

BOLT

SN: 20006-UP

2шт.

11

01010-31265

BOLT

SN: 20006-UP

2шт.

12

01010-31275

BOLT

SN: 20006-UP

2шт.

13

01010-31255

BOLT

SN: 20006-UP

2шт.

14

01602-01236

WASHER

SN: 20006-UP

12шт.

15

07260-05820

HOSE

SN: 20006-UP

1шт.

16

07280-08029

CLAMP

SN: 20006-UP

4шт.

17

01010-31075

BOLT

SN: 20006-UP

2шт.

18

01010-31060

BOLT

SN: 20006-UP

2шт.

19

01602-01030

WASHER

SN: 20006-UP

4шт.

20

07443-67503

PUMP ASS'Y

SN: 28061-UP

1шт.

|20

0

PUMP ASS'Y

SN: 20024-28060

1шт.

|20

07443-67100

PUMP ASS'Y

SN: 20006-20021

1шт.

21

144-60-18730

HOSE

SN: 20024-UP

1шт.

|21

07114-01206

HOSE

SN: 20006-20021

1шт.

22

07000-23038

O-RING

SN: 20006-UP

2шт.

23

07371-01250

FLANGE

SN: 20006-UP

4шт.

24

07372-01030

BOLT

SN: 20006-UP

8шт.

25

01602-01030

WASHER

SN: 20006-UP

8шт.

26

07042-00108

PLUG

SN: 20006-UP

1шт.

27

144-60-18480

CLAMP

SN: 20006-UP

1шт.

28

01010-31220

BOLT

SN: 20006-UP

2шт.

29

01602-01236

WASHER

SN: 20006-UP

2шт.

30

01010-31245

BOLT

SN: 20006-UP

4шт.

31

01602-01236

WASHER

SN: 20006-UP

4шт.

32

07000-02085

O-RING

SN: 20006-UP

1шт.

Выбрано товаров: 36