Запчасти Komatsu NH-220-CI-1D АНТИКОРРОЗ. ЭЛЕМЕНТ ОХЛАЖД-Е И ЭЛЕКТРИКАS

Схема запчастей Komatsu NH-220-CI-1D - АНТИКОРРОЗ. ЭЛЕМЕНТ ОХЛАЖД-Е И ЭЛЕКТРИКАS
FIT
1:1
100%

Артикул

Название

Примечание

Количество

|1

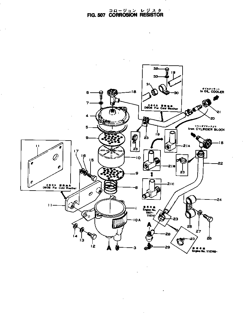
6610-61-8100

RESISTOR ASS'Y,CORROSION

SN: 18548-UP

1шт.

1

6610-61-8111

BODY

SN: 18548-UP

1шт.

3

6610-51-4520

PLUG,DRAIN

SN: 18548-UP

2шт.

4

6610-61-8121

COVER

SN: 18548-UP

1шт.

5

6610-61-8130

GASKET

SN: 18548-UP

1шт.

6

02010-20532

BOLT

SN: 18548-UP

2шт.

7

02300-11120

WASHER

SN: 18548-UP

2шт.

8

6610-61-8150

SPRING

SN: 18548-UP

1шт.

9

6610-61-8140

PLATE

SN: 18548-UP

2шт.

10

6610-61-8210

ELEMENT

SN: 18548-UP

1шт.

10A

09647-00125

PLATE¤ INSTRUCTION,(JAPANESE-ENGLISH)

SN: 35090-UP

1шт.

|10A

0

PLATE¤ INSTRUCTION,(JAPANESE-ENGLISH)

SN: 18548-35089

1шт.

11

6643-21-6110

BRACKET

SN: 18548-UP

1шт.

12

01010-31240

BOLT

SN: 18548-UP

2шт.

13

01602-01236

WASHER,SPRING

SN: 18548-UP

2шт.

14

01640-21223

WASHER

SN: 18548-UP

2шт.

15

02010-20832

BOLT

SN: 18548-UP

2шт.

16

02310-11632

WASHER,SPRING

SN: 18548-UP

2шт.

17

02300-11730

WASHER

SN: 18548-UP

2шт.

18

6610-61-8411

VALVE,SHUT-OFF

SN: 26818-UP

2шт.

|18

6610-61-8410

VALVE,SHUT-OFF

SN: 18548-26817

2шт.

19

6676-62-6560

HOSE,OUTLET

SN: 18548-UP

1шт.

21C

6631-61-8670

CONNECTOR

SN: 18548-UP

1шт.

22

6643-61-8510

HOSE,INLET

SN: 18548-UP

1шт.

23

07280-02523

CLAMP

SN: 18548-UP

4шт.

24

6643-61-8550

CLAMP

SN: 18548-UP

2шт.

25

6643-61-8560

FELT

SN: 18548-UP

2шт.

26

02010-20825

BOLT

SN: 18548-UP

1шт.

27

02310-11632

WASHER,SPRING

SN: 18548-UP

1шт.

|28

6610-61-8061

VALVE ASS'Y,DRAIN

SN: 26818-UP

1шт.

|28

6610-61-8060

VALVE ASS'Y,DRAIN

SN: 18548-26817

1шт.

28

6610-61-8622

ELBOW

SN: 26818-UP

1шт.

|28

6610-61-8621

ELBOW

SN: 18548-26817

1шт.

29

6600-01-3920

VALVE,DRAIN

SN: 18548-UP

1шт.

|1

6610-61-8100

RESISTOR ASS'Y,CORROSION

SN: 18548-UP

1шт.

1

6610-61-8111

BODY

SN: 18548-UP

1шт.

3

6610-51-4520

PLUG,DRAIN

SN: 18548-UP

2шт.

4

6610-61-8121

COVER

SN: 18548-UP

1шт.

5

6610-61-8130

GASKET

SN: 18548-UP

1шт.

6

02010-20532

BOLT

SN: 18548-UP

2шт.

7

02300-11120

WASHER

SN: 18548-UP

2шт.

8

6610-61-8150

SPRING

SN: 18548-UP

1шт.

9

6610-61-8140

PLATE

SN: 18548-UP

2шт.

10

6610-61-8210

ELEMENT

SN: 18548-UP

1шт.

10A

09647-00125

PLATE¤ INSTRUCTION,(JAPANESE-ENGLISH)

SN: 35090-UP

1шт.

|10A

0

PLATE¤ INSTRUCTION,(JAPANESE-ENGLISH)

SN: 18548-35089

1шт.

11

6643-21-6110

BRACKET

SN: 18548-UP

1шт.

12

01010-31240

BOLT

SN: 18548-UP

2шт.

13

01602-01236

WASHER,SPRING

SN: 18548-UP

2шт.

14

01640-21223

WASHER

SN: 18548-UP

2шт.

15

02010-20832

BOLT

SN: 18548-UP

2шт.

16

02310-11632

WASHER,SPRING

SN: 18548-UP

2шт.

17

02300-11730

WASHER

SN: 18548-UP

2шт.

18

6610-61-8411

VALVE,SHUT-OFF

SN: 26818-UP

2шт.

|18

6610-61-8410

VALVE,SHUT-OFF

SN: 18548-26817

2шт.

19

6676-62-6560

HOSE,OUTLET

SN: 18548-UP

1шт.

21C

6631-61-8670

CONNECTOR

SN: 18548-UP

1шт.

22

6643-61-8510

HOSE,INLET

SN: 18548-UP

1шт.

23

07280-02523

CLAMP

SN: 18548-UP

4шт.

24

6643-61-8550

CLAMP

SN: 18548-UP

2шт.

25

6643-61-8560

FELT

SN: 18548-UP

2шт.

26

02010-20825

BOLT

SN: 18548-UP

1шт.

27

02310-11632

WASHER,SPRING

SN: 18548-UP

1шт.

|28

6610-61-8061

VALVE ASS'Y,DRAIN

SN: 26818-UP

1шт.

|28

6610-61-8060

VALVE ASS'Y,DRAIN

SN: 18548-26817

1шт.

28

6610-61-8622

ELBOW

SN: 26818-UP

1шт.

|28

6610-61-8621

ELBOW

SN: 18548-26817

1шт.

29

6600-01-3920

VALVE,DRAIN

SN: 18548-UP

1шт.

Выбрано товаров: 0