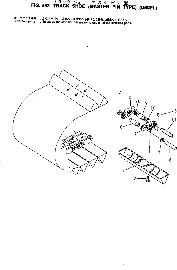
Запчасти Komatsu D60PL-8 ГУСЕНИЦЫ (СО СЦЕПНЫМ ПАЛЬЦЕМ) ГУСЕНИЦЫ

Схема запчастей Komatsu D60PL-8 - ГУСЕНИЦЫ (СО СЦЕПНЫМ ПАЛЬЦЕМ) ГУСЕНИЦЫ
FIT
1:1
100%

Артикул

Название

Примечание

Количество

|$$1

SWAMP 1200MM

-1шт.

|1

14F-32-01102

TRACK SHOE ASS'Y

SN: ..-UP

1шт.

|1

0

TRACK SHOE ASS'Y

SN: .-UP

1шт.

|1

0

TRACK SHOE ASS'Y

SN: 45001-UP

1шт.

1

144-870-1110

SHOE,TRACK

SN: 45001-UP

98шт.

2

14G-32-11211

BOLT (KIT)

SN: ..-UP

392шт.

|2

14G-32-11210

BOLT,SHOE (KIT)

SN: 45001-UP

392шт.

3

154-32-21331

NUT (KIT)

SN: ..-UP

392шт.

|3

154-32-21330

NUT,SHOE (KIT)

SN: 45001-UP

392шт.

|4

14F-32-00021

TRACK LINK ASS'Y

SN: .-UP

1шт.

|4

0

TRACK LINK ASS'Y

SN: 45001-UP

1шт.

4

144-32-11123

LINK,TRACK¤ L.H.

SN: 45001-UP

98шт.

5

144-32-11133

LINK,TRACK¤ R.H.

SN: 45001-UP

98шт.

6

144-820-7141

BUSHING,REGULAR

SN: 45001-UP

94шт.

7

144-32-11240

SEAL,DUST¤ REGULAR¤ W-TYPE

SN: 45001-UP

188шт.

8

207-32-11152

PIN,REGULAR

SN: .-UP

94шт.

|8

0

PIN¤ REGULAR

SN: 45001-UP

94шт.

9

144-820-7171

BUSHING,MASTER

SN: 45001-UP

4шт.

10

150-32-11260

SEAL,DUST¤ MASTER¤ E-TYPE

SN: 45001-UP

8шт.

11

207-32-11191

PIN,MASTER

SN: .-UP

4шт.

|11

0

PIN,MASTER

SN: 45001-UP

4шт.

|$$22

SERVICE KIT

-1шт.

|1

14G-32-05001

SHOE BOLT AND NUT K.

SN: ..-UP

1шт.

|1

0

SHOE BOLT AND NUT K.

SN: 45001-UP

1шт.

1

14G-32-11211

BOLT,SHOE

SN: ..-UP

30шт.

|1

14G-32-11210

BOLT,SHOE

SN: 45001-UP

30шт.

2

154-32-21331

NUT,SHOE

SN: ..-UP

30шт.

|2

154-32-21330

NUT,SHOE

SN: 45001-UP

30шт.

|$$29

OVERSIZE PARTS

-1шт.

|$$30

0.10MM OVERSIZE

-1шт.

6

144-98-09114

BUSHING,REGULAR

SN: 45001-UP

-2шт.

8

207-98-09011

PIN,REGULAR

SN: .-UP

-2шт.

|8

0

PIN,REGULAR

SN: 45001-UP

-2шт.

9

144-98-09144

BUSHING,MASTER

SN: 45001-UP

-2шт.

11

207-98-09041

PIN¤ MASTER

SN: .-UP

-2шт.

|11

0

PIN,MASTER

SN: 45001-UP

-2шт.

|$$37

0.18MM OVERSIZE

-1шт.

6

144-98-09134

BUSHING,REGULAR

SN: 45001-UP

-2шт.

8

207-98-09031

PIN,REGULAR

SN: .-UP

-2шт.

|8

0

PIN,REGULAR

SN: 45001-UP

-2шт.

9

144-98-09164

BUSHING,MASTER

SN: 45001-UP

-2шт.

11

207-98-09061

PIN,MASTER

SN: .-UP

-2шт.

|11

0

PIN,MASTER

SN: 45001-UP

-2шт.

Выбрано товаров: 43