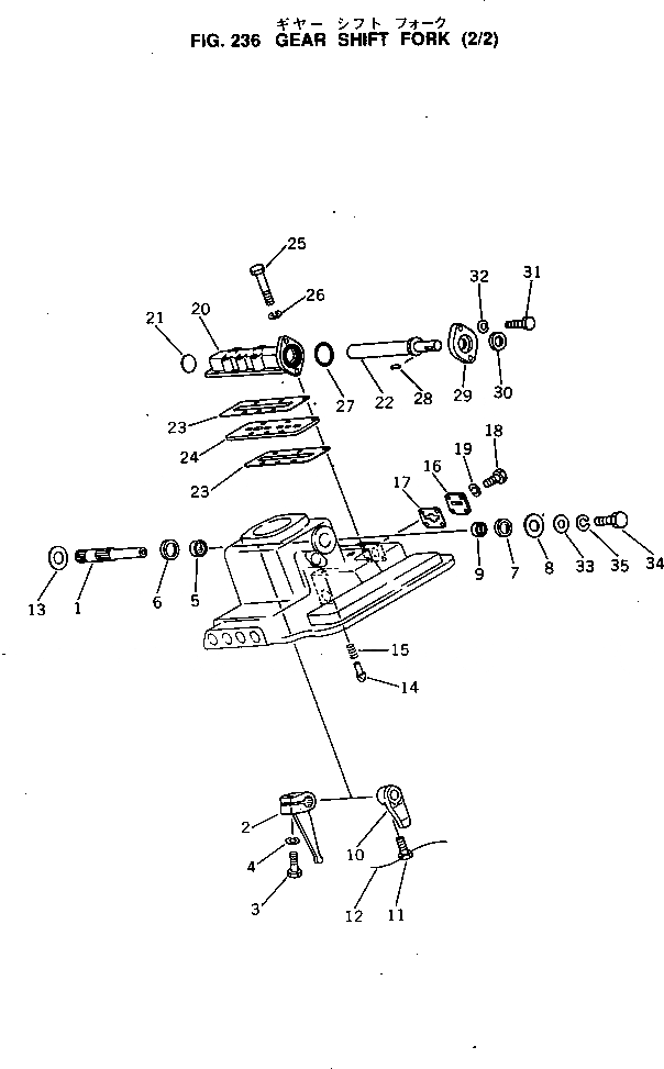
Запчасти Komatsu D60PL-8 ПЕРЕКЛЮЧ-Е ПЕРЕДАЧ ВИЛЫ (/) ОСНОВН. МУФТА И ТРАНСМИССИЯ

Схема запчастей Komatsu D60PL-8 - ПЕРЕКЛЮЧ-Е ПЕРЕДАЧ ВИЛЫ (/) ОСНОВН. МУФТА И ТРАНСМИССИЯ
FIT
1:1
100%

Артикул

Название

Примечание

Количество

|$0

144-14-00300

TRANSMISSION ASS'Y,(FOR D60P)

SN: 45001-UP

1шт.

|$1

14F-14-00300

TRANSMISSION ASS'Y,(FOR D60PL)

SN: 45001-UP

1шт.

|$$3

THESE ASSEMBLIES CONSIST OF ALL PARTS SHOWN IN FIGS.231 TO 237.

-1шт.

|$$4

SERIAL NO. 46079 INDICATES D60P-8. SERIAL NO. 45205 INDICATES D60PL-8.

-1шт.

1

144-14-12155

SHAFT

SN: 45001-UP

1шт.

2

141-14-32825

LEVER

SN: 45001-UP

1шт.

3

01010-81240

BOLT

SN: 45001-UP

1шт.

4

01602-21236

WASHER,SPRING

SN: 45001-UP

1шт.

5

06120-02520

BEARING

SN: 45001-UP

1шт.

6

07012-00025

SEAL,OIL (K2)

SN: 45001-UP

1шт.

7

07012-00022

SEAL,OIL (K2)

SN: 45001-UP

1шт.

8

141-14-32920

WASHER

SN: 45001-UP

1шт.

9

06120-02216

BEARING

SN: 45001-UP

1шт.

10

144-14-12141

LEVER

SN: 45001-UP

1шт.

11

131-14-43160

BOLT

SN: 45001-UP

1шт.

12

04059-01025

WIRE (K2)

SN: 45001-UP

1шт.

13

141-14-32860

WASHER

SN: 45001-UP

1шт.

14

144-14-12120

PLUNGER

SN: 45001-UP

1шт.

15

144-14-12130

SPRING

SN: 45001-UP

1шт.

16

141-14-32530

COVER

SN: 45001-UP

1шт.

17

141-14-32541

GASKET (K2)

SN: 46079-UP

1шт.

17

0

GASKET (K2)

SN: 45001-46078

1шт.

18

01050-80820

BOLT

SN: 45001-UP

4шт.

19

01602-20825

WASHER,SPRING

SN: 45001-UP

4шт.

20

141-14-32412

COVER

SN: 45001-UP

1шт.

21

07046-03520

PLUG

SN: 45001-UP

1шт.

22

141-14-32421

SHAFT

SN: 45001-UP

1шт.

23

141-14-32434

GASKET (K2)

SN: 46079-UP

2шт.

23

0

GASKET (K2)

SN: 45001-46078

2шт.

24

141-14-32471

PLATE

SN: 45001-UP

1шт.

25

01010-81070

BOLT

SN: 45001-UP

6шт.

26

01602-21030

WASHER,SPRING

SN: 45001-UP

6шт.

27

07000-03048

O-RING (K2)

SN: 45001-UP

1шт.

28

04010-00519

KEY

SN: 45001-UP

1шт.

29

141-14-32441

FLANGE

SN: 45001-UP

1шт.

30

07011-00020

SEAL (K2)

SN: 45001-UP

1шт.

31

01010-81035

BOLT

SN: 45001-UP

2шт.

32

01602-21030

WASHER,SPRING

SN: 45001-UP

2шт.

33

141-14-32850

WASHER

SN: 45001-UP

1шт.

34

01010-80816

BOLT

SN: 45001-UP

1шт.

35

01602-20825

WASHER,SPRING

SN: 45001-UP

1шт.

Выбрано товаров: 41