Запчасти Komatsu D60PL-8 ГУСЕНИЧНАЯ РАМА ГУСЕНИЦЫ

Схема запчастей Komatsu D60PL-8 - ГУСЕНИЧНАЯ РАМА ГУСЕНИЦЫ
FIT
1:1
100%

Артикул

Название

Примечание

Количество

|$0

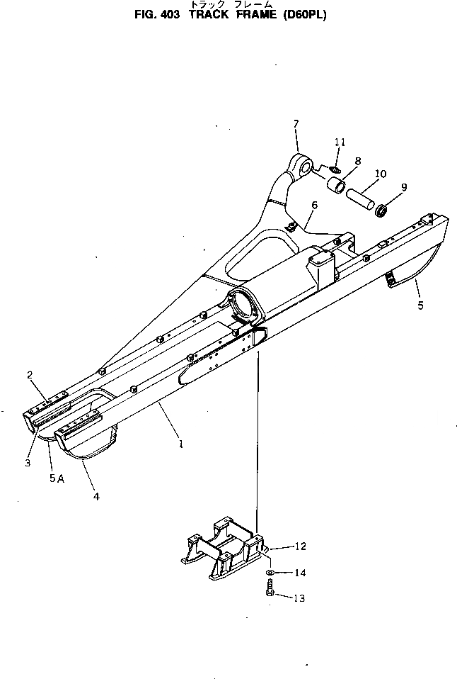
14F-30-00010

TRACK FRAME ASS'Y,L.H.

SN: 45001-UP

1шт.

|$1

14F-30-00020

TRACK FRAME ASS'Y,R.H.

SN: 45001-UP

1шт.

|$2

14F-30-11110

FRAME ASS'Y,L.H.

SN: 45001-UP

1шт.

|$3

14F-30-11120

FRAME ASS'Y,R.H.

SN: 45001-UP

1шт.

1

14F-30-11130

FRAME,L.H.

SN: 45001-UP

1шт.

1

14F-30-11140

FRAME,R.H.

SN: 45001-UP

1шт.

2

141-30-11190

PLATE

SN: 45001-UP

2шт.

3

141-30-31262

PLATE

SN: 45001-UP

2шт.

4

144-871-5361

GUARD,OUTER, FRONT, L.H.

SN: 45001-UP

1шт.

4

144-871-5351

GUARD,OUTER, FRONT, R.H.

SN: 45001-UP

1шт.

5

144-871-5351

GUARD,OUTER, REAR, L.H.

SN: 45001-UP

1шт.

5

144-871-5361

GUARD,OUTER, REAR, R.H.

SN: 45001-UP

1шт.

5A

144-871-5351

GUARD,INNER, L.H.

SN: 45001-UP

1шт.

5A

144-871-5361

GUARD,INNER, R.H.

SN: 45001-UP

1шт.

6

124-78-18730

PLATE,L.H.

SN: 45001-UP

1шт.

|$15

145-30-00150

BEARING ASS'Y

SN: 45001-UP

1шт.

7

145-30-31241

HEAD

SN: 45001-UP

1шт.

8

145-30-31250

BUSHING

SN: 45001-UP

1шт.

9

145-30-31320

SEAL

SN: 45001-UP

2шт.

10

141-30-31350

PIN

SN: 45001-UP

1шт.

11

07020-00000

FITTING,GREASE

SN: 45001-UP

1шт.

12

14F-30-11240

GUARD

SN: 45001-UP

2шт.

13

01010-51845

BOLT

SN: 45001-UP

8шт.

14

01643-31845

WASHER

SN: 45001-UP

8шт.

Выбрано товаров: 24