Запчасти Komatsu D60PL-8 ГИДРАВЛ УПРАВЛЯЮЩ. КЛАПАН (/) УПРАВЛ-Е РАБОЧИМ ОБОРУДОВАНИЕМ

Схема запчастей Komatsu D60PL-8 - ГИДРАВЛ УПРАВЛЯЮЩ. КЛАПАН (/) УПРАВЛ-Е РАБОЧИМ ОБОРУДОВАНИЕМ
FIT
1:1
100%

Артикул

Название

Примечание

Количество

|$0

144-Z20-6101

HYDRAULIC TANK ASS'Y,(FOR D60P)

SN: 45054-UP

1шт.

|$1

0

HYDRAULIC TANK ASS'Y,(FOR D60P)

SN: 45001-45053

1шт.

|$2

144-Z20-6101

HYDRAULIC TANK ASS'Y,(FOR D60PL)

SN: 45001-UP

1шт.

|$$4

THESE ASSEMBLIES CONSIST OF ALL PARTS SHOWN IN FIGS.613 TO 624.

-1шт.

|$4

701-33-12005

VALVE ASS'Y

SN: 45001-UP

1шт.

|$5

701-33-32004

BODY ASS'Y

SN: 45001-UP

1шт.

|$6

701-33-00011

BODY SUB ASS'Y

SN: 45001-UP

1шт.

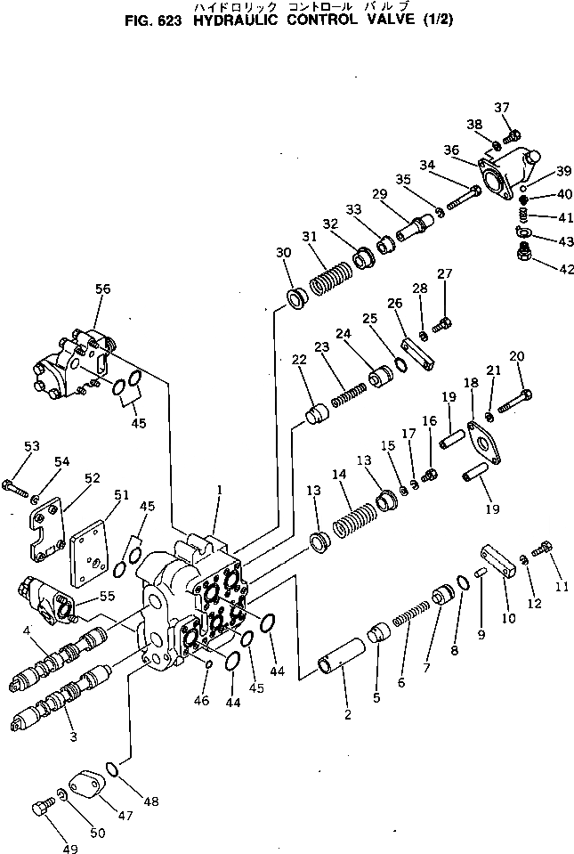
1

0

BODY

SN: 45001-UP

1шт.

2

0

COLLAR

SN: 45001-UP

1шт.

3

0

SPOOL

SN: 45001-UP

1шт.

4

0

SPOOL

SN: 45001-UP

1шт.

5

701-33-32130

VALVE,CHECK

SN: 45001-UP

1шт.

6

701-33-32140

SPRING

SN: 45001-UP

1шт.

7

701-33-32152

SEAT

SN: 45001-UP

1шт.

8

07000-13025

O-RING (K16)

SN: 45001-UP

1шт.

9

04020-00514

PIN

SN: 45001-UP

1шт.

10

701-33-32160

PLATE

SN: 45001-UP

1шт.

11

01010-31240

BOLT

SN: 45001-UP

2шт.

12

01602-01236

WASHER,SPRING

SN: 45001-UP

2шт.

13

701-33-31370

RETAINER

SN: 45001-UP

2шт.

14

701-31-31130

SPRING

SN: 45001-UP

1шт.

15

701-33-31210

WASHER

SN: 45001-UP

1шт.

16

01010-31220

BOLT

SN: 45001-UP

1шт.

17

01602-01236

WASHER,SPRING

SN: 45001-UP

1шт.

18

701-33-46340

PLATE

SN: 45001-UP

1шт.

19

701-33-31460

COLLAR

SN: 45001-UP

2шт.

20

01010-31095

BOLT

SN: 45001-UP

2шт.

21

01602-01030

WASHER,SPRING

SN: 45001-UP

2шт.

22

701-33-31120

VALVE,CHECK

SN: 45001-UP

1шт.

23

701-33-31130

SPRING

SN: 45001-UP

1шт.

24

701-33-31150

SEAT

SN: 45001-UP

1шт.

25

07000-13035

O-RING (K16)

SN: 45001-UP

1шт.

26

701-33-31160

PLATE

SN: 45001-UP

1шт.

27

01010-31235

BOLT

SN: 45001-UP

2шт.

28

01602-01236

WASHER,SPRING

SN: 45001-UP

2шт.

29

701-31-31121

DETENT

SN: 45001-UP

1шт.

30

701-33-31380

RETAINER

SN: 45001-UP

1шт.

31

701-31-31130

SPRING

SN: 45001-UP

1шт.

32

701-33-31390

RETAINER

SN: 45001-UP

1шт.

33

701-33-31281

COLLAR

SN: 45001-UP

1шт.

34

701-33-31292

BOLT

SN: 45001-UP

1шт.

35

01602-01236

WASHER,SPRING

SN: 45001-UP

1шт.

36

701-33-31311

CASE

SN: 45001-UP

1шт.

37

01010-31030

BOLT

SN: 45001-UP

2шт.

38

01602-01030

WASHER,SPRING

SN: 45001-UP

2шт.

39

701-33-31320

BALL

SN: 45001-UP

3шт.

40

701-33-31330

GUIDE

SN: 45001-UP

3шт.

41

701-33-31340

SPRING

SN: 45001-UP

3шт.

42

701-31-31150

PLUG

SN: 45001-UP

3шт.

43

01650-11816

WASHER

SN: 45001-UP

3шт.

44

07000-13045

O-RING (K16)

SN: 45001-UP

3шт.

45

07000-13035

O-RING (K16)

SN: 45001-UP

6шт.

46

07000-12015

O-RING (K16)

SN: 45001-UP

23шт.

47

701-33-31360

PLATE

SN: 45001-UP

1шт.

48

07000-13040

O-RING (K16)

SN: 45001-UP

1шт.

49

01010-31440

BOLT

SN: 45001-UP

2шт.

50

01602-01442

WASHER,SPRING

SN: 45001-UP

2шт.

51

701-33-32191

PLATE

SN: 45001-UP

1шт.

52

701-33-32240

BAFFLE

SN: 45001-UP

1шт.

53

01010-31260

BOLT

SN: 45001-UP

4шт.

54

01602-01236

WASHER,SPRING

SN: 45001-UP

4шт.

55

701-30-51002

VALVE ASS'Y,MAIN RELIEF

SN: 45001-UP

1шт.

56

701-30-62001

VALVE ASS'Y,SUCTION

SN: 45001-UP

1шт.

Выбрано товаров: 63