Запчасти Komatsu D60PL-8 ЦИЛИНДР ПОДЪЕМА ОТВАЛА(№9-) УПРАВЛ-Е РАБОЧИМ ОБОРУДОВАНИЕМ

Схема запчастей Komatsu D60PL-8 - ЦИЛИНДР ПОДЪЕМА ОТВАЛА(№9-) УПРАВЛ-Е РАБОЧИМ ОБОРУДОВАНИЕМ
FIT
1:1
100%

Артикул

Название

Примечание

Количество

G1

0

CYLINDER GROUP,LIFT, L.H.

SN: 45196-UP

1шт.

G1

0

CYLINDER GROUP,LIFT, R.H.

SN: 45196-UP

1шт.

|$$3

====================

-1шт.

|$3

14F-63-03010

CYLINDER ASS'Y,LIFT, L.H.

SN: 45196-UP

1шт.

|$4

14F-63-03020

CYLINDER ASS'Y,LIFT, R.H.

SN: 45196-UP

1шт.

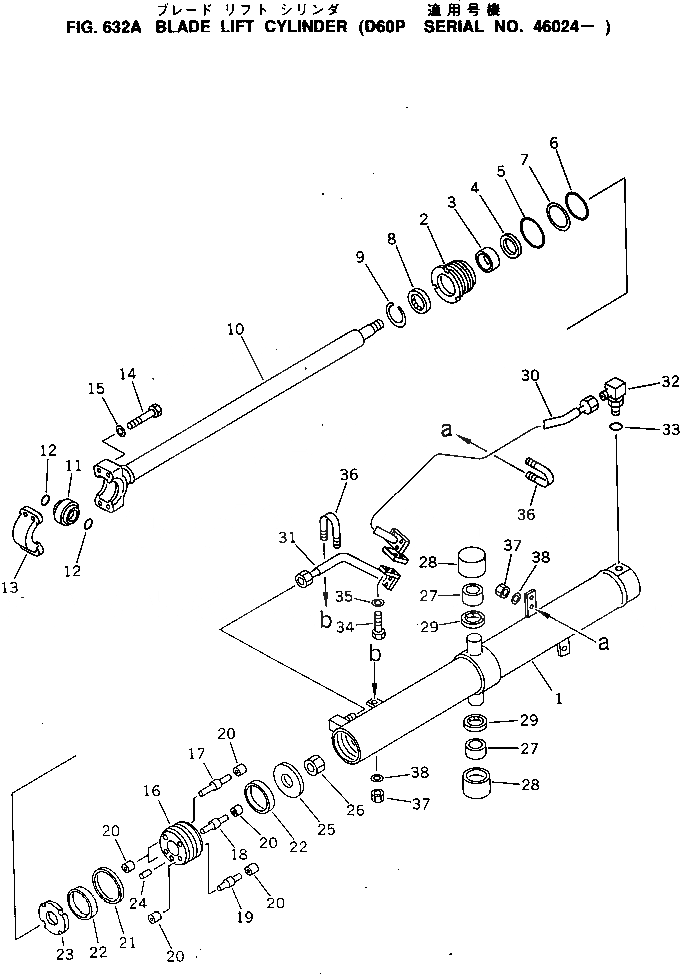
1

14F-63-12142

CYLINDER,L.H.

SN: 45196-UP

1шт.

1

14F-63-12242

CYLINDER,R.H.

SN: 45196-UP

1шт.

2

707-29-11950

HEAD,CYLINDER

SN: 45196-UP

1шт.

3

07177-06530

BUSHING

SN: 45196-UP

1шт.

4

707-51-65210

PACKING,ROD (K18)

SN: 45196-UP

1шт.

5

07000-02110

O-RING (K18)

SN: 45196-UP

1шт.

6

07000-12105

O-RING (K18)

SN: 45001-UP

1шт.

7

707-35-91100

RING,BACK-UP (K18)

SN: 45196-UP

1шт.

8

144-63-92170

SEAL,DUST (K18)

SN: 45196-UP

1шт.

9

07179-12079

RING,SNAP

SN: 45196-UP

1шт.

10

14F-63-12120

ROD,PISTON

SN: 45196-UP

1шт.

11

07137-04006

BUSHING

SN: 45001-UP

1шт.

11

07137-00040

SEAL,DUST

SN: 45001-UP

2шт.

12

07000-03040

O-RING (K18)

SN: 45001-UP

2шт.

13

144-63-13370

CAP

SN: 45196-UP

1шт.

14

01010-82085

BOLT

SN: 45196-UP

4шт.

15

01643-32060

WASHER

SN: 45196-UP

4шт.

|$22

14F-63-12230

PISTON SUB ASS'Y

SN: 45196-UP

1шт.

16

0

PISTON

SN: 45196-UP

1шт.

17

0

VALVE, 62MM

SN: 45196-UP

1шт.

18

0

VALVE, 59MM

SN: 45196-UP

2шт.

19

0

VALVE, 56MM

SN: 45196-UP

1шт.

20

0

SEAT,VALVE

SN: 45196-UP

8шт.

21

707-44-11180

RING,PISTON (K18)

SN: 45196-UP

1шт.

22

707-39-11110

RING,WEAR (K18)

SN: 45196-UP

2шт.

23

707-40-11050

RETAINER

SN: 45196-UP

1шт.

24

04020-00616

PIN,DOWEL

SN: 45196-UP

1шт.

25

707-40-11060

RETAINER

SN: 45196-UP

1шт.

26

07165-13638

NUT

SN: 45196-UP

1шт.

27

144-60-15450

BUSHING

SN: 45001-UP

2шт.

28

144-60-15431

BUSHING

SN: 45001-UP

2шт.

29

07145-00055

SEAL,DUST (K18)

SN: 45001-UP

2шт.

30

14F-63-12181

TUBE,L.H.

SN: 45196-UP

1шт.

30

14F-63-12281

TUBE,R.H.

SN: 45196-UP

1шт.

31

14F-63-12171

TUBE,L.H.

SN: 45196-UP

1шт.

31

14F-63-12271

TUBE,R.H.

SN: 45196-UP

1шт.

32

07235-10628

ELBOW

SN: 45196-UP

1шт.

33

07002-12434

O-RING (K18)

SN: 45196-UP

1шт.

34

01010-51040

BOLT

SN: 45196-UP

2шт.

35

01643-31032

WASHER

SN: 45196-UP

2шт.

36

07283-22738

CLIP

SN: 45196-UP

2шт.

37

01599-01011

NUT

SN: 45196-UP

4шт.

38

01643-31032

WASHER

SN: 45196-UP

4шт.

|$$49

====================

-1шт.

Выбрано товаров: 49