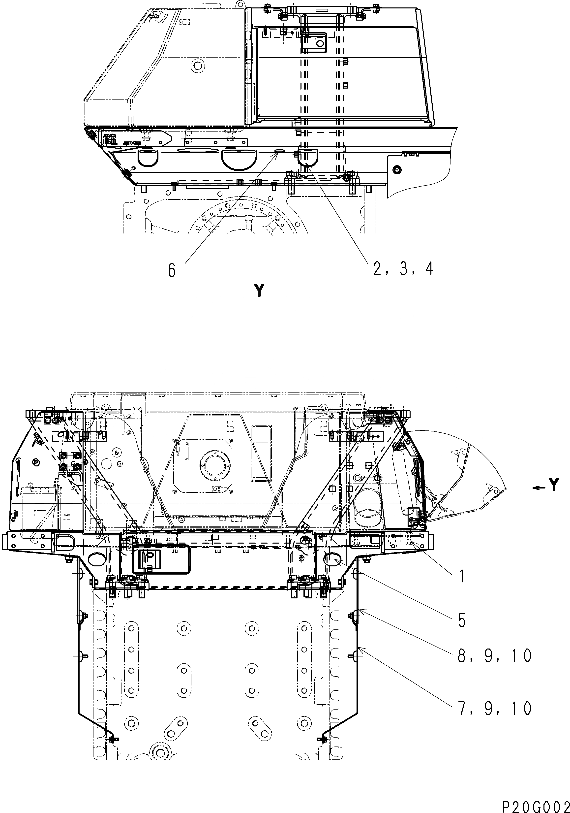
Запчасти Komatsu D61E-12 КРЫЛО (ПРАВ.) (ДЛЯ СНГ)(№8-) ЧАСТИ КОРПУСА

Схема запчастей Komatsu D61E-12 - КРЫЛО (ПРАВ.) (ДЛЯ СНГ)(№8-) ЧАСТИ КОРПУСА
FIT
1:1
100%

Артикул

Название

Примечание

Количество

1

134-977-1610

FENDER

SN: 1168-UP

1шт.

2

134-54-63281

COVER

SN: 1168-UP

1шт.

3

01010-81225

BOLT

SN: 1168-UP

1шт.

4

01643-31232

WASHER

SN: 1168-UP

1шт.

5

09415-05022

CAP

SN: 1168-UP

1шт.

6

09415-02512

CAP

SN: 1168-UP

1шт.

7

134-54-63231

COVER

SN: 1168-UP

1шт.

8

134-54-63840

COVER

SN: 1168-UP

1шт.

9

01010-81225

BOLT

SN: 1168-UP

13шт.

10

01643-31232

WASHER

SN: 1168-UP

13шт.

Выбрано товаров: 10