Запчасти Komatsu D61E-12 КАБИНА (ДВЕРЬ ФИКСАТОР ОТКРЫТИЯ) КАБИНА ОПЕРАТОРА И СИСТЕМА УПРАВЛЕНИЯ

Схема запчастей Komatsu D61E-12 - КАБИНА (ДВЕРЬ ФИКСАТОР ОТКРЫТИЯ) КАБИНА ОПЕРАТОРА И СИСТЕМА УПРАВЛЕНИЯ
FIT
1:1
100%

Артикул

Название

Примечание

Количество

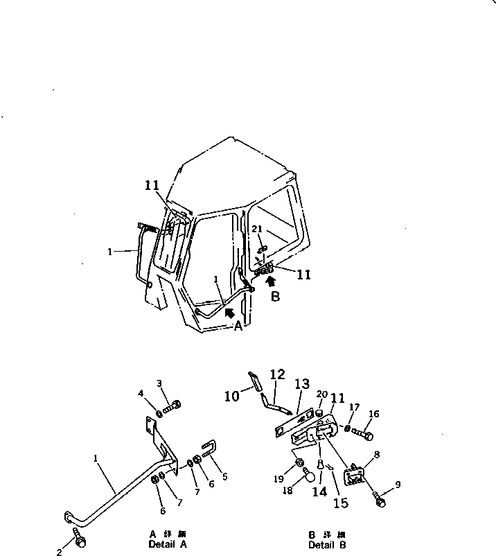
1

14X-911-1812

SUPPORT,L.H.

SN: 1001-UP

1шт.

1

14X-911-1822

SUPPORT,R.H.

SN: 1001-UP

1шт.

2

20Y-54-14360

BOLT

SN: 1001-UP

4шт.

3

01010-81225

BOLT

SN: 1001-UP

4шт.

4

01643-31232

WASHER

SN: 1001-UP

4шт.

5

14X-911-1921

STRIKER

SN: 1001-UP

2шт.

6

01580-11008

NUT

SN: 1001-UP

8шт.

7

01643-31032

WASHER

SN: 1001-UP

8шт.

8

14X-911-1832

LATCH

SN: 1001-UP

2шт.

9

01435-30820

BOLT

SN: 1001-UP

8шт.

10

14X-911-1540

KNOB

SN: 1001-UP

2шт.

|$16

14X-911-1510

BRACKET ASS'Y,L.H.

SN: 1001-UP

1шт.

|$17

14X-911-1520

BRACKET ASS'Y,R.H.

SN: 1001-UP

1шт.

11

14X-911-1911

BRACKET

SN: 1001-UP

1шт.

12

14X-911-1610

LEVER,L.H.

SN: 1001-UP

1шт.

12

14X-911-1620

LEVER,R.H.

SN: 1001-UP

1шт.

13

14X-911-1990

SEAT

SN: 1001-UP

1шт.

14

04205-10614

PIN

SN: 1001-UP

1шт.

15

04050-11612

PIN

SN: 1001-UP

1шт.

16

01010-81025

BOLT

SN: 1001-UP

4шт.

17

01643-31032

WASHER

SN: 1001-UP

4шт.

18

09453-00002

STOPPER

SN: 1001-UP

2шт.

19

01580-11210

NUT

SN: 1001-UP

2шт.

20

09415-01610

CAP

SN: 1001-UP

2шт.

21

14X-911-1932

SEAL

SN: 1001-UP

2шт.

Выбрано товаров: 25