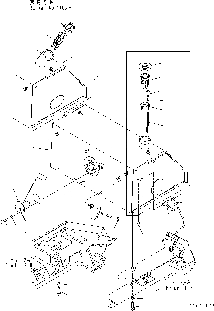
Запчасти Komatsu D61EX-12 ТОПЛИВН. БАК. ТОПЛИВН. БАК. AND КОМПОНЕНТЫ

Схема запчастей Komatsu D61EX-12 - ТОПЛИВН. БАК. ТОПЛИВН. БАК. AND КОМПОНЕНТЫ
1
1
2
2
3
3
4
4
5
6
7
8
9
10
11
12
13
14
15
16
17
18
19
20
20
21
21
FIT
1:1
100%

Артикул

Название

Примечание

Количество

1

134-04-61113

TANK,FUEL

SN: 1166-UP

1шт.

1

134-04-61112

TANK,FUEL

SN: 1001-1165

1шт.

1

134-04-61122

SEAL,L.H. (PERMANENT GRAY)

SN: 1088-UP

1шт.

1

134-04-61121

SEAL,L.H. (ROCK GRAY)

SN: 1001-1087

1шт.

1

134-04-61132

SEAL,R.H. (PERMANENT GRAY)

SN: 1088-UP

1шт.

1

134-04-61131

SEAL,R.H. (ROCK GRAY)

SN: 1001-1087

1шт.

2

134-04-61180

CAP

SN: 1001-UP

1шт.

3

11Y-04-11330

STRAINER

SN: 1170-UP

1шт.

3

22U-04-21231

STRAINER

SN: 1166-1169

1шт.

3

205-04-71141

STRAINER

SN: 1001-1165

1шт.

4

07700-40240

VALVE

SN: 1001-UP

2шт.

5

120-04-41130

NIPPLE

SN: 1001-UP

1шт.

6

14X-04-11260

ELBOW

SN: 1001-UP

1шт.

7

07042-70211

PLUG

SN: 1001-UP

1шт.

|$20

20Y-04-21550

FLOAT ASS'Y

SN: 1001-1165

1шт.

8

0

GUIDE

SN: 1001-1165

1шт.

9

20Y-04-21570

FLOAT

SN: 1001-1165

1шт.

10

20Y-04-21580

CAP

SN: 1001-1165

1шт.

11

0

SCREW

SN: 1001-1165

1шт.

12

07325-10200

NIPPLE

SN: 1001-UP

1шт.

13

07042-70617

PLUG

SN: 1001-UP

1шт.

14

07285-00115

CLIP

SN: 1001-UP

1шт.

15

07270-01035

TUBE

SN: 1001-UP

1шт.

16

7861-92-4940

SENSOR,FUEL

SN: 1001-UP

1шт.

17

07000-02085

O-RING

SN: 1001-UP

1шт.

18

01010-81020

BOLT

SN: 1001-UP

4шт.

19

01643-31032

WASHER

SN: 1001-UP

4шт.

20

01010-81660

BOLT

SN: 1001-UP

4шт.

21

01643-31645

WASHER

SN: 1001-UP

4шт.

Выбрано товаров: 29