Запчасти Komatsu D61EX-23 СИДЕНЬЕ ОПЕРАТОРА, КРЕПЛЕНИЕ (№-) СИДЕНЬЕ ОПЕРАТОРА, ВОЗД. С ВОЗД. ПОДВЕСКОЙ, ТКАНЬ, НАКЛОН., С ОБОГРЕВ-ЛЕМ

Схема запчастей Komatsu D61EX-23 - СИДЕНЬЕ ОПЕРАТОРА, КРЕПЛЕНИЕ (№-) СИДЕНЬЕ ОПЕРАТОРА, ВОЗД. С ВОЗД. ПОДВЕСКОЙ, ТКАНЬ, НАКЛОН., С ОБОГРЕВ-ЛЕМ
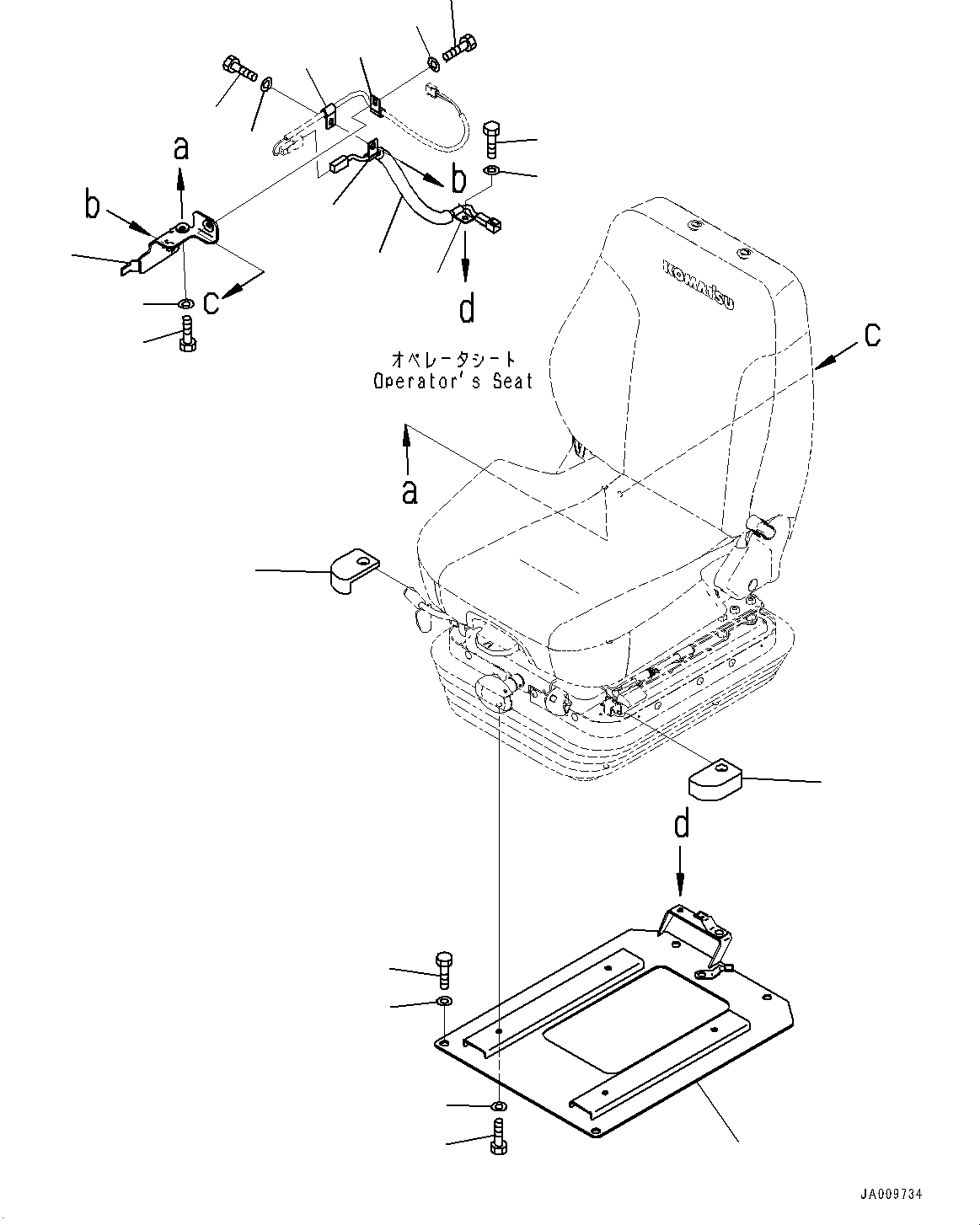
6
7
3
4
5
1
2
8
9
10
11
12
13
14
15
16
17
18
8
13
12
FIT
1:1
100%

Артикул

Название

Примечание

Количество

1

01010-D0820

Bolt

SN: 30001-UP

4шт.

2

01643-70823

Washer

SN: 30001-UP

4шт.

3

17A-57-51240

Cushion

SN: 30001-UP

1шт.

4

17A-57-51250

Cushion

SN: 30001-UP

1шт.

5

12Y-57-21211

Bracket

SN: 30001-UP

1шт.

6

01010-D1230

Bolt

SN: 30001-UP

4шт.

7

01643-71232

Washer

SN: 30001-UP

4шт.

8

04434-50808

Clip

SN: 30001-UP

2шт.

9

01010-D0820

Bolt

SN: 30001-UP

1шт.

10

01643-70823

Washer

SN: 30001-UP

1шт.

11

12Y-57-21240

Plate

SN: 30001-UP

1шт.

12

01010-D0820

Bolt

SN: 30001-UP

2шт.

13

01643-70823

Washer

SN: 30001-UP

2шт.

14

17A-57-51171

Cable

SN: 30001-UP

1шт.

15

04434-50608

Clip

SN: 30001-UP

1шт.

16

04434-50608

Clip

SN: 30001-UP

1шт.

17

01010-D0820

Bolt

SN: 30001-UP

1шт.

18

01643-70823

Washer

SN: 30001-UP

1шт.

Выбрано товаров: 18