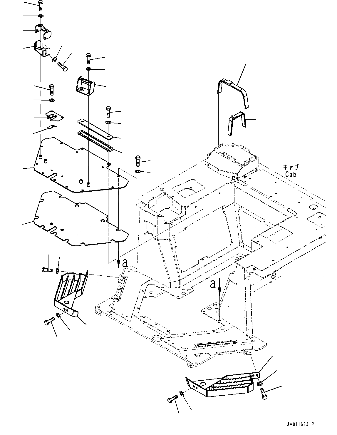
Запчасти Komatsu D61EXI-23 КАБИНА ЭЛЕКТР. БЛОК, КОРПУС И КРЫШКА(/) (№-) КАБИНА ЭЛЕКТР. БЛОК, С РАДИО ПРИЕМН., UHF

Схема запчастей Komatsu D61EXI-23 - КАБИНА ЭЛЕКТР. БЛОК, КОРПУС И КРЫШКА(/) (№-) КАБИНА ЭЛЕКТР. БЛОК, С РАДИО ПРИЕМН., UHF
3
2
1
8
8
24
23
22
21
20
19
18
17
16
15
14
13
12
11
10
7
6
7
6
5
9
3
4
4
3
3
4
4
FIT
1:1
100%

Артикул

Название

Примечание

Количество

1

12Y-54-29110

Bracket

SN: 30001-UP

1шт.

2

12Y-54-29120

Bracket

SN: 30001-UP

1шт.

3

01010-D1225

Bolt

SN: 30001-UP

8шт.

4

01643-71232

Washer

SN: 30001-UP

8шт.

5

12Y-43-21310

Plate

SN: 30001-UP

1шт.

6

01010-D1020

Bolt

SN: 30001-UP

4шт.

7

01643-71032

Washer

SN: 30001-UP

4шт.

8

423-54-42790

Band

SN: 30001-UP

2шт.

9

12Y-43-21321

Plate

SN: 30001-UP

1шт.

10

12Y-43-21330

Bracket

SN: 30001-UP

1шт.

11

01010-D1020

Bolt

SN: 30001-UP

2шт.

12

01643-71032

Washer

SN: 30001-UP

2шт.

13

12Y-54-26721

Cover

SN: 30001-UP

1шт.

14

12Y-54-26731

Sheet

SN: 30001-UP

1шт.

15

01010-81230

Bolt

SN: 30001-UP

11шт.

16

01643-31232

Washer

SN: 30001-UP

11шт.

17

17A-54-25560

Cover

SN: 30001-UP

1шт.

18

17A-54-25570

Sheet

SN: 30001-UP

1шт.

19

01010-81230

Bolt

SN: 30001-UP

2шт.

20

01643-31232

Washer

SN: 30001-UP

2шт.

21

12Y-06-28340

Cover

SN: 30001-UP

1шт.

22

12Y-06-28330

Sheet

SN: 30001-UP

1шт.

23

01010-80820

Bolt

SN: 30001-UP

2шт.

24

01643-30823

Washer

SN: 30001-UP

2шт.

Выбрано товаров: 24