Запчасти Komatsu D61PX-12A-W КОНДИЦ. ВОЗДУХА (КОМПРЕССОР КРЕПЛЕНИЕ) КАБИНА ОПЕРАТОРА И СИСТЕМА УПРАВЛЕНИЯ

Схема запчастей Komatsu D61PX-12A-W - КОНДИЦ. ВОЗДУХА (КОМПРЕССОР КРЕПЛЕНИЕ) КАБИНА ОПЕРАТОРА И СИСТЕМА УПРАВЛЕНИЯ
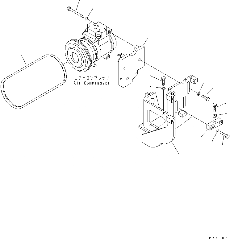
1
2
3
4
5
6
7
8
9
10
11
12
13
14
FIT
1:1
100%

Артикул

Название

Примечание

Количество

1

134-X11-1112

BRACKET

SN: B3001-UP

1шт.

2

01010-81030

BOLT

SN: B3001-UP

4шт.

3

01643-31032

WASHER

SN: B3001-UP

4шт.

4

124-911-1314

BRACKET

SN: B3001-UP

1шт.

5

01010-80890

BOLT

SN: B3001-UP

3шт.

6

01643-30823

WASHER

SN: B3001-UP

3шт.

7

01010-81225

BOLT

SN: B3001-UP

2шт.

8

01643-31232

WASHER

SN: B3001-UP

2шт.

9

14X-911-8331

BLOCK

SN: B3001-UP

1шт.

10

01010-81255

BOLT

SN: B3001-UP

2шт.

11

01643-31232

WASHER

SN: B3001-UP

2шт.

12

01016-51090

BOLT

SN: B3001-UP

1шт.

13

01580-11008

NUT

SN: B3001-UP

1шт.

14

04120-43128

V-BELT

SN: B3001-UP

1шт.

Выбрано товаров: 14