Запчасти Komatsu D61PX-15 МАСЛ. ЩУП ДВИГАТЕЛЬ]

Схема запчастей Komatsu D61PX-15 - МАСЛ. ЩУП ДВИГАТЕЛЬ]
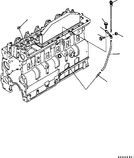
6
2
5
1
7
4
8
3
FIT
1:1
100%

Артикул

Название

Примечание

Количество

1

6742-01-5320

TUBE

SN: 30481088-UP

1шт.

2

6732-41-6210

NUT

SN: 30481088-UP

1шт.

3

6732-21-5530

PLUG

SN: 30481088-UP

1шт.

4

1294830H1

PLATE

SN: 30481088-UP

1шт.

5

6742-01-5330

TUBE

SN: 30481088-UP

1шт.

6

6743-22-5210

GAUGE, OIL LEVEL

SN: 30506437-UP

1шт.

|6

6742-21-5610

GAUGE, OIL LEVEL

SN: 30481088-30506436

1шт.

7

6736-21-5310

BOLT

SN: 30481088-UP

1шт.

8

6732-61-3110

BOLT

SN: 30481088-UP

1шт.

Выбрано товаров: 9