Запчасти Komatsu D61PX-15 ОМЫВАТЕЛЬ СТЕКЛА БАК K [КАБИНА ОПЕРАТОРА И СИСТЕМА УПРАВЛЕНИЯ]

Схема запчастей Komatsu D61PX-15 - ОМЫВАТЕЛЬ СТЕКЛА БАК K [КАБИНА ОПЕРАТОРА И СИСТЕМА УПРАВЛЕНИЯ]
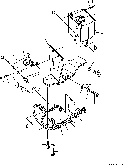
3
4
2
5
2
1
16
15
1
4
3
8
10
9
8
10
9
6
8
7
12
14
13
11
FIT
1:1
100%

Артикул

Название

Примечание

Количество

1

14X-911-1161

TANK

SN: B40001-UP

2шт.

2

421-07-21570

CAP

SN: B40001-UP

2шт.

3

01010-80616

BOLT

SN: B40001-UP

4шт.

4

01643-30623

WASHER

SN: B40001-UP

4шт.

5

134-X11-2142

BRACKET

SN: B40001-UP

1шт.

6

134-X11-1290

WIRING HARNESS

SN: B40001-UP

1шт.

7

04434-51010

CLIP

SN: B40001-UP

1шт.

8

04434-51410

CLIP

SN: B40001-UP

3шт.

9

01010-81020

BOLT

SN: B40001-UP

4шт.

10

01643-31032

WASHER

SN: B40001-UP

4шт.

11

134-X11-1280

HOSE ASSEMBLY

SN: B40001-UP

1шт.

12

08053-00912

CLIP

SN: B40001-UP

1шт.

13

01010-81220

BOLT

SN: B40001-UP

1шт.

14

01643-31232

WASHER

SN: B40001-UP

1шт.

15

01010-81225

BOLT

SN: B40001-UP

2шт.

16

01643-31232

WASHER

SN: B40001-UP

2шт.

Выбрано товаров: 16