Запчасти Komatsu D61PX-15 КАПОТ (ДОПОЛН.) (ЕС БЕСШУМН. СПЕЦИФ-Я) M [ЧАСТИ КОРПУСА]

Схема запчастей Komatsu D61PX-15 - КАПОТ (ДОПОЛН.) (ЕС БЕСШУМН. СПЕЦИФ-Я) M [ЧАСТИ КОРПУСА]
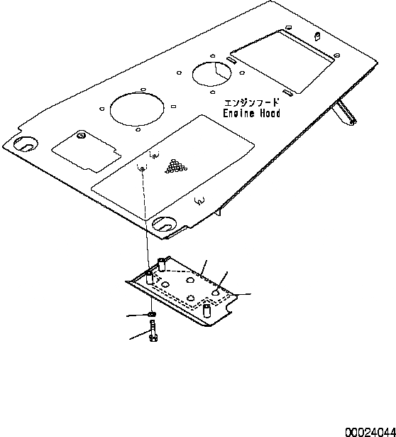
1
3
2
5
4
FIT
1:1
100%

Артикул

Название

Примечание

Количество

|1

134-B62-5320

COVER

SN: B40692-UP

1шт.

1

134-B62-5121

COVER

SN: B40692-UP

1шт.

2

134-B62-5391

ABSORBER

SN: B40692-UP

3шт.

3

124-A62-1920

CAP

SN: B40692-UP

3шт.

4

01010-81065

BOLT

SN: B40692-UP

4шт.

5

01643-31032

WASHER

SN: B40692-UP

1шт.

Выбрано товаров: 6