Запчасти Komatsu D61PX-15E0-BW ПОДЛОКОТНИК КРЫШКА(ПОКРЫТИЕ ПОЛА) (ДЛЯ КАБИНЫ) КАБИНА ОПЕРАТОРА И СИСТЕМА УПРАВЛЕНИЯ

Схема запчастей Komatsu D61PX-15E0-BW - ПОДЛОКОТНИК КРЫШКА(ПОКРЫТИЕ ПОЛА) (ДЛЯ КАБИНЫ) КАБИНА ОПЕРАТОРА И СИСТЕМА УПРАВЛЕНИЯ
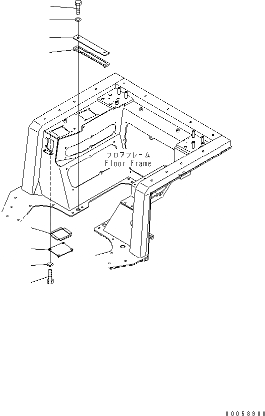
1
2
3
4
5
6
7
8
FIT
1:1
100%

Артикул

Название

Примечание

Количество

1

17A-54-25560

COVER

SN: B45001-UP

1шт.

2

17A-54-25570

SHEET

SN: B45001-UP

1шт.

3

01010-81230

BOLT

SN: B45001-UP

2шт.

4

01643-31232

WASHER

SN: B45001-UP

2шт.

5

14X-43-34140

COVER

SN: B45001-UP

1шт.

6

14X-54-16270

SEAL

SN: B45001-UP

1шт.

7

01010-80825

BOLT

SN: B45001-UP

4шт.

8

01643-30823

WASHER

SN: B45001-UP

4шт.

Выбрано товаров: 8