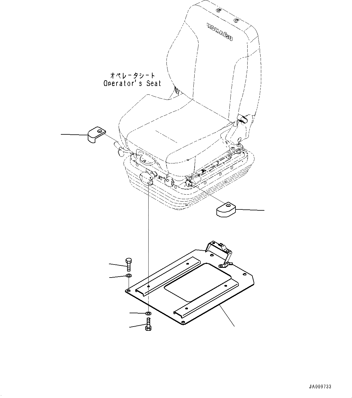
Запчасти Komatsu D61PX-23 СИДЕНЬЕ ОПЕРАТОРА, КРЕПЛЕНИЕ (№-) СИДЕНЬЕ ОПЕРАТОРА, МЕХАНИЧ. С ВОЗД. ПОДВЕСКОЙ, LEATHER, НАКЛОН.

Схема запчастей Komatsu D61PX-23 - СИДЕНЬЕ ОПЕРАТОРА, КРЕПЛЕНИЕ (№-) СИДЕНЬЕ ОПЕРАТОРА, МЕХАНИЧ. С ВОЗД. ПОДВЕСКОЙ, LEATHER, НАКЛОН.
6
7
3
4
5
1
2
FIT
1:1
100%

Артикул

Название

Примечание

Количество

1

01010-D0820

Bolt

SN: 30001-UP

4шт.

2

01643-70823

Washer

SN: 30001-UP

4шт.

3

17A-57-51240

Cushion

SN: 30001-UP

1шт.

4

17A-57-51250

Cushion

SN: 30001-UP

1шт.

5

12Y-57-21211

Bracket

SN: 30001-UP

1шт.

6

01010-D1230

Bolt

SN: 30001-UP

4шт.

7

01643-71232

Washer

SN: 30001-UP

4шт.

Выбрано товаров: 0