Запчасти Komatsu D65A-11 ЭЛЕКТРИКА (/) КОМПОНЕНТЫ ДВИГАТЕЛЯ И ЭЛЕКТРИКА

Схема запчастей Komatsu D65A-11 - ЭЛЕКТРИКА (/) КОМПОНЕНТЫ ДВИГАТЕЛЯ И ЭЛЕКТРИКА
FIT
1:1
100%

Артикул

Название

Примечание

Количество

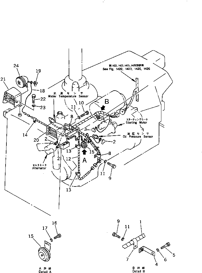
1

144-06-52340

WIRE

SN: 50001-UP

1шт.

2

08038-02027

CAP

SN: 50001-UP

3шт.

3

08038-00519

CAP

SN: 50001-UP

1шт.

4

144-06-52170

BRACKET

SN: 50001-UP

1шт.

5

01010-51050

BOLT

SN: 50001-UP

1шт.

6

01602-21030

WASHER,SPRING

SN: 50001-UP

1шт.

7

08035-01510

CLIP

SN: 50001-UP

1шт.

8

198-61-14180

CLIP

SN: 50001-UP

3шт.

9

01010-51016

BOLT

SN: 50001-UP

1шт.

10

01010-51020

BOLT

SN: 50001-UP

1шт.

11

01602-21030

WASHER,SPRING

SN: 50001-UP

2шт.

12

144-06-52350

WIRE

SN: 50001-UP

1шт.

13

113-04-22180

CLIP

SN: 50001-UP

3шт.

14

08036-11210

CLIP

SN: 50001-UP

2шт.

15

08160-52400

HORN

SN: 50001-UP

1шт.

16

01010-50816

BOLT

SN: 50001-UP

2шт.

17

01602-20825

WASHER,SPRING

SN: 50001-UP

2шт.

18

144-06-14620

WIRE

SN: 50001-UP

2шт.

19

08038-00519

CAP

SN: 50001-UP

2шт.

20

120-06-33291

BRACKET,L.H.

SN: 50001-UP

1шт.

21

120-06-33281

BRACKET,R.H.

SN: 50001-UP

1шт.

22

01010-51225

BOLT

SN: 50001-UP

6шт.

23

01602-21236

WASHER,SPRING

SN: 50001-UP

6шт.

24

08128-22400

LAMP ASS'Y

SN: 50001-UP

2шт.

|24

08113-02480

BULB¤ 80W

SN: 50001-UP

1шт.

|24

08128-00003

HOLDER

SN: 50001-UP

1шт.

Выбрано товаров: 0