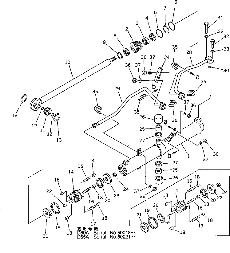
Запчасти Komatsu D65A-11 ЦИЛИНДР ПОДЪЕМА ОТВАЛА УПРАВЛ-Е РАБОЧИМ ОБОРУДОВАНИЕМ

Схема запчастей Komatsu D65A-11 - ЦИЛИНДР ПОДЪЕМА ОТВАЛА УПРАВЛ-Е РАБОЧИМ ОБОРУДОВАНИЕМ
FIT
1:1
100%

Артикул

Название

Примечание

Количество

G-1

0

CYLINDER GROUP,LIFT¤ L.H.

SN: 50039-UP

1шт.

G-1

0

CYLINDER GROUP,LIFT¤ L.H.

SN: 50021-50038

1шт.

G-1

0

CYLINDER GROUP,LIFT¤ L.H.

SN: 50001-50020

1шт.

G-1

0

CYLINDER GROUP,LIFT¤ R.H.

SN: 50039-UP

1шт.

G-1

0

CYLINDER GROUP,LIFT¤ R.H.

SN: 50021-50038

1шт.

G-1

0

CYLINDER GROUP,LIFT¤ R.H.

SN: 50001-50020

1шт.

|$$7

====================

-1шт.

|1

144-63-02012

CYLINDER ASS'Y,LIFT¤ L.H.

SN: 50039-UP

1шт.

|1

144-63-02011

CYLINDER ASS'Y,LIFT¤ L.H.

SN: 50021-50038

1шт.

|1

0

CYLINDER ASS'Y,LIFT¤ L.H.

SN: 50001-50020

1шт.

|1

144-63-02022

CYLINDER ASS'Y,LIFT¤ R.H.

SN: 50039-UP

1шт.

|1

144-63-02021

CYLINDER ASS'Y,LIFT¤ R.H.

SN: 50021-50038

1шт.

|1

0

CYLINDER ASS'Y,LIFT¤ R.H.

SN: 50001-50020

1шт.

1

144-63-12740

CYLINDER,L.H.

SN: 50001-UP

1шт.

|1

144-63-12840

CYLINDER,R.H.

SN: 50001-UP

1шт.

2

707-29-11950

HEAD,CYLINDER

SN: 50001-UP

1шт.

3

07177-06530

BUSHING

SN: 50001-UP

1шт.

4

707-51-65210

PACKING,ROD (K1)

SN: 50001-UP

1шт.

5

07000-02110

O-RING (K1)

SN: 50001-UP

1шт.

6

07000-12105

O-RING (K1)

SN: 50001-UP

1шт.

7

707-35-91100

RING,BACK-UP (K1)

SN: 50001-UP

1шт.

8

144-63-92170

SEAL,DUST (K1)

SN: 50001-UP

1шт.

9

07179-12079

RING,SNAP

SN: 50001-UP

1шт.

10

144-63-12720

ROD,PISTON

SN: 50001-UP

1шт.

11

07137-04006

BUSHING

SN: 50001-UP

1шт.

|11

07137-00040

SEAL,DUST

SN: 50001-UP

2шт.

12

07000-03040

O-RING (K1)

SN: 50001-UP

2шт.

13

04065-09030

RING

SN: 50001-UP

2шт.

|14

14F-63-12230

PISTON SUB ASS'Y

SN: 50039-UP

1шт.

|14

14F-63-12131

PISTON SUB ASS'Y

SN: 50021-50038

1шт.

|14

14F-63-12130

PISTON SUB ASS'Y

SN: 50001-50020

1шт.

14

0

PISTON

SN: 50039-UP

1шт.

|14

0

PISTON

SN: 50021-50038

1шт.

|14

0

PISTON

SN: 50001-50020

1шт.

15

0

VALVE¤ 62MM

SN: 50001-UP

1шт.

16

0

VALVE¤ 59MM

SN: 50001-UP

2шт.

17

0

VALVE¤ 56MM

SN: 50001-UP

1шт.

18

0

SEAT,VALVE

SN: 50001-UP

8шт.

19

707-44-11180

RING,PISTON (K1)

SN: 50039-UP

1шт.

|19

07161-10110

RING,PISTON

SN: 50001-50038

1шт.

20

707-39-11110

RING,WEAR (K1)

SN: 50021-UP

2шт.

|20

07155-01125

RING,WEAR

SN: 50001-50020

1шт.

21

707-40-11050

RETAINER

SN: 50001-UP

1шт.

22

130-63-12761

PIN,DOWEL

SN: 50001-UP

1шт.

23

707-40-11060

RETAINER

SN: 50001-UP

1шт.

24

07165-13638

NUT

SN: 50001-UP

1шт.

25

144-60-15450

BUSHING

SN: 50001-UP

2шт.

26

144-60-15431

BUSHING

SN: 50001-UP

2шт.

27

07145-00055

SEAL,DUST (K1)

SN: 50001-UP

2шт.

28

144-63-12780

TUBE,L.H.

SN: 50001-UP

1шт.

|28

144-63-12880

TUBE,R.H.

SN: 50001-UP

1шт.

29

144-63-12770

TUBE,L.H.

SN: 50001-UP

1шт.

|29

144-63-12870

TUBE,R.H.

SN: 50001-UP

1шт.

30

07000-13030

O-RING (K1)

SN: 50001-UP

1шт.

31

01010-50850

BOLT

SN: 50001-UP

2шт.

32

01010-50835

BOLT

SN: 50001-UP

2шт.

33

01643-30823

WASHER

SN: 50001-UP

4шт.

34

707-88-89380

PLATE

SN: 50001-UP

1шт.

35

07283-22738

CLIP

SN: 50001-UP

5шт.

36

01599-01011

NUT

SN: 50001-UP

10шт.

37

01643-31032

WASHER

SN: 50001-UP

10шт.

|$$62

====================

-1шт.

Выбрано товаров: 62