Запчасти Komatsu D65A-11 ТРАНСМИССИЯ (УПРАВЛЯЮЩ. КЛАПАН /) (8/) ОСНОВН. МУФТА¤ ГТР CONVERTOR¤ T/M¤ РУЛЕВ. УПРАВЛЕНИЕ И КОНЕЧНАЯ ПЕРЕДАЧА

Схема запчастей Komatsu D65A-11 - ТРАНСМИССИЯ (УПРАВЛЯЮЩ. КЛАПАН /) (8/) ОСНОВН. МУФТА¤ ГТР CONVERTOR¤ T/M¤ РУЛЕВ. УПРАВЛЕНИЕ И КОНЕЧНАЯ ПЕРЕДАЧА
FIT
1:1
100%

Артикул

Название

Примечание

Количество

|1

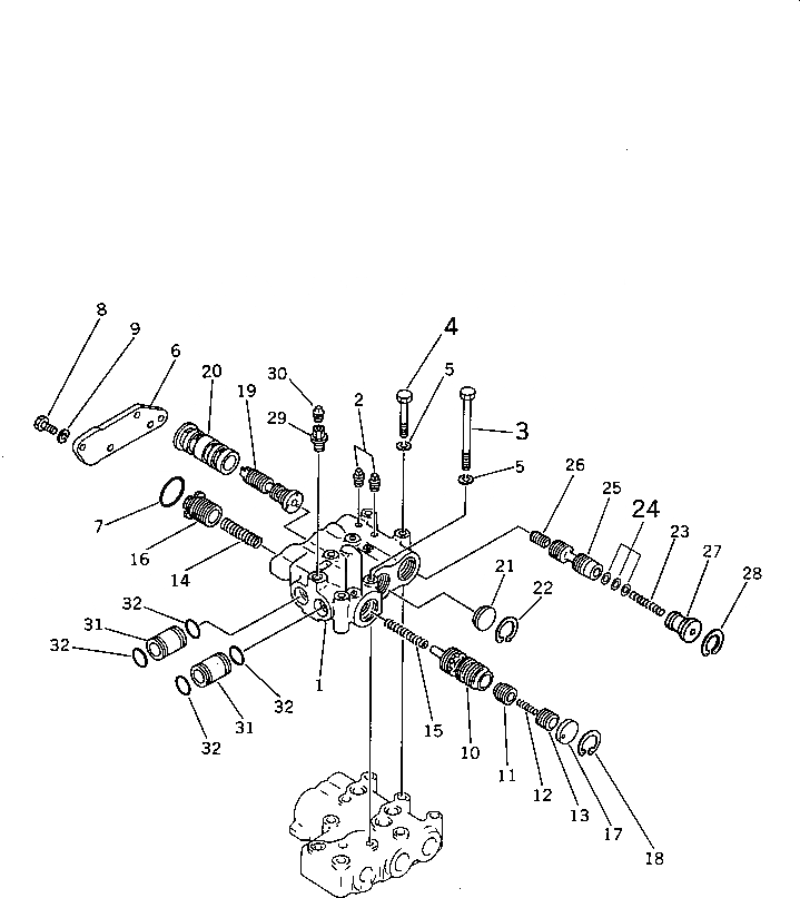
144-15-00121

TRANSMISSION ASS'Y

SN: 50501-UP

1шт.

|1

0

TRANSMISSION ASS'Y

SN: 50049-50500

1шт.

|1

0

TRANSMISSION ASS'Y

SN: 50001-50048

1шт.

|$$4

THESE ASSEMBLIES CONSIST OF ALL PARTS SHOWN IN FIGS.2501 TO 2511.

-1шт.

|1

15B-15-00130

VALVE ASS'Y

SN: 50049-UP

1шт.

|1

144-15-00044

VALVE ASS'Y

SN: 50001-50048

1шт.

|1

145-15-00210

BODY ASS'Y

SN: 50001-UP

1шт.

1

0

BODY

SN: 50001-UP

1шт.

2

07042-20108

PLUG

SN: 50001-UP

2шт.

3

01011-51060

BOLT

SN: 50049-UP

3шт.

|3

0

BOLT

SN: 50001-50048

3шт.

4

01011-51035

BOLT

SN: 50049-UP

3шт.

|4

0

BOLT

SN: 50001-50048

3шт.

5

01602-01030

WASHER,SPRING

SN: 50001-UP

6шт.

6

145-15-45810

COVER

SN: 50001-UP

1шт.

7

07000-73045

O-RING (K4)

SN: 50001-UP

1шт.

8

01010-51025

BOLT

SN: 50001-UP

4шт.

9

01602-21030

WASHER,SPRING

SN: 50001-UP

4шт.

10

145-15-45220

VALVE,MODULATE

SN: 50001-UP

1шт.

11

145-15-45390

VALVE

SN: 50001-UP

1шт.

12

180-14-25560

SPRING

SN: 50001-UP

1шт.

13

287-15-15390

VALVE

SN: 50001-UP

1шт.

14

145-15-45310

SPRING

SN: 50001-UP

1шт.

15

145-15-45320

SPRING

SN: 50001-UP

1шт.

16

145-15-45230

VALVE

SN: 50001-UP

1шт.

17

145-15-45240

STOPPER

SN: 50001-UP

1шт.

18

04065-03815

RING,SNAP

SN: 50001-UP

1шт.

19

145-15-45260

VALVE,QUICK RETURN

SN: 50001-UP

1шт.

20

145-15-45150

SLEEVE

SN: 50001-UP

1шт.

21

145-15-45420

STOPPER

SN: 50001-UP

1шт.

22

04065-03815

RING,SNAP

SN: 50001-UP

1шт.

23

145-15-45510

SPRING

SN: 50001-UP

1шт.

24

424-15-16420

SHIM¤ 0.5MM

SN: 50049-UP

3шт.

25

145-15-45380

VALVE,REDUCING

SN: 50001-UP

1шт.

26

145-14-23720

PISTON

SN: 50001-UP

1шт.

27

145-15-45520

RETAINER

SN: 50001-UP

1шт.

28

04065-03815

RING,SNAP

SN: 50001-UP

1шт.

|29

145-15-00220

PLUG ASS'Y

SN: 50001-UP

1шт.

29

0

PLUG

SN: 50001-UP

1шт.

30

07042-20108

PLUG

SN: 50001-UP

1шт.

31

145-15-45250

SLEEVE

SN: 50001-UP

2шт.

32

07000-73028

O-RING (K4)

SN: 50001-UP

4шт.

Выбрано товаров: 42