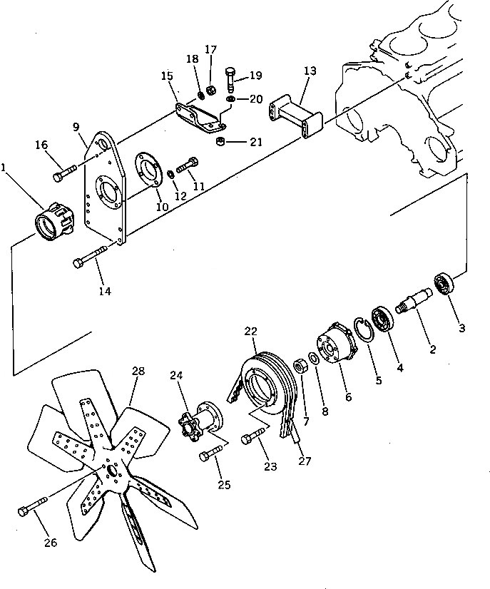
Запчасти Komatsu 6D125-1YY ВЕНТИЛЯТОР ОХЛАЖДЕНИЯ И КРЕПЛЕНИЕ СИСТЕМА ОХЛАЖДЕНИЯ

Схема запчастей Komatsu 6D125-1YY - ВЕНТИЛЯТОР ОХЛАЖДЕНИЯ И КРЕПЛЕНИЕ СИСТЕМА ОХЛАЖДЕНИЯ
FIT
1:1
100%

Артикул

Название

Примечание

Количество

|1

6151-61-3101

CASE ASS'Y

SN: 26319-UP

1шт.

1

6151-61-3152

CASE

SN: 26319-UP

1шт.

2

6151-61-3170

SHAFT

SN: 26319-UP

1шт.

3

06037-06206

BEARING,BALL

SN: 26319-UP

1шт.

4

06037-06307

BEARING,BALL

SN: 26319-UP

1шт.

5

04065-08025

RING,SNAP

SN: 26319-UP

1шт.

6

6151-61-3110

HUB

SN: 26319-UP

1шт.

7

01583-02414

NUT

SN: 26319-UP

1шт.

8

01643-32460

WASHER

SN: 26319-UP

1шт.

9

6151-61-3460

PLATE

SN: 26319-UP

1шт.

10

6151-61-3970

COVER

SN: 26319-UP

1шт.

11

01010-51030

BOLT

SN: 26319-UP

4шт.

12

01641-21016

WASHER

SN: 26319-UP

4шт.

13

6150-61-3540

SPACER

SN: 26319-UP

1шт.

14

01011-51015

BOLT

SN: 26319-UP

4шт.

15

6151-61-3591

BRACKET

SN: 26319-UP

1шт.

16

01010-51040

BOLT

SN: 26319-UP

2шт.

17

01580-11008

NUT

SN: 26319-UP

2шт.

18

01643-31032

WASHER

SN: 26319-UP

2шт.

19

01010-51095

BOLT

SN: 26319-UP

2шт.

20

01643-31032

WASHER

SN: 28629-UP

2шт.

|20

0

WASHER

SN: 26319-28628

2шт.

21

6131-12-5920

SPACER

SN: 26319-UP

2шт.

22

6151-61-3240

PULLEY¤NON HARDENING

SN: 26319-UP

1шт.

23

01010-51030

BOLT

SN: 26319-UP

6шт.

24

6151-61-3730

SPACER

SN: 26319-UP

1шт.

25

01010-51030

BOLT

SN: 26319-UP

6шт.

26

01010-51030

BOLT

SN: 26319-UP

6шт.

27

04121-22274

V-BELT SET

SN: 26319-UP

1шт.

G-1

0

FAN GROUP

SN: 26319-UP

1шт.

|$$31

====================

-1шт.

28

600-633-0800

FAN,COOLING

SN: 26319-UP

1шт.

|$$33

====================

-1шт.

|1

6151-61-3101

CASE ASS'Y

SN: 26319-UP

1шт.

1

6151-61-3152

CASE

SN: 26319-UP

1шт.

2

6151-61-3170

SHAFT

SN: 26319-UP

1шт.

3

06037-06206

BEARING,BALL

SN: 26319-UP

1шт.

4

06037-06307

BEARING,BALL

SN: 26319-UP

1шт.

5

04065-08025

RING,SNAP

SN: 26319-UP

1шт.

6

6151-61-3110

HUB

SN: 26319-UP

1шт.

7

01583-02414

NUT

SN: 26319-UP

1шт.

8

01643-32460

WASHER

SN: 26319-UP

1шт.

9

6151-61-3460

PLATE

SN: 26319-UP

1шт.

10

6151-61-3970

COVER

SN: 26319-UP

1шт.

11

01010-51030

BOLT

SN: 26319-UP

4шт.

12

01641-21016

WASHER

SN: 26319-UP

4шт.

13

6150-61-3540

SPACER

SN: 26319-UP

1шт.

14

01011-51015

BOLT

SN: 26319-UP

4шт.

15

6151-61-3591

BRACKET

SN: 26319-UP

1шт.

16

01010-51040

BOLT

SN: 26319-UP

2шт.

17

01580-11008

NUT

SN: 26319-UP

2шт.

18

01643-31032

WASHER

SN: 26319-UP

2шт.

19

01010-51095

BOLT

SN: 26319-UP

2шт.

20

01643-31032

WASHER

SN: 28629-UP

2шт.

|20

0

WASHER

SN: 26319-28628

2шт.

21

6131-12-5920

SPACER

SN: 26319-UP

2шт.

22

6151-61-3240

PULLEY¤NON HARDENING

SN: 26319-UP

1шт.

23

01010-51030

BOLT

SN: 26319-UP

6шт.

24

6151-61-3730

SPACER

SN: 26319-UP

1шт.

25

01010-51030

BOLT

SN: 26319-UP

6шт.

26

01010-51030

BOLT

SN: 26319-UP

6шт.

27

04121-22274

V-BELT SET

SN: 26319-UP

1шт.

G-1

0

FAN GROUP

SN: 26319-UP

1шт.

|$$31

====================

-1шт.

28

600-633-0800

FAN,COOLING

SN: 26319-UP

1шт.

|$$33

====================

-1шт.

Выбрано товаров: 66