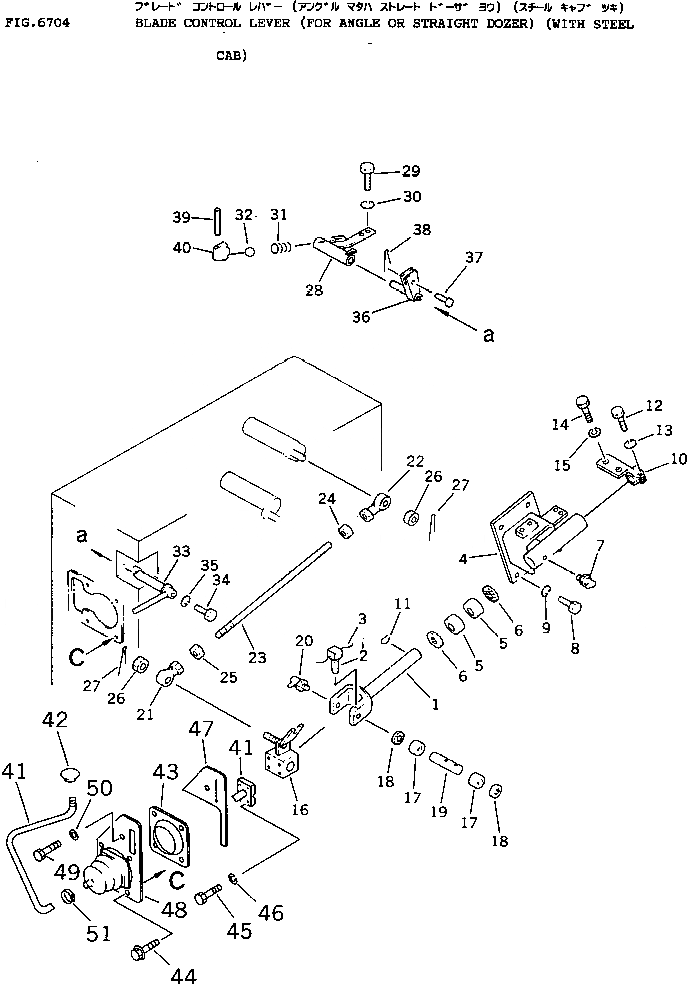
Запчасти Komatsu D65A-11D РЫЧАГ УПРАВЛЕНИЯ ОТВАЛОМ (ДЛЯ ANGLE ИЛИ ПРЯМ. DOZER) (С STEELКАБИНА) УПРАВЛ-Е РАБОЧИМ ОБОРУДОВАНИЕМ

Схема запчастей Komatsu D65A-11D - РЫЧАГ УПРАВЛЕНИЯ ОТВАЛОМ (ДЛЯ ANGLE ИЛИ ПРЯМ. DOZER) (С STEEL  КАБИНА) УПРАВЛ-Е РАБОЧИМ ОБОРУДОВАНИЕМ
FIT
1:1
100%

Артикул

Название

Примечание

Количество

1

144-43-16630

SHAFT

SN: 50075-UP

1шт.

2

01306-00616

SCREW

SN: 50075-UP

1шт.

3

04059-01012

WIRE,LOCK

SN: 50075-UP

1шт.

4

144-43-16621

BRACKET

SN: 50075-UP

1шт.

5

06120-02016

BEARING

SN: 50075-UP

2шт.

6

06122-02004

SEAL,BEARING

SN: 50075-UP

2шт.

7

07020-00900

FITTING,GREASE

SN: 50075-UP

1шт.

8

01010-51230

BOLT

SN: 50075-UP

4шт.

9

01602-21236

WASHER,SPRING

SN: 50075-UP

4шт.

10

144-43-16670

BRACKET

SN: 50075-UP

1шт.

11

04010-00519

KEY

SN: 50075-UP

1шт.

12

01010-50830

BOLT

SN: 50075-UP

1шт.

13

01602-20825

WASHER

SN: 50075-UP

1шт.

14

01010-51020

BOLT

SN: 50075-UP

2шт.

15

01602-21030

WASHER,SPRING

SN: 50075-UP

2шт.

16

14F-43-81120

LEVER

SN: 50075-UP

1шт.

17

06120-01612

BEARING

SN: 50075-UP

2шт.

18

06122-01603

SEAL,BEARING

SN: 50075-UP

2шт.

19

135-43-11171

SHAFT

SN: 50075-UP

1шт.

20

07020-00900

FITTING,GREASE

SN: 50075-UP

1шт.

21

04250-41056

END

SN: 50075-UP

1шт.

22

04250-61056

END,L.H. THREAD

SN: 50075-UP

1шт.

23

04248-31032

ROD

SN: 50075-UP

1шт.

24

01582-11008

NUT

SN: 50075-UP

1шт.

25

01508-41006

NUT,L.H. THREAD

SN: 50075-UP

1шт.

26

01593-11008

NUT

SN: 50075-UP

2шт.

27

04050-12018

PIN,COTTER

SN: 50075-UP

2шт.

28

144-43-16650

BRACKET

SN: 50075-UP

1шт.

29

01010-51025

BOLT

SN: 50075-UP

2шт.

30

01602-21030

WASHER,SPRING

SN: 50075-UP

2шт.

31

131-60-42160

SPRING

SN: 50075-UP

1шт.

32

04260-01270

BALL

SN: 50075-UP

1шт.

33

120-43-37261

LEVER

SN: 50075-UP

1шт.

34

01010-50655

BOLT

SN: 50075-UP

1шт.

35

01602-20619

WASHER,SPRING

SN: 50075-UP

1шт.

36

144-43-16660

SHAFT

SN: 50075-UP

1шт.

37

04205-10822

PIN

SN: 50075-UP

1шт.

38

04050-12012

PIN,COTTER

SN: 50075-UP

1шт.

39

04025-00432

PIN,SPRING

SN: 50075-UP

1шт.

40

125-43-34521

NOTCH

SN: 50075-UP

1шт.

41

144-43-81510

LEVER

SN: 50075-UP

1шт.

|41

144-43-81550

LEVER,(FOR TOWING WINCH) (D60A)

SN: 50075-UP

1шт.

42

09304-01250

KNOB

SN: 50075-UP

1шт.

43

144-43-81650

COVER

SN: 50075-UP

1шт.

44

01439-00820

BOLT

SN: 50075-UP

4шт.

45

07372-21030

BOLT

SN: 50075-UP

3шт.

46

01602-21030

WASHER,SPRING

SN: 50075-UP

3шт.

47

144-Y11-3911

SHEET

SN: 50075-UP

1шт.

48

144-Y11-3930

BELLOWS

SN: 50075-UP

1шт.

49

01010-50825

BOLT

SN: 50075-UP

1шт.

50

01643-30823

WASHER

SN: 50075-UP

1шт.

51

07281-00197

CLAMP

SN: 50075-UP

1шт.

Выбрано товаров: 52