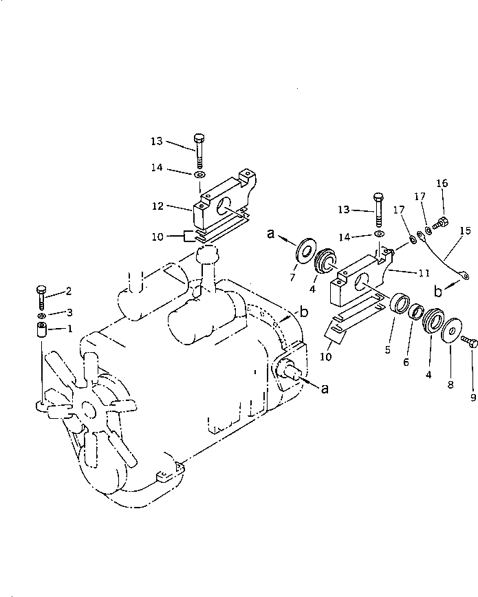
Запчасти Komatsu D65A-11D КРЕПЛЕНИЕ ДВИГАТЕЛЯ(№-) КОМПОНЕНТЫ ДВИГАТЕЛЯ И ЭЛЕКТРИКА

Схема запчастей Komatsu D65A-11D - КРЕПЛЕНИЕ ДВИГАТЕЛЯ(№-) КОМПОНЕНТЫ ДВИГАТЕЛЯ И ЭЛЕКТРИКА
FIT
1:1
100%

Артикул

Название

Примечание

Количество

1

144-919-1850

SEAT

SN: 50050-UP

4шт.

2

01011-51810

BOLT

SN: 50050-UP

4шт.

3

01643-31845

WASHER

SN: 50050-UP

4шт.

4

154-01-21310

CUSHION

SN: 50050-UP

4шт.

5

154-01-21320

CUSHION

SN: 50050-UP

2шт.

6

154-01-21330

CUSHION

SN: 50050-UP

2шт.

7

154-01-21340

SPACER

SN: 50050-UP

2шт.

8

154-01-21350

PLATE

SN: 50050-UP

2шт.

9

01010-51835

BOLT

SN: 50050-UP

2шт.

10

144-01-05010

SHIM ASS'Y

SN: 50050-UP

2шт.

|10

0

SHIM¤ 0.2MM

SN: 50050-UP

10шт.

|10

0

SHIM¤ 1.0MM

SN: 50050-UP

2шт.

11

144-01-51341

CAP,L.H.

SN: 50050-UP

1шт.

12

144-01-51351

CAP,R.H.

SN: 50050-UP

1шт.

13

01011-52090

BOLT

SN: 50050-UP

4шт.

14

01643-32060

WASHER

SN: 50050-UP

4шт.

15

08028-46040

CABLE

SN: 50050-UP

1шт.

16

01010-51220

BOLT

SN: 50050-UP

1шт.

17

01643-31232

WASHER

SN: 50050-UP

2шт.

Выбрано товаров: 19