Запчасти Komatsu D65A-11D КРЫЛО И ЗАДН. РАМА(№-) ЧАСТИ КОРПУСА

Схема запчастей Komatsu D65A-11D - КРЫЛО И ЗАДН. РАМА(№-) ЧАСТИ КОРПУСА
FIT
1:1
100%

Артикул

Название

Примечание

Количество

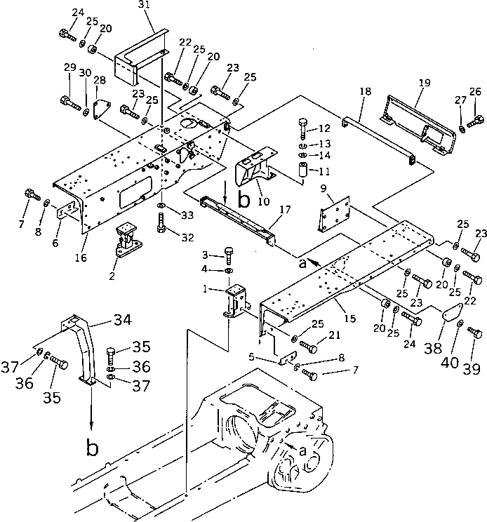
1

144-54-54351

BRACKET

SN: 50050-UP

1шт.

2

144-54-54361

BRACKET

SN: 50050-UP

1шт.

3

01010-52055

BOLT

SN: 50050-UP

4шт.

4

01643-32060

WASHER

SN: 50050-UP

4шт.

5

144-54-83430

COVER,L.H.

SN: 50050-UP

1шт.

6

144-54-83440

COVER,R.H.

SN: 50050-UP

1шт.

7

01010-51230

BOLT

SN: 50050-UP

4шт.

8

01602-21236

WASHER,SPRING

SN: 50050-UP

4шт.

9

144-54-12420

BRACKET

SN: 50050-UP

1шт.

10

144-54-12431

BRACKET

SN: 50050-UP

1шт.

11

144-54-51270

COLLAR

SN: 50050-UP

10шт.

12

01010-51465

BOLT

SN: 50050-UP

10шт.

13

01602-21442

WASHER,SPRING

SN: 50050-UP

10шт.

14

01643-31445

WASHER

SN: 50050-UP

10шт.

15

144-54-83410

FENDER,L.H.

SN: 50050-UP

1шт.

16

144-54-83420

FENDER,R.H.

SN: 50050-UP

1шт.

17

144-54-83270

BRACKET

SN: 50050-UP

1шт.

18

144-54-83250

BRACKET

SN: 50050-UP

1шт.

19

144-54-83450

COVER,REAR

SN: 50050-UP

1шт.

|19

144-78-81240

COVER,(FOR RIPPER OR FARMING)

SN: 50050-UP

1шт.

20

144-874-7430

SEAT

SN: 50050-UP

26шт.

21

01010-51635

BOLT

SN: 50050-UP

4шт.

22

01010-51665

BOLT

SN: 50050-UP

12шт.

23

01010-51640

BOLT

SN: 50050-UP

8шт.

24

01010-51660

BOLT

SN: 50050-UP

14шт.

25

01643-31645

WASHER

SN: 50050-UP

38шт.

26

01010-51225

BOLT

SN: 50050-UP

4шт.

27

01643-31232

WASHER

SN: 50050-UP

4шт.

28

144-54-14440

COVER

SN: 50050-UP

1шт.

29

01010-51225

BOLT

SN: 50050-UP

3шт.

30

01643-31232

WASHER

SN: 50050-UP

3шт.

31

144-54-83370

COVER

SN: 50050-UP

1шт.

32

01010-51225

BOLT

SN: 50050-UP

4шт.

33

01643-31232

WASHER

SN: 50050-UP

4шт.

34

144-Y11-1310

BRACKET

SN: 50050-UP

1шт.

35

01010-51230

BOLT

SN: 50050-UP

5шт.

36

01602-21236

WASHER,SPRING

SN: 50050-UP

5шт.

37

01643-31232

WASHER

SN: 50050-UP

5шт.

38

144-54-14470

COVER,(FOR ANGLE DOZER)

SN: 50050-UP

1шт.

39

01010-51225

BOLT,(FOR ANGLE DOZER)

SN: 50050-UP

2шт.

40

01643-31232

WASHER,(FOR ANGLE DOZER)

SN: 50050-UP

2шт.

Выбрано товаров: 41