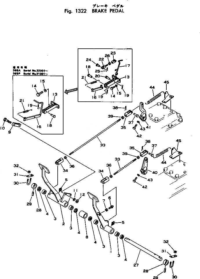
Запчасти Komatsu D65A-6 ПЕДАЛЬ ТОРМОЗА СИСТЕМАУПРАВЛЕНИЯ ПОВОРОТОМ И КОНЕЧНАЯ ПЕРЕДАЧА

Схема запчастей Komatsu D65A-6 - ПЕДАЛЬ ТОРМОЗА СИСТЕМАУПРАВЛЕНИЯ ПОВОРОТОМ И КОНЕЧНАЯ ПЕРЕДАЧА
FIT
1:1
100%

Артикул

Название

Примечание

Количество

1

144-43-14541

PEDAL,L.H.

SN: 20006-UP

1шт.

2

144-43-14551

PEDAL,R.H.

SN: 20006-UP

1шт.

3

06120-03520

BEARING

SN: 20006-UP

4шт.

4

06122-03504

SEAL

SN: 20006-UP

4шт.

5

07020-00675

FITTING

SN: 20006-UP

2шт.

6

09311-11237

BUMPER

SN: 20006-UP

2шт.

7

01580-01210

NUT

SN: 20006-UP

2шт.

8

144-43-14131

SPACER

SN: 20006-UP

1шт.

9

141-43-34210

STOPPER

SN: 20006-UP

1шт.

10

01050-31445

BOLT

SN: 22388-UP

2шт.

10

01000-31445

BOLT

SN: 20006-22387

2шт.

11

01602-01442

WASHER

SN: 20006-UP

2шт.

12

01582-01411

NUT

SN: 22388-UP

2шт.

12

01500-31411

NUT

SN: 20006-22387

2шт.

13

141-43-34233

BRACKET

SN: 32001-UP

1шт.

13

141-43-34232

BRACKET

SN: 28235-32000

1шт.

13

144-43-14323

BRACKET

SN: 20024-28234

1шт.

13

141-43-34230

BRACKET

SN: 20006-20021

1шт.

14

01010-31225

BOLT

SN: 20006-UP

2шт.

15

01602-01236

WASHER

SN: 20006-UP

2шт.

16

141-43-34222

STOPPER

SN: 32001-UP

1шт.

16

141-43-34221

STOPPER

SN: 28235-32000

1шт.

16

144-43-14331

STOPPER

SN: 20024-28234

1шт.

16

141-43-34220

STOPPER

SN: 20006-20021

1шт.

17

141-43-34241

LEVER

SN: 28235-32000

1шт.

17

141-43-34240

LEVER

SN: 20006-28234

1шт.

18

04205-01238

PIN

SN: 20006-UP

1шт.

19

04050-03020

PIN

SN: 32001-UP

1шт.

19

04050-03050

PIN

SN: 20006-32000

2шт.

20

144-43-14351

PIN

SN: 28235-32000

1шт.

20

04205-01238

PIN

SN: 20024-28234

1шт.

20

144-43-14350

PIN

SN: 20006-20021

1шт.

21

144-43-14360

SPRING

SN: 28347-UP

1шт.

21

144-43-14361

SPRING

SN: 20024-28346

1шт.

21

144-43-14360

SPRING

SN: 20006-20021

1шт.

22

04244-10806

ROD

SN: 20006-32000

1шт.

23

04211-00844

YOKE

SN: 20006-32000

1шт.

24

04205-00822

PIN

SN: 20006-32000

2шт.

25

04050-02012

PIN

SN: 20006-32000

2шт.

26

01580-00806

NUT

SN: 22388-32000

1шт.

26

01501-30805

NUT

SN: 20006-22387

1шт.

27

144-43-14141

SHAFT

SN: 20006-UP

1шт.

28

145-43-14331

COLLAR

SN: 20006-UP

2шт.

29

04025-00850

PIN

SN: 20006-UP

2шт.

30

135-43-14280

U-BOLT

SN: 20006-UP

2шт.

31

135-43-14290

PLATE

SN: 20006-UP

2шт.

32

01582-01411

NUT

SN: 22388-UP

4шт.

32

01500-31411

NUT

SN: 20006-22387

4шт.

33

04248-01463

ROD

SN: 22388-UP

2шт.

33

04245-01463

ROD

SN: 20006-22387

2шт.

34

04211-01478

YOKE

SN: 20006-UP

2шт.

35

04221-01478

YOKE,L.H. THREAD

SN: 22388-UP

2шт.

35

04211-01478

YOKE

SN: 20006-22387

2шт.

36

01582-01411

NUT

SN: 22388-UP

2шт.

36

01501-31408

NUT

SN: 20006-22387

2шт.

37

04205-01438

PIN

SN: 20006-UP

4шт.

38

04050-04022

PIN

SN: 20006-UP

4шт.

39

01508-11408

NUT, L.H. THREAD,L.H. THREAD

SN: 22388-UP

2шт.

39

01501-31408

NUT

SN: 20006-22387

2шт.

40

144-43-14680

LEVER,L.H.

SN: 20054-UP

1шт.

41

144-43-14690

LEVER,R.H.

SN: 20054-UP

1шт.

42

01010-31240

BOLT

SN: 20054-UP

2шт.

43

01602-01236

WASHER

SN: 20054-UP

2шт.

44

144-43-14670

SPRING

SN: 20024-UP

2шт.

44

141-43-34170

SPRING

SN: 20006-20021

2шт.

45

144-43-14643

BRACKET

SN: 20024-UP

2шт.

45

144-43-14642

BRACKET

SN: 20006-20021

2шт.

Выбрано товаров: 0