Запчасти Komatsu D65A-6 ЗАДН. РАМА И COVER ЧАСТИ КОРПУСА

Схема запчастей Komatsu D65A-6 - ЗАДН. РАМА И COVER ЧАСТИ КОРПУСА
FIT
1:1
100%

Артикул

Название

Примечание

Количество

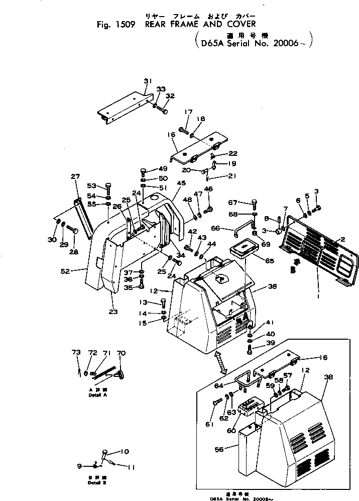
1

144-54-12182

COVER

SN: 20032-UP

1шт.

1

144-54-12181

COVER

SN: 20006-20031

1шт.

2

144-54-12172

COVER

SN: 20032-UP

1шт.

2

144-54-12171

COVER

SN: 20006-20031

1шт.

3

141-54-33280

SPACER

SN: 22388-UP

2шт.

3

141-54-33280

SPACER

SN: 20006-22387

1шт.

4

141-54-33270

BOLT

SN: 20006-UP

2шт.

5

01602-01236

WASHER

SN: 20006-UP

2шт.

6

01643-31232

WASHER

SN: 20006-UP

2шт.

7

01641-21223

WASHER

SN: 20006-UP

2шт.

8

04025-00316

PIN

SN: 20006-UP

2шт.

9

131-54-11150

SPRING

SN: 20006-UP

1шт.

10

04205-00616

PIN

SN: 20006-UP

2шт.

11

04050-01610

PIN

SN: 20006-UP

2шт.

12

144-54-15533

BOX

SN: 20032-UP

1шт.

12

144-54-15532

BOX

SN: 20024-20031

1шт.

12

144-54-15531

BOX

SN: 20006-20021

1шт.

13

01010-31225

BOLT

SN: 20006-UP

4шт.

14

01602-01236

WASHER

SN: 20006-UP

4шт.

15

01640-21223

WASHER

SN: 20006-UP

4шт.

16

144-54-15563

COVER

SN: 20032-UP

1шт.

16

144-54-15562

COVER

SN: 20024-20031

1шт.

16

144-54-15561

COVER

SN: 20006-20021

1шт.

17

01010-31020

BOLT

SN: 20006-UP

4шт.

18

01602-01030

WASHER

SN: 20006-UP

4шт.

19

131-57-43150

LEVER

SN: 20006-UP

1шт.

20

04205-01035

PIN

SN: 20006-UP

1шт.

21

04050-03015

PIN

SN: 20006-UP

1шт.

22

144-54-16170

SPRING

SN: 20006-UP

1шт.

23

144-54-15544

BOX

SN: 20024-UP

1шт.

23

144-54-15543

BOX

SN: 20006-20021

1шт.

24

01010-31225

BOLT

SN: 20006-UP

6шт.

25

01602-01236

WASHER

SN: 20006-UP

6шт.

26

144-54-15731

FRAME

SN: 20054-UP

1шт.

26

144-54-15730

FRAME

SN: 20006-20053

1шт.

27

144-54-15680

BRACKET

SN: 20006-UP

1шт.

28

01010-31225

BOLT

SN: 20006-UP

4шт.

29

01602-01236

WASHER

SN: 20006-UP

4шт.

30

01643-31232

WASHER

SN: 20006-UP

4шт.

31

144-54-15573

COVER

SN: 20024-UP

1шт.

31

144-54-15572

COVER

SN: 20006-20021

1шт.

32

01010-31225

BOLT

SN: 20024-UP

2шт.

33

01602-01236

WASHER

SN: 20006-UP

2шт.

34

144-54-15712

BRACKET

SN: 20006-28250

1шт.

35

01010-31440

BOLT

SN: 22388-28250

4шт.

35

01040-31440

BOLT

SN: 20006-22387

4шт.

36

01602-01442

WASHER

SN: 20006-28250

4шт.

37

01643-01432

WASHER

SN: 20006-28250

4шт.

38

144-54-15664

COVER

SN: 25048-UP

1шт.

38

144-54-15663

COVER

SN: 20032-25047

1шт.

38

144-54-15662

COVER

SN: 20024-20031

1шт.

38

144-54-15661

COVER

SN: 20006-20021

1шт.

39

01010-31230

BOLT

SN: 20006-UP

2шт.

40

01602-01236

WASHER

SN: 20006-UP

2шт.

41

01643-31232

WASHER

SN: 20006-UP

2шт.

42

01010-31225

BOLT

SN: 20032-UP

2шт.

42

01010-31225

BOLT

SN: 20006-20031

3шт.

43

01602-01236

WASHER

SN: 20032-UP

2шт.

43

01602-01236

WASHER

SN: 20006-20031

3шт.

44

01643-31232

WASHER

SN: 20032-UP

2шт.

44

01643-31232

WASHER

SN: 20006-20031

3шт.

45

144-54-15634

COVER

SN: 28251-UP

1шт.

45

144-54-15633

COVER

SN: 20006-28250

1шт.

46

01010-31230

BOLT

SN: 28251-UP

3шт.

46

01010-31235

BOLT

SN: 20006-28250

2шт.

47

01602-01236

WASHER

SN: 28251-UP

3шт.

47

01602-01236

WASHER

SN: 20006-28250

2шт.

48

01643-31232

WASHER

SN: 28251-UP

3шт.

48

01643-31232

WASHER

SN: 20006-28250

2шт.

49

01010-31225

BOLT

SN: 20006-28250

3шт.

50

01602-01236

WASHER

SN: 20006-28250

3шт.

51

01643-31232

WASHER

SN: 20006-28250

3шт.

52

144-54-15644

COVER

SN: 28884-UP

1шт.

52

144-54-15643

COVER

SN: 20054-28883

1шт.

52

144-54-15642

COVER

SN: 20006-20053

1шт.

53

01010-31225

BOLT

SN: 28884-UP

3шт.

53

01010-31225

BOLT

SN: 20006-28883

4шт.

54

01602-01236

WASHER

SN: 28884-UP

3шт.

54

01602-01236

WASHER

SN: 20006-28883

4шт.

55

01643-31232

WASHER

SN: 28884-UP

3шт.

55

01643-31232

WASHER

SN: 20006-28883

4шт.

56

144-54-15552

COVER

SN: 20054-UP

1шт.

56

144-54-15551

COVER

SN: 20006-20053

1шт.

57

01010-31225

BOLT

SN: 20006-UP

3шт.

58

01602-01236

WASHER

SN: 20006-UP

3шт.

59

01640-21223

WASHER

SN: 20006-UP

3шт.

60

144-54-15751

GUIDE

SN: 20054-UP

1шт.

60

144-54-15750

GUIDE

SN: 20006-20053

1шт.

61

01220-40825

SCREW

SN: 26824-UP

3шт.

61

01220-40825

SCREW

SN: 22388-26823

4шт.

61

01220-20825

SCREW

SN: 20006-22387

4шт.

62

01602-00825

WASHER

SN: 26824-UP

3шт.

62

01602-00825

WASHER

SN: 20006-26823

4шт.

63

141-54-15770

WASHER

SN: 26824-UP

3шт.

63

01640-20816

WASHER

SN: 20006-26823

4шт.

64

144-54-15760

RAIL

SN: 26824-UP

1шт.

65

09989-03046

BOX

SN: 25048-UP

1шт.

66

144-54-15780

BAND

SN: 25048-UP

1шт.

67

01010-50816

BOLT

SN: 25048-UP

2шт.

68

01602-20825

WASHER

SN: 25048-UP

2шт.

69

01580-20806

NUT

SN: 25048-UP

2шт.

70

101-57-31210

LOCK

SN: 25048-UP

1шт.

71

09459-01614

SPRING

SN: 25048-UP

1шт.

72

01642-21016

WASHER

SN: 25048-UP

1шт.

73

04050-03015

PIN

SN: 25048-UP

1шт.

Выбрано товаров: 105