Запчасти Komatsu D65A-6 ТОПЛИВН. БАК. КОМПОНЕНТЫ ДВИГАТЕЛЯ И ЭЛЕКТРИКА

Схема запчастей Komatsu D65A-6 - ТОПЛИВН. БАК. КОМПОНЕНТЫ ДВИГАТЕЛЯ И ЭЛЕКТРИКА
FIT
1:1
100%

Артикул

Название

Примечание

Количество

|1

144-04-00112

FUEL TANK ASS'Y

SN: 28229-UP

1шт.

|1

144-04-00111

FUEL TANK ASS'Y

SN: 22388-28228

1шт.

|1

144-04-00110

FUEL TANK ASS'Y

SN: 20006-22387

1шт.

|1

144-04-00212

FUEL TANK ASS'Y

SN: 20000-20000

1шт.

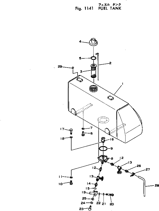
1

141-04-31120

TANK

SN: 20006-UP

1шт.

2

141-04-32111

GAUGE,OIL LEVEL

SN: 20006-UP

1шт.

3

07056-18416

STRAINER

SN: 28229-UP

1шт.

|3

0

STRAINER

SN: 20054-28228

1шт.

|3

0

STRAINER

SN: 20006-20053

1шт.

4

07050-21200

CAP

SN: .-UP

1шт.

|4

0

CAP

SN: 20006-.

1шт.

5

110-04-11120

RING

SN: 20006-UP

1шт.

6

01010-31435

BOLT

SN: 22388-UP

6шт.

|6

01040-31435

BOLT

SN: 20006-22387

6шт.

7

01602-01442

WASHER

SN: 20006-UP

6шт.

|8

141-04-00531

VALVE ASS'Y

SN: 22388-UP

1шт.

|8

141-04-00530

VALVE ASS'Y

SN: 20006-22387

1шт.

8

141-04-33110

FLANGE

SN: 20006-UP

1шт.

9

07000-02135

O-RING

SN: 20006-UP

1шт.

10

01010-31025

BOLT

SN: 20006-UP

6шт.

11

01602-01030

WASHER

SN: 20006-UP

6шт.

12

131-04-54120

NIPPLE

SN: 22388-UP

2шт.

|12

145-04-14110

NIPPLE

SN: 20006-22387

2шт.

13

07700-10504

VALVE

SN: 20054-UP

2шт.

|13

0

VALVE

SN: 20006-20053

2шт.

14

135-04-13151

NIPPLE

SN: 22388-UP

1шт.

|14

135-04-13150

NIPPLE

SN: 20006-22387

1шт.

15

07000-02015

O-RING

SN: 20006-UP

1шт.

16

131-04-43130

STRAINER

SN: 20006-.

1шт.

17

01010-30812

BOLT

SN: 22388-.

2шт.

|17

01000-30812

BOLT

SN: 20006-22387

2шт.

18

01602-00825

WASHER

SN: 20006-.

2шт.

19

141-04-33120

CASE

SN: 20006-UP

1шт.

20

154-04-12531

STRAINER

SN: .-UP

1шт.

|20

0

STRAINER

SN: 20006-.

1шт.

21

07000-03038

O-RING

SN: 20006-UP

1шт.

22

07000-03032

O-RING

SN: 20006-.

1шт.

23

01010-31030

BOLT

SN: 20006-UP

2шт.

24

01602-01030

WASHER

SN: 20006-UP

2шт.

25

01643-01032

WASHER

SN: 20006-UP

2шт.

26

141-04-31170

NIPPLE

SN: 22388-UP

1шт.

|26

141-04-14120

NIPPLE

SN: 20006-22387

1шт.

27

07280-01620

CLAMP

SN: .-UP

1шт.

|27

0

CLAMP

SN: 22388-.

1шт.

|27

145-04-14120

CLAMP

SN: 20006-22387

1шт.

28

07270-01260

TUBE

SN: 28229-UP

1шт.

|28

0

TUBE

SN: 20006-28228

1шт.

29

07049-01012

PLUG

SN: 22388-UP

8шт.

Выбрано товаров: 0