Запчасти Komatsu D65A-6 ПРЯМОЙ ОТВАЛ ОПЦИОННЫЕ КОМПОНЕНТЫ

Схема запчастей Komatsu D65A-6 - ПРЯМОЙ ОТВАЛ ОПЦИОННЫЕ КОМПОНЕНТЫ
FIT
1:1
100%

Артикул

Название

Примечание

Количество

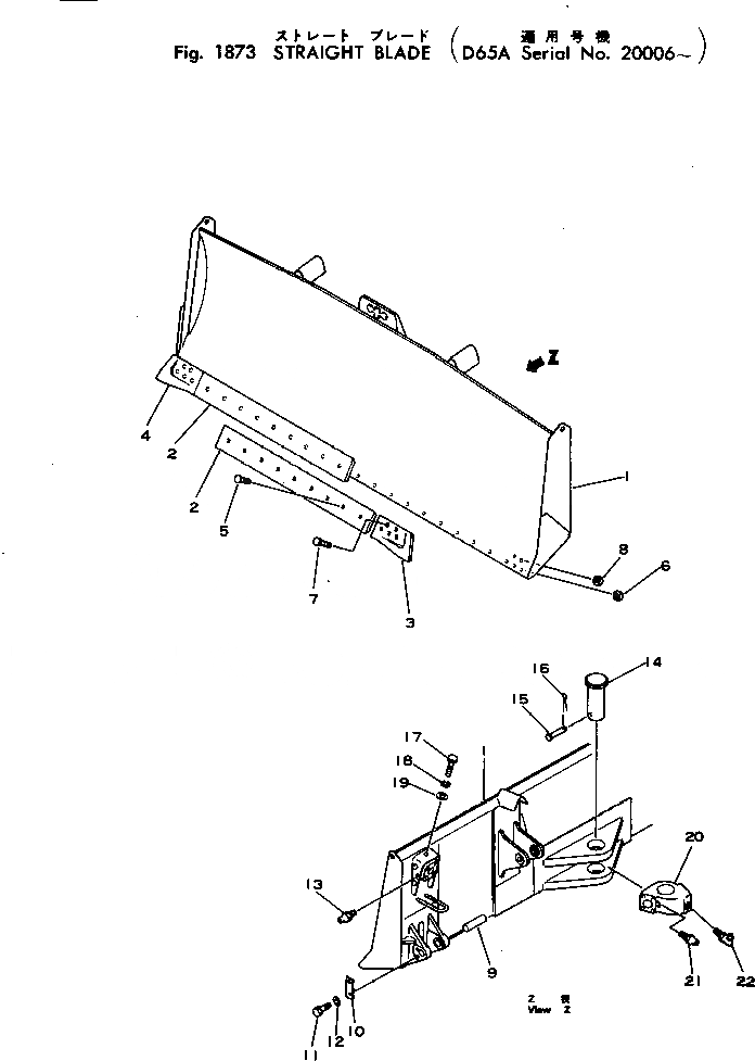
|1

144-920-0010

BLADE ASS'Y

SN: 20006-UP

1шт.

1

144-920-1511

BLADE

SN: 20006-UP

1шт.

|1

130-70-41320

PLATE¤ NAME (WELDED)

SN: 20006-UP

1шт.

2

144-920-1120

EDGE,CUTTING

SN: 20006-UP

2шт.

3

140-70-11170

BIT,END

SN: 20006-UP

1шт.

4

140-70-11180

BIT,END

SN: 20006-UP

1шт.

5

02090-01275

BOLT

SN: 20006-UP

24шт.

6

02290-01219

NUT

SN: 20006-UP

24шт.

7

02091-01200

BOLT

SN: 20006-UP

4шт.

8

02290-01219

NUT

SN: 20006-UP

4шт.

9

144-817-1160

SHAFT

SN: 20006-UP

2шт.

10

04082-00212

LOCK

SN: 20006-UP

2шт.

11

01010-31225

BOLT

SN: .-UP

4шт.

|11

0

BOLT

SN: 20006-.

4шт.

12

01602-01236

WASHER

SN: 20006-UP

4шт.

13

07020-00000

FITTING

SN: 20006-UP

2шт.

14

144-920-1530

PIN

SN: 20006-UP

1шт.

15

144-920-1540

PIN

SN: 20006-UP

1шт.

16

04050-04020

PIN

SN: 20006-UP

1шт.

17

01010-31225

BOLT

SN: .-UP

5шт.

|17

0

BOLT

SN: 20006-.

5шт.

18

01602-01236

WASHER

SN: 20006-UP

5шт.

19

01640-21223

WASHER

SN: 20006-UP

5шт.

20

144-920-2520

JOINT

SN: 20006-UP

1шт.

21

07020-00000

FITTING

SN: 20006-UP

1шт.

22

07020-00675

FITTING

SN: 20006-UP

1шт.

Выбрано товаров: 26