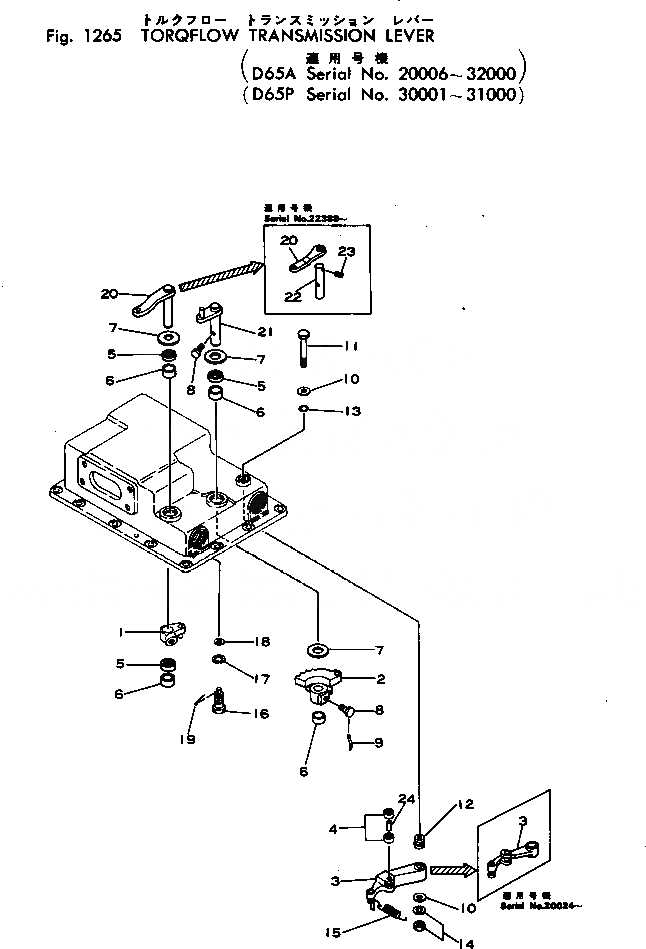
Запчасти Komatsu D65A-6 ТОРКФЛОУ ТРАНСМИССИЯ РЫЧАГ(№-) ГИДРОТРАНСФОРМАТОР И ТРАНСМИССИЯ

Схема запчастей Komatsu D65A-6 - ТОРКФЛОУ ТРАНСМИССИЯ РЫЧАГ(№-) ГИДРОТРАНСФОРМАТОР И ТРАНСМИССИЯ
FIT
1:1
100%

Артикул

Название

Примечание

Количество

|1

144-15-00013

TRANSMISSION ASS'Y

SN: 28229-32000

1шт.

|1

144-15-00012

TRANSMISSION ASS'Y

SN: 22388-28228

1шт.

|1

144-15-00011

TRANSMISSION ASS'Y

SN: 20024-22387

1шт.

|1

144-15-00010

TRANSMISSION ASS'Y

SN: 20006-20021

1шт.

|1

14G-15-00010

TRANSMISSION ASS'Y

SN: 20000-20000

1шт.

1

144-15-25560

LEVER

SN: 20006-32000

1шт.

2

144-15-25632

LEVER

SN: 20024-32000

1шт.

|2

144-15-25631

LEVER

SN: 20006-20021

1шт.

3

144-15-25682

LEVER

SN: 20024-32000

1шт.

|3

144-15-25681

LEVER

SN: 20006-20021

1шт.

4

144-15-29120

BEARING

SN: 20006-32000

2шт.

5

144-15-29110

SEAL (KIT)

SN: 20006-32000

2шт.

6

06120-02016

BEARING

SN: 20006-32000

4шт.

7

144-15-25570

WASHER

SN: 20006-32000

4шт.

8

125-15-11530

BOLT

SN: 22388-32000

2шт.

|8

144-15-25580

BOLT

SN: 20006-22387

2шт.

9

04059-01010

WIRE (KIT)

SN: 20006-32000

2шт.

10

175-15-45660

WASHER

SN: 20006-32000

2шт.

11

175-15-45650

BOLT

SN: 20006-32000

1шт.

12

144-15-25670

BUSHING

SN: 20006-32000

1шт.

13

07000-02010

O-RING (KIT)

SN: 20006-32000

1шт.

14

01602-01030

WASHER

SN: 20006-32000

1шт.

|14

01580-01008

NUT

SN: 20006-32000

1шт.

15

144-15-25710

SPRING

SN: 20006-32000

1шт.

16

144-15-25591

BOLT

SN: 22388-32000

1шт.

|16

144-15-25590

BOLT

SN: 20006-22387

1шт.

17

01602-01442

WASHER

SN: 20006-32000

1шт.

18

01641-21016

WASHER

SN: 20006-32000

1шт.

19

04050-02018

PIN (KIT)

SN: 20006-32000

1шт.

20

144-15-25750

LEVER

SN: 22388-32000

1шт.

|20

0

LEVER

SN: 20006-22387

1шт.

|$$32

(144-15-25750{144-15-25760)}

-1шт.

|$$33

04025-00432)

-1шт.

21

144-15-25740

LEVER

SN: 20006-32000

1шт.

22

144-15-25760

SHAFT

SN: 22388-32000

1шт.

23

04025-00432

PIN

SN: 22388-32000

1шт.

24

144-15-25690

PIN

SN: 22388-32000

1шт.

Выбрано товаров: 37