Запчасти Komatsu D65A-6 ТОРМОЗ. (/) СИСТЕМАУПРАВЛЕНИЯ ПОВОРОТОМ И КОНЕЧНАЯ ПЕРЕДАЧА

Схема запчастей Komatsu D65A-6 - ТОРМОЗ. (/) СИСТЕМАУПРАВЛЕНИЯ ПОВОРОТОМ И КОНЕЧНАЯ ПЕРЕДАЧА
FIT
1:1
100%

Артикул

Название

Примечание

Количество

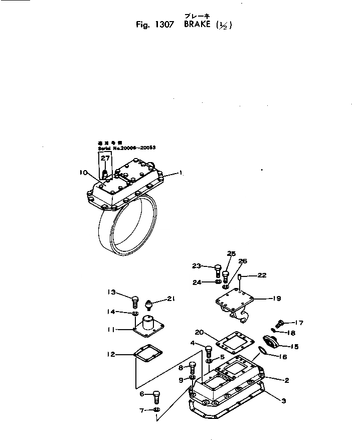
1

144-33-11121

COVER,R.H.

SN: .-UP

1шт.

|1

0

COVER,R.H.

SN: 20006-.

1шт.

2

144-33-11141

COVER,L.H.

SN: .-UP

1шт.

|2

0

COVER,L.H.

SN: 20006-.

1шт.

3

141-33-31130

GASKET

SN: 20032-UP

2шт.

|3

0

GASKET

SN: 20006-20031

2шт.

4

01010-31435

BOLT

SN: 22388-UP

8шт.

|4

01040-31435

BOLT

SN: 20006-22387

8шт.

5

01602-01442

WASHER

SN: 20006-UP

8шт.

6

01010-31430

BOLT

SN: 22388-UP

2шт.

|6

01040-31430

BOLT

SN: 20006-22387

2шт.

7

01602-01442

WASHER

SN: 20006-UP

2шт.

8

01010-31455

BOLT

SN: 22388-UP

14шт.

|8

01040-31455

BOLT

SN: 20006-22387

14шт.

|8

01010-31485

BOLT

SN: 22388-UP

4шт.

|8

01040-31485

BOLT

SN: 20006-22387

4шт.

9

01602-01442

WASHER

SN: 20006-UP

18шт.

10

144-33-11160

COVER,R.H.

SN: 20006-UP

1шт.

11

144-33-11171

COVER,L.H.

SN: 20006-UP

1шт.

12

144-33-11180

GASKET

SN: 20006-UP

2шт.

13

01010-31025

BOLT

SN: 20006-UP

12шт.

14

01602-01030

WASHER

SN: 20006-UP

12шт.

15

144-33-11191

COVER

SN: 22388-UP

2шт.

|15

144-33-11190

COVER

SN: 20006-22387

2шт.

16

07000-03052

O-RING

SN: 20006-UP

2шт.

17

01010-31025

BOLT

SN: 20006-UP

4шт.

18

01602-01030

WASHER

SN: 20006-UP

4шт.

19

135-33-21210

BRACKET

SN: 20054-UP

2шт.

|19

0

BRACKET

SN: 20024-20053

2шт.

|19

144-33-11210

BRACKET

SN: 20006-20021

2шт.

20

144-33-11220

GASKET

SN: 20006-UP

2шт.

21

07030-00252

BREATHER

SN: 20024-UP

1шт.

|21

07030-00252

BREATHER

SN: 20006-20021

2шт.

22

04020-01228

PIN

SN: 20006-UP

4шт.

23

01010-31640

BOLT

SN: 22388-UP

12шт.

|23

01040-31640

BOLT

SN: 20006-22387

12шт.

24

01602-01648

WASHER

SN: 20006-UP

12шт.

25

01010-31030

BOLT

SN: 20006-UP

4шт.

26

01602-01030

WASHER

SN: 20006-UP

4шт.

27

144-33-11361

SHAFT,R.H.

SN: 20024-20053

1шт.

|27

144-33-31160

SHAFT,R.H.

SN: 20006-20021

1шт.

Выбрано товаров: 0