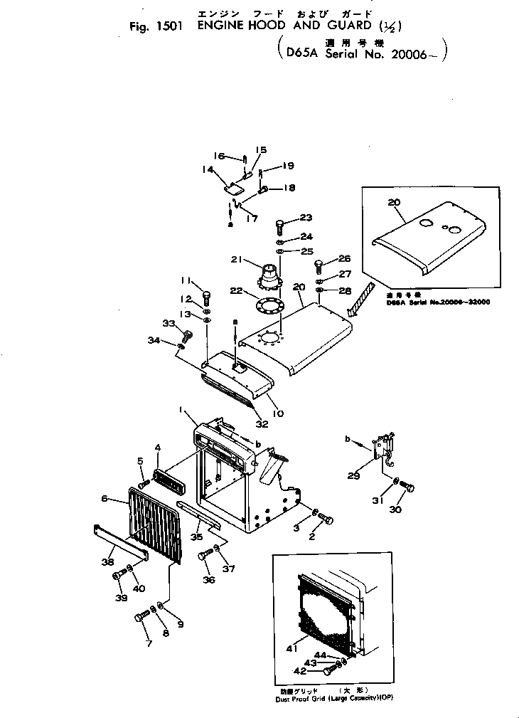
Запчасти Komatsu D65A-6 КАПОТ И ЧАСТИ КОРПУСА (/) ЧАСТИ КОРПУСА

Схема запчастей Komatsu D65A-6 - КАПОТ И ЧАСТИ КОРПУСА (/) ЧАСТИ КОРПУСА
FIT
1:1
100%

Артикул

Название

Примечание

Количество

1

144-54-11117

GUARD

SN: 28884-UP

1шт.

|1

144-54-11116

GUARD

SN: 20054-28883

1шт.

|1

144-54-11114

GUARD

SN: 20024-20053

1шт.

|1

144-54-11113

GUARD

SN: 20006-20021

1шт.

2

01019-22015

BOLT

SN: 22388-UP

16шт.

|2

01049-22015

BOLT

SN: 20024-22387

16шт.

|2

144-54-11260

BOLT

SN: 20006-20021

16шт.

3

01602-02060

WASHER

SN: 20006-UP

16шт.

4

144-54-11340

PLATE¤ MARK

SN: 20054-UP

1шт.

|4

144-54-11341

PLATE¤ MARK

SN: 20024-20053

1шт.

|4

144-54-11340

PLATE¤ MARK

SN: 20006-20021

1шт.

5

01225-20830

SCREW

SN: 20054-UP

2шт.

|5

01225-20830

SCREW

SN: 20024-20053

4шт.

|5

01225-20830

SCREW

SN: 20006-20021

2шт.

6

144-54-11314

GRILLE

SN: 20114-UP

1шт.

|6

144-54-11313

GRILLE

SN: 20054-20113

1шт.

|6

144-54-11312

GRILLE

SN: 20024-20053

1шт.

|6

144-54-11311

GRILLE

SN: 20006-20021

1шт.

7

01010-31425

BOLT

SN: 22388-UP

4шт.

|7

01040-31425

BOLT

SN: 20054-22387

4шт.

|7

01040-31430

BOLT

SN: 20024-20053

4шт.

|7

01040-31425

BOLT

SN: 20006-20021

4шт.

8

01602-01442

WASHER

SN: 20006-UP

4шт.

9

01643-31445

WASHER

SN: 20006-UP

4шт.

10

144-54-11121

COVER

SN: 20054-UP

1шт.

|10

144-54-11122

COVER

SN: 20024-20053

1шт.

|10

144-54-11121

COVER

SN: 20006-20021

1шт.

11

01010-31225

BOLT

SN: 20006-UP

8шт.

12

01602-01236

WASHER

SN: 20006-UP

8шт.

13

01643-31232

WASHER

SN: 20006-UP

8шт.

14

141-54-11170

COVER

SN: 20006-UP

1шт.

15

131-54-11270

PIN

SN: 20006-UP

1шт.

16

04050-01610

PIN

SN: 20006-UP

2шт.

17

131-54-11150

SPRING

SN: 20006-UP

2шт.

18

04205-00618

PIN

SN: 20006-UP

2шт.

19

04050-01610

PIN

SN: 20006-UP

2шт.

20

144-54-11134

HOOD

SN: 32001-UP

1шт.

|20

144-54-11133

HOOD

SN: 28884-32000

1шт.

|20

144-54-11131

HOOD

SN: 20054-28883

1шт.

|20

144-54-11132

HOOD

SN: 20024-20053

1шт.

|20

144-54-11131

HOOD

SN: 20006-20021

1шт.

21

144-54-11250

BRACKET

SN: 32001-UP

1шт.

22

145-54-41280

PLATE

SN: 32001-UP

1шт.

23

01010-31235

BOLT

SN: 32001-UP

9шт.

24

01602-01236

WASHER

SN: 32001-UP

9шт.

25

01643-31232

WASHER

SN: 32001-UP

9шт.

26

01010-31225

BOLT

SN: 20006-UP

5шт.

27

01602-01236

WASHER

SN: 20006-UP

5шт.

28

01643-31232

WASHER

SN: 20006-UP

5шт.

29

144-54-11200

CATCHER ASS'Y,R.H.

SN: 20006-UP

1шт.

|29

144-54-11300

CATCHER ASS'Y,L.H.

SN: 20006-UP

1шт.

30

01010-31220

BOLT

SN: 20032-UP

6шт.

|30

01040-31020

BOLT

SN: 20006-20031

6шт.

31

01602-01236

WASHER

SN: 20032-UP

6шт.

|31

01602-01030

WASHER

SN: 20006-20031

6шт.

32

144-54-11413

COVER

SN: 20054-UP

1шт.

|32

144-54-11412

COVER

SN: 20024-20053

1шт.

|32

144-54-11411

COVER

SN: 20006-20021

1шт.

33

01010-31220

BOLT

SN: 20054-UP

4шт.

|33

01040-31016

BOLT

SN: 20006-20053

4шт.

34

01602-01236

WASHER

SN: 20054-UP

4шт.

|34

01602-01030

WASHER

SN: 20006-20053

4шт.

35

144-54-11422

PLATE

SN: 20804-UP

1шт.

|35

0

PLATE

SN: 20054-20803

1шт.

|$$65

(144-54-11422{144-03-11122¤}

-1шт.

|$$66

01010-30814(3))

-1шт.

|35

144-54-11420

COVER

SN: 20006-20053

1шт.

36

01010-30814

BOLT

SN: 20804-UP

3шт.

|36

01000-30820

BOLT

SN: 20006-20803

3шт.

37

01602-00825

WASHER

SN: 20006-UP

3шт.

38

144-54-11291

BUMPER

SN: 20032-UP

1шт.

|38

144-54-11290

BUMPER

SN: 20024-20031

1шт.

39

01252-31230

BOLT

SN: 20032-UP

4шт.

|39

01252-21240

BOLT

SN: 20024-20031

4шт.

40

01602-01236

WASHER

SN: 20024-UP

4шт.

41

144-850-5311

GRID

SN: 20006-UP

1шт.

42

01010-31025

BOLT

SN: 20006-UP

8шт.

43

01602-21030

WASHER

SN: 20006-UP

8шт.

44

01643-01032

WASHER

SN: 20006-UP

8шт.

Выбрано товаров: 79