Запчасти Komatsu D65A-6 СИДЕНЬЕ ОПЕРАТОРА(№888-) ЧАСТИ КОРПУСА

Схема запчастей Komatsu D65A-6 - СИДЕНЬЕ ОПЕРАТОРА(№888-) ЧАСТИ КОРПУСА
FIT
1:1
100%

Артикул

Название

Примечание

Количество

|1

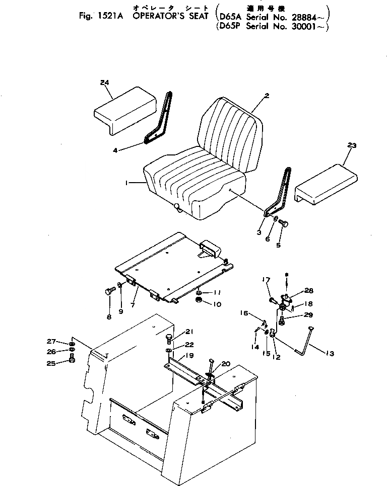
12F-57-11111

SEAT ASS'Y

SN: 28884-UP

1шт.

1

12F-57-11121

CUSHION

SN: 28884-UP

1шт.

2

12F-57-11221

CUSHION

SN: 28884-UP

1шт.

3

12F-57-11230

PLATE

SN: 28884-UP

1шт.

4

12F-57-11240

PLATE

SN: 28884-UP

1шт.

5

01010-31020

BOLT

SN: 28884-UP

8шт.

6

01602-01030

WASHER

SN: 28884-UP

8шт.

7

141-57-35112

PLATE

SN: 28884-UP

1шт.

8

01010-31225

BOLT

SN: 28884-UP

4шт.

9

01602-01236

WASHER

SN: 28884-UP

4шт.

10

01580-01210

NUT

SN: 28884-UP

4шт.

11

01602-01236

WASHER

SN: 28884-UP

4шт.

12

131-57-42340

LOCK

SN: 28884-UP

1шт.

13

131-57-42330

ROD

SN: 28884-UP

1шт.

14

04050-02012

PIN

SN: 28884-UP

1шт.

15

01641-20812

WASHER

SN: 28884-UP

1шт.

16

135-57-12230

SPRING

SN: 28884-UP

1шт.

17

135-43-16270

PIN

SN: 28884-UP

1шт.

18

04050-03015

PIN

SN: 28884-UP

1шт.

19

141-57-35210

FRAME

SN: .-UP

1шт.

|19

141-57-35150

FRAME

SN: 28884-.

1шт.

20

08037-01008

GROMMET

SN: 28884-UP

1шт.

21

01010-31020

BOLT

SN: 28884-UP

2шт.

22

01602-01236

WASHER

SN: 28884-UP

2шт.

23

144-57-11150

REST

SN: 28884-UP

1шт.

24

144-57-11150

REST

SN: 28884-UP

1шт.

25

01010-30816

BOLT

SN: 28884-UP

8шт.

26

01602-00825

WASHER

SN: 28884-UP

8шт.

27

01642-20810

WASHER

SN: 28884-UP

8шт.

28

131-57-42310

BRACKET

SN: 28884-UP

1шт.

29

01010-31020

BOLT

SN: 28884-UP

2шт.

Выбрано товаров: 31