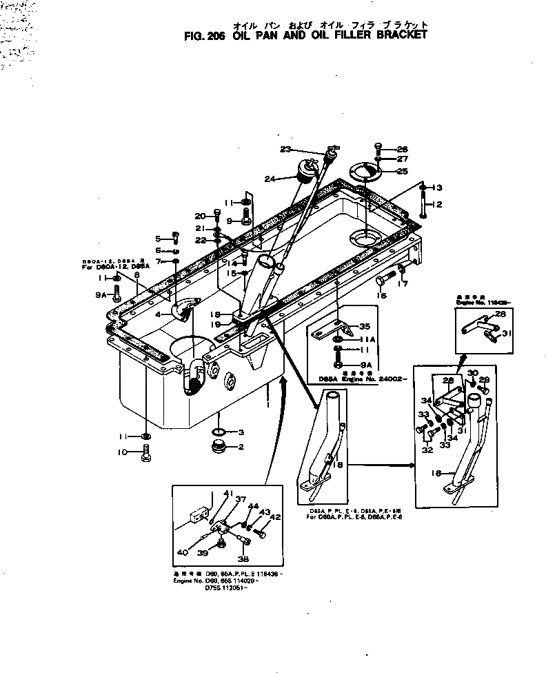
Запчасти Komatsu NH-220-CI-1F МАСЛЯНЫЙ ПОДДОН И МАСЛОНАЛИВНОЙ ПАТРУБОК КОРПУС БЛОК ЦИЛИНДРОВ

Схема запчастей Komatsu NH-220-CI-1F - МАСЛЯНЫЙ ПОДДОН И МАСЛОНАЛИВНОЙ ПАТРУБОК КОРПУС БЛОК ЦИЛИНДРОВ
FIT
1:1
100%

Артикул

Название

Примечание

Количество

1

6691-21-5114

PAN,OIL

SN: 24002-UP

1шт.

|1

6691-21-5112

PAN,OIL

SN: 18566-24001

1шт.

2

07044-13620

PLUG,DRAIN

SN: 26818-UP

1шт.

|2

07044-03620

PLUG,DRAIN

SN: 18566-26817

1шт.

3

07000-03032

O-RING (K4)

SN: 18566-UP

1шт.

4

6672-22-5520

SCREEN,OIL PAN

SN: 18566-UP

2шт.

5

01212-50612

SCREW

SN: 18566-UP

6шт.

6

01602-00619

WASHER,SPRING

SN: 18566-UP

6шт.

7

01640-20610

WASHER

SN: 18566-UP

6шт.

8

6623-21-5811

GASKET,OIL PAN (K4)

SN: 24002-UP

1шт.

|8

0

GASKET,OIL PAN (K4)

SN: 18566-24001

1шт.

9

6610-21-5720

BOLT

SN: 18566-UP

24шт.

9A

02030-20744

BOLT

SN: 18566-UP

2шт.

10

02010-20732

BOLT

SN: 18566-UP

4шт.

11

01602-01134

WASHER,SPRING

SN: 26860-UP

28шт.

|11

02310-11428

WASHER,SPRING

SN: 24002-26859

29шт.

|11

02310-11428

WASHER,SPRING

SN: 18566-24001

31шт.

11A

01640-21223

WASHER

SN: 24002-UP

2шт.

12

02030-30570

BOLT

SN: 18566-UP

4шт.

13

02310-11020

WASHER,SPRING

SN: 18566-.

4шт.

14

01010-30830

BOLT

SN: 26818-UP

1шт.

|14

01000-30830

BOLT

SN: 18566-26817

1шт.

15

01602-00825

WASHER,SPRING

SN: 18566-UP

1шт.

16

01010-31245

BOLT

SN: 18566-UP

5шт.

17

01602-01236

WASHER,SPRING

SN: 18566-UP

5шт.

18

6631-21-5412

BRACKET,OIL FILLER

SN: .-UP

1шт.

|18

6631-21-5411

BRACKET,OIL FILLER

SN: 21022-.

1шт.

|18

6631-21-5410

BRACKET,OIL FILLER

SN: 18566-21021

1шт.

19

6643-21-5421

GASKET (K4)

SN: 18566-UP

1шт.

20

01010-31230

BOLT

SN: 18566-UP

2шт.

21

01602-01236

WASHER,SPRING

SN: 18566-UP

2шт.

22

01641-21223

WASHER

SN: 18566-21194

1шт.

23

6631-21-5301

OIL GAUGE ASS'Y

SN: .-UP

1шт.

|23

0

OIL GAUGE ASS'Y

SN: 21195-.

1шт.

|23

6693-22-5301

OIL GAUGE ASS'Y

SN: 18566-21194

1шт.

24

6610-21-7200

CAP,OIL FILLER

SN: 18566-UP

1шт.

25

6643-21-5520

SCREEN,OIL PAN

SN: 18566-UP

1шт.

26

01010-30612

BOLT

SN: 18566-UP

4шт.

27

01602-00619

WASHER,SPRING

SN: 18566-UP

4шт.

28

6631-21-5420

BRACKET

SN: 18566-UP

1шт.

29

02030-20925

BOLT

SN: 21195-UP

2шт.

30

02310-11836

WASHER,SPRING

SN: 21195-UP

2шт.

31

6631-21-5430

PLATE

SN: 21195-UP

1шт.

32

01050-31025

BOLT

SN: 21195-UP

2шт.

33

01602-01030

WASHER,SPRING

SN: 21195-UP

2шт.

34

01642-21016

WASHER

SN: 21195-UP

2шт.

35

6632-21-5911

BRACKET

SN: 31343-UP

1шт.

|35

0

BRACKET

SN: 24002-31342

1шт.

36

6610-21-5730

CLAMP,(NOT SHOWN)

SN: 32972-UP

1шт.

1

6691-21-5114

PAN,OIL

SN: 24002-UP

1шт.

|1

6691-21-5112

PAN,OIL

SN: 18566-24001

1шт.

2

07044-13620

PLUG,DRAIN

SN: 26818-UP

1шт.

|2

07044-03620

PLUG,DRAIN

SN: 18566-26817

1шт.

3

07000-03032

O-RING (K4)

SN: 18566-UP

1шт.

4

6672-22-5520

SCREEN,OIL PAN

SN: 18566-UP

2шт.

5

01212-50612

SCREW

SN: 18566-UP

6шт.

6

01602-00619

WASHER,SPRING

SN: 18566-UP

6шт.

7

01640-20610

WASHER

SN: 18566-UP

6шт.

8

6623-21-5811

GASKET,OIL PAN (K4)

SN: 24002-UP

1шт.

|8

0

GASKET,OIL PAN (K4)

SN: 18566-24001

1шт.

9

6610-21-5720

BOLT

SN: 18566-UP

24шт.

9A

02030-20744

BOLT

SN: 18566-UP

2шт.

10

02010-20732

BOLT

SN: 18566-UP

4шт.

11

01602-01134

WASHER,SPRING

SN: 26860-UP

28шт.

|11

02310-11428

WASHER,SPRING

SN: 24002-26859

29шт.

|11

02310-11428

WASHER,SPRING

SN: 18566-24001

31шт.

11A

01640-21223

WASHER

SN: 24002-UP

2шт.

12

02030-30570

BOLT

SN: 18566-UP

4шт.

13

02310-11020

WASHER,SPRING

SN: 18566-.

4шт.

14

01010-30830

BOLT

SN: 26818-UP

1шт.

|14

01000-30830

BOLT

SN: 18566-26817

1шт.

15

01602-00825

WASHER,SPRING

SN: 18566-UP

1шт.

16

01010-31245

BOLT

SN: 18566-UP

5шт.

17

01602-01236

WASHER,SPRING

SN: 18566-UP

5шт.

18

6631-21-5412

BRACKET,OIL FILLER

SN: .-UP

1шт.

|18

6631-21-5411

BRACKET,OIL FILLER

SN: 21022-.

1шт.

|18

6631-21-5410

BRACKET,OIL FILLER

SN: 18566-21021

1шт.

19

6643-21-5421

GASKET (K4)

SN: 18566-UP

1шт.

20

01010-31230

BOLT

SN: 18566-UP

2шт.

21

01602-01236

WASHER,SPRING

SN: 18566-UP

2шт.

22

01641-21223

WASHER

SN: 18566-21194

1шт.

23

6631-21-5301

OIL GAUGE ASS'Y

SN: .-UP

1шт.

|23

0

OIL GAUGE ASS'Y

SN: 21195-.

1шт.

|23

6693-22-5301

OIL GAUGE ASS'Y

SN: 18566-21194

1шт.

24

6610-21-7200

CAP,OIL FILLER

SN: 18566-UP

1шт.

25

6643-21-5520

SCREEN,OIL PAN

SN: 18566-UP

1шт.

26

01010-30612

BOLT

SN: 18566-UP

4шт.

27

01602-00619

WASHER,SPRING

SN: 18566-UP

4шт.

28

6631-21-5420

BRACKET

SN: 18566-UP

1шт.

29

02030-20925

BOLT

SN: 21195-UP

2шт.

30

02310-11836

WASHER,SPRING

SN: 21195-UP

2шт.

31

6631-21-5430

PLATE

SN: 21195-UP

1шт.

32

01050-31025

BOLT

SN: 21195-UP

2шт.

33

01602-01030

WASHER,SPRING

SN: 21195-UP

2шт.

34

01642-21016

WASHER

SN: 21195-UP

2шт.

35

6632-21-5911

BRACKET

SN: 31343-UP

1шт.

|35

0

BRACKET

SN: 24002-31342

1шт.

36

6610-21-5730

CLAMP,(NOT SHOWN)

SN: 32972-UP

1шт.

Выбрано товаров: 98