Запчасти Komatsu NH-220-CI-2F ТОПЛИВН. ФИЛЬТР. ТОПЛИВН. СИСТЕМА

Схема запчастей Komatsu NH-220-CI-2F - ТОПЛИВН. ФИЛЬТР. ТОПЛИВН. СИСТЕМА
FIT
1:1
100%

Артикул

Название

Примечание

Количество

|$0

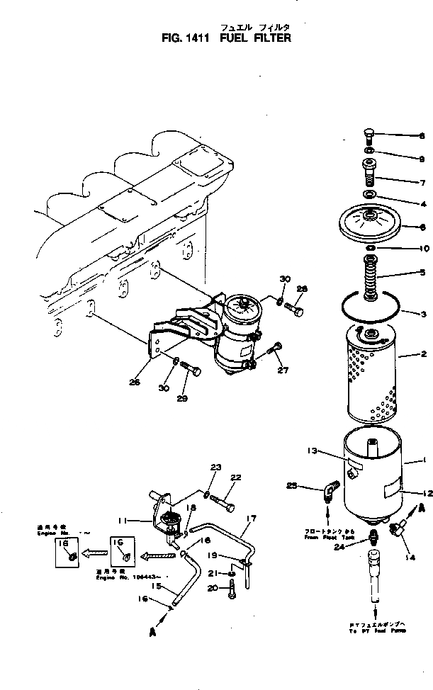
6631-71-8002

FUEL FILTER ASS'Y

SN: 100101-UP

1шт.

1

6610-71-8403

BODY

SN: 100101-UP

1шт.

|$2

6610-70-8603

ELEMENT ASS'Y

SN: 100101-UP

1шт.

2

0

CARTRIDGE

SN: 100101-UP

1шт.

3

6610-71-8483

O-RING

SN: 100101-UP

1шт.

4

07005-02216

GASKET

SN: 100101-UP

1шт.

5

6610-71-8541

SPRING

SN: 100101-UP

1шт.

6

6610-71-8512

COVER

SN: 100101-UP

1шт.

|$8

6610-70-8521

CENTER BOLT ASS'Y

SN: 100101-UP

1шт.

7

0

BOLT

SN: .-UP

1шт.

7

0

BOLT

SN: 100101-.

1шт.

8

01010-30812

BOLT

SN: 100101-UP

1шт.

9

6610-71-8690

GASKET

SN: 100101-UP

1шт.

10

6610-71-8531

RING,SNAP

SN: 100101-UP

1шт.

11

6631-71-8963

VALVE,DRAIN

SN: 100101-UP

1шт.

12

09630-00100

PLATE, CAUTION,(JAPANESE-ENGLISH)

SN: 100101-UP

1шт.

12

6610-81-1633

PLATE, INSTRUCTION,(SPANISH-ENGLISH)

SN: 100101-UP

1шт.

12

09630-02100

PLATE, CAUTION,(ARABIC-ENGLISH)

SN: 100101-UP

1шт.

13

6610-71-8580

PLATE, NAME,INLET

SN: 100101-UP

1шт.

13

6691-71-8580

PLATE, NAME,(ARABIC-ENGLISH)

SN: 100101-UP

1шт.

14

6672-71-8970

CONNECTOR

SN: 100101-UP

1шт.

15

07260-00925

HOSE

SN: 100101-UP

1шт.

16

07281-00197

CLAMP

SN: ..-UP

2шт.

16

0

CLAMP

SN: .-..

2шт.

16

0

CLAMP

SN: 106443-.

2шт.

16

0

WIRE,LOCK

SN: 100101-106442

2шт.

17

07270-00850

TUBE

SN: 100101-UP

1шт.

18

04059-01012

WIRE,LOCK

SN: 100101-UP

1шт.

19

6610-21-5730

CLAMP

SN: 100101-UP

1шт.

20

02030-30738

BOLT

SN: 100101-UP

2шт.

21

01602-01134

WASHER,SPRING

SN: 100101-UP

2шт.

22

02030-20670

BOLT

SN: 100101-UP

2шт.

23

02310-11224

WASHER,SPRING

SN: 100101-UP

2шт.

24

6600-02-3861

CONNECTOR,OUTLET

SN: 100101-UP

1шт.

25

6610-71-8490

ELBOW,INLET

SN: 100101-UP

1шт.

26

6631-21-6511

BRACKET

SN: 100101-UP

1шт.

27

01010-30840

BOLT

SN: 100101-UP

2шт.

28

02030-20925

BOLT

SN: 100101-UP

2шт.

29

02030-20944

BOLT

SN: 100101-UP

4шт.

30

02310-11836

WASHER,SPRING

SN: 100101-UP

6шт.

|$0

6631-71-8002

FUEL FILTER ASS'Y

SN: 100101-UP

1шт.

1

6610-71-8403

BODY

SN: 100101-UP

1шт.

|$2

6610-70-8603

ELEMENT ASS'Y

SN: 100101-UP

1шт.

2

0

CARTRIDGE

SN: 100101-UP

1шт.

3

6610-71-8483

O-RING

SN: 100101-UP

1шт.

4

07005-02216

GASKET

SN: 100101-UP

1шт.

5

6610-71-8541

SPRING

SN: 100101-UP

1шт.

6

6610-71-8512

COVER

SN: 100101-UP

1шт.

|$8

6610-70-8521

CENTER BOLT ASS'Y

SN: 100101-UP

1шт.

7

0

BOLT

SN: .-UP

1шт.

7

0

BOLT

SN: 100101-.

1шт.

8

01010-30812

BOLT

SN: 100101-UP

1шт.

9

6610-71-8690

GASKET

SN: 100101-UP

1шт.

10

6610-71-8531

RING,SNAP

SN: 100101-UP

1шт.

11

6631-71-8963

VALVE,DRAIN

SN: 100101-UP

1шт.

12

09630-00100

PLATE, CAUTION,(JAPANESE-ENGLISH)

SN: 100101-UP

1шт.

12

6610-81-1633

PLATE, INSTRUCTION,(SPANISH-ENGLISH)

SN: 100101-UP

1шт.

12

09630-02100

PLATE, CAUTION,(ARABIC-ENGLISH)

SN: 100101-UP

1шт.

13

6610-71-8580

PLATE, NAME,INLET

SN: 100101-UP

1шт.

13

6691-71-8580

PLATE, NAME,(ARABIC-ENGLISH)

SN: 100101-UP

1шт.

14

6672-71-8970

CONNECTOR

SN: 100101-UP

1шт.

15

07260-00925

HOSE

SN: 100101-UP

1шт.

16

07281-00197

CLAMP

SN: ..-UP

2шт.

16

0

CLAMP

SN: .-..

2шт.

16

0

CLAMP

SN: 106443-.

2шт.

16

0

WIRE,LOCK

SN: 100101-106442

2шт.

17

07270-00850

TUBE

SN: 100101-UP

1шт.

18

04059-01012

WIRE,LOCK

SN: 100101-UP

1шт.

19

6610-21-5730

CLAMP

SN: 100101-UP

1шт.

20

02030-30738

BOLT

SN: 100101-UP

2шт.

21

01602-01134

WASHER,SPRING

SN: 100101-UP

2шт.

22

02030-20670

BOLT

SN: 100101-UP

2шт.

23

02310-11224

WASHER,SPRING

SN: 100101-UP

2шт.

24

6600-02-3861

CONNECTOR,OUTLET

SN: 100101-UP

1шт.

25

6610-71-8490

ELBOW,INLET

SN: 100101-UP

1шт.

26

6631-21-6511

BRACKET

SN: 100101-UP

1шт.

27

01010-30840

BOLT

SN: 100101-UP

2шт.

28

02030-20925

BOLT

SN: 100101-UP

2шт.

29

02030-20944

BOLT

SN: 100101-UP

4шт.

30

02310-11836

WASHER,SPRING

SN: 100101-UP

6шт.

Выбрано товаров: 80