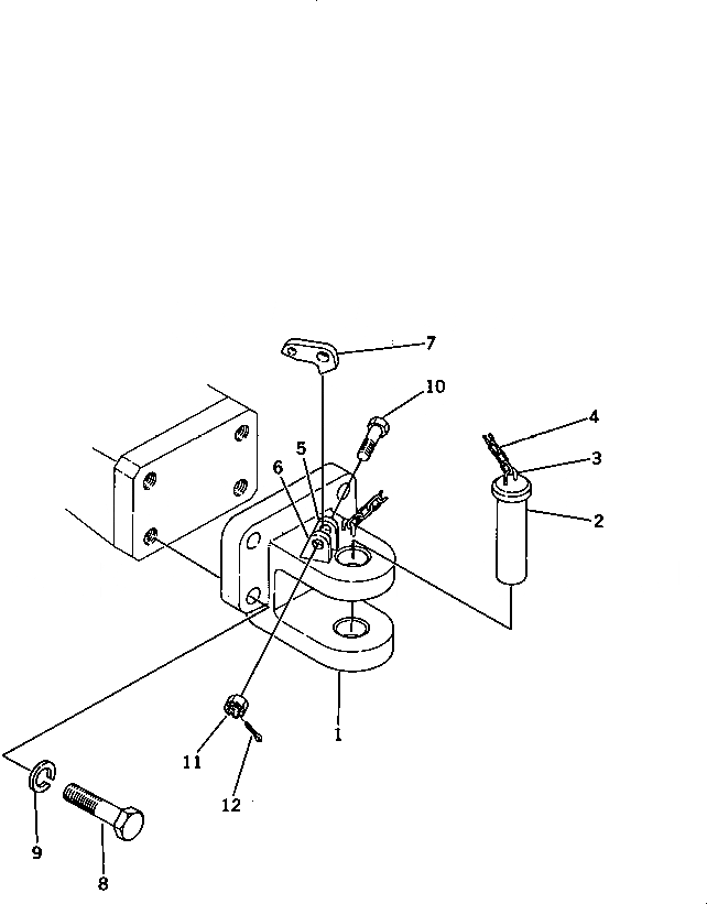
Запчасти Komatsu D65A-8 СЦЕПНОЕ УСТРОЙСТВО (ДЛЯ ТЯГОВ. ЛЕБЕДКИ) ЧАСТИ КОРПУСА

Схема запчастей Komatsu D65A-8 - СЦЕПНОЕ УСТРОЙСТВО (ДЛЯ ТЯГОВ. ЛЕБЕДКИ) ЧАСТИ КОРПУСА
FIT
1:1
100%

Артикул

Название

Примечание

Количество

|$0

144-916-0150

DRAWBAR ASS'Y

SN: 45001-UP

1шт.

1

144-916-3511

DRAWBAR

SN: 45001-UP

1шт.

2

09242-45155

PIN

SN: 45001-UP

1шт.

3

130-70-12210

HOOK

SN: 45001-UP

2шт.

4

150-70-13420

CHAIN

SN: 45001-UP

1шт.

5

131-69-11120

PLATE

SN: 45001-UP

1шт.

6

131-69-11130

PLATE

SN: 45001-UP

1шт.

7

09249-00016

LATCH

SN: 45001-UP

1шт.

8

01010-32475

BOLT

SN: 45001-UP

4шт.

9

01602-22472

WASHER,SPRING

SN: 45001-UP

4шт.

10

01052-51260

BOLT

SN: 45001-UP

1шт.

11

01592-01215

NUT

SN: 45001-UP

1шт.

12

04050-13025

PIN,COTTER

SN: 45001-UP

1шт.

Выбрано товаров: 13