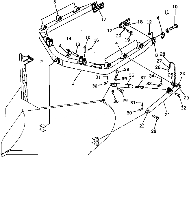
Запчасти Komatsu D65A-8 С-ОБРАЗН. РАМА (ДЛЯ SNOW PНИЗ.) РАБОЧЕЕ ОБОРУДОВАНИЕ

Схема запчастей Komatsu D65A-8 - С-ОБРАЗН. РАМА (ДЛЯ SNOW PНИЗ.) РАБОЧЕЕ ОБОРУДОВАНИЕ
FIT
1:1
100%

Артикул

Название

Примечание

Количество

|$0

144-905-0010

C-FRAME ASS'Y

SN: 45001-UP

1шт.

1

0

FRAME

SN: 45001-UP

1шт.

2

144-70-13120

SHAFT (WELDED)

SN: 45001-UP

1шт.

3

140-70-13130

COLLAR (WELDED)

SN: 45001-UP

1шт.

4

144-70-13210

BRACKET,L.H. (WELDED)

SN: 45001-UP

3шт.

5

144-70-13220

BRACKET,R.H. (WELDED)

SN: 45001-UP

3шт.

8

0

PIVOT,(WELDED) (KIT)

SN: 45001-UP

2шт.

9

0

CAP (KIT)

SN: 45001-UP

2шт.

10

01011-82430

BOLT (KIT)

SN: 45001-UP

4шт.

11

01643-32460

WASHER (KIT)

SN: 45001-UP

4шт.

12

130-70-13241

NUT (KIT)

SN: 45001-UP

4шт.

13

144-817-4110

SHAFT

SN: 45001-UP

2шт.

14

07020-00000

FITTING,GREASE

SN: 45001-UP

2шт.

15

140-70-14230

PIN

SN: 45001-UP

2шт.

16

04050-13015

PIN,COTTER

SN: 45001-UP

2шт.

17

144-70-13180

TRUNNION

SN: 45001-UP

2шт.

18

140-817-3150

SHAFT (WELDED)

SN: 45001-UP

1шт.

19

01010-32045

BOLT

SN: 45001-UP

16шт.

20

01602-02060

WASHER,SPRING

SN: 45001-UP

16шт.

|$19

144-70-00020

ARM ASS'Y

SN: 45001-UP

2шт.

21

144-70-12141

ARM

SN: 45001-UP

1шт.

22

140-70-12161

BOSS

SN: 45001-UP

1шт.

23

144-70-12150

STOPPER

SN: 45001-UP

1шт.

24

150-70-12120

BUSHING

SN: 45001-UP

1шт.

25

144-70-12181

PIN

SN: 45001-UP

1шт.

26

170-70-12150

PIN

SN: 45001-UP

1шт.

27

170-70-12160

LOCK

SN: 45001-UP

2шт.

28

150-70-13420

CHAIN

SN: 45001-UP

1шт.

29

130-70-12221

PIN

SN: 45001-UP

2шт.

30

130-70-12231

PIN

SN: 45001-UP

2шт.

31

04050-05030

PIN,COTTER

SN: 45001-UP

2шт.

32

150-70-13410

PIN

SN: 45001-UP

1шт.

33

170-70-12240

PIN

SN: 45001-UP

1шт.

34

04050-04025

PIN,COTTER

SN: 45001-UP

1шт.

|$34

144-70-00031

BRACE ASS'Y

SN: 45001-UP

2шт.

35

144-70-12160

BRACE

SN: 45001-UP

1шт.

36

07020-00000

FITTING,GREASE

SN: 45001-UP

2шт.

37

140-70-12191

BOLT

SN: 45001-UP

12шт.

38

130-70-52110

SCREW

SN: 45001-UP

1шт.

39

01602-01442

WASHER,SPRING

SN: 45001-UP

1шт.

|$$41

SERVICE KIT

-1шт.

8

140-70-00032

PIVOT ASS'Y

SN: 45001-UP

2шт.

8

0

PIVOT

SN: 45001-UP

1шт.

9

140-70-13151

CAP

SN: 45001-UP

1шт.

10

01011-82430

BOLT

SN: 45001-UP

2шт.

11

01643-32460

WASHER

SN: 45001-UP

2шт.

12

130-70-13241

NUT

SN: 45001-UP

2шт.

Выбрано товаров: 47