Запчасти Komatsu D65A-8 РУЛЕВ. УПРАВЛЕНИЕ РЫЧАГ (ДЛЯ EC)(№7-) МАРКИРОВКА¤ ИНСТРУМЕНТ И РЕМКОМПЛЕКТЫ

Схема запчастей Komatsu D65A-8 - РУЛЕВ. УПРАВЛЕНИЕ РЫЧАГ (ДЛЯ EC)(№7-) МАРКИРОВКА¤ ИНСТРУМЕНТ И РЕМКОМПЛЕКТЫ
FIT
1:1
100%

Артикул

Название

Примечание

Количество

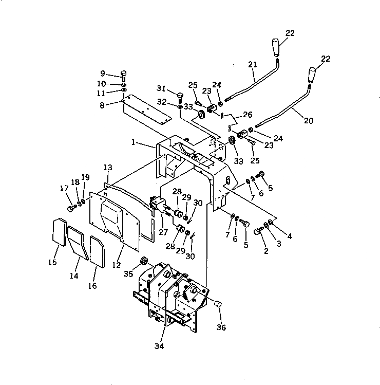
1

144-Z79-2260

DASHBOARD,DASH

SN: 45760-UP

1шт.

2

01010-51230

BOLT

SN: 45760-UP

4шт.

3

01602-21236

WASHER,SPRING

SN: 45760-UP

4шт.

4

01643-31232

WASHER

SN: 45760-UP

4шт.

5

01010-51235

BOLT

SN: 45760-UP

10шт.

6

01602-21236

WASHER,SPRING

SN: 45760-UP

10шт.

7

01643-31232

WASHER

SN: 45760-UP

10шт.

8

120-54-31541

COVER

SN: 45760-UP

1шт.

9

01010-51225

BOLT

SN: 45760-UP

6шт.

10

01602-21236

WASHER,SPRING

SN: 45760-UP

6шт.

11

01643-31232

WASHER

SN: 45760-UP

6шт.

|$11

144-A62-8480

COVER

SN: 45760-UP

1шт.

12

144-54-24120

COVER

SN: 45760-UP

1шт.

13

144-A62-8410

SEAL

SN: 45760-UP

3шт.

14

144-A62-8490

ABSORBER

SN: 45760-UP

1шт.

15

144-A62-8510

ABSORBER

SN: 45760-UP

1шт.

16

144-A62-8520

ABSORBER

SN: 45760-UP

1шт.

17

01010-51225

BOLT

SN: 45760-UP

7шт.

18

01602-21236

WASHER,SPRING

SN: 45760-UP

7шт.

19

01643-31232

WASHER

SN: 45760-UP

7шт.

20

144-43-31111

LEVER,L.H.

SN: 45760-UP

1шт.

21

144-43-31121

LEVER,R.H.

SN: 45760-UP

1шт.

22

09305-11400

KNOB

SN: 45760-UP

2шт.

23

04210-21456

YOKE

SN: 45760-UP

2шт.

24

01582-11411

NUT

SN: 45760-UP

2шт.

25

04205-11438

PIN

SN: 45760-UP

2шт.

26

04050-14025

PIN,COTTER

SN: 45760-UP

2шт.

27

120-43-32411

BRACKET

SN: 45760-UP

1шт.

28

09365-00826

ROLLER

SN: 45760-UP

4шт.

29

01590-10809

NUT

SN: 45760-UP

4шт.

30

04050-12015

PIN,COTTER

SN: 45760-UP

4шт.

31

01010-51020

BOLT

SN: 45760-UP

2шт.

32

01602-21030

WASHER,SPRING

SN: 45760-UP

2шт.

33

130-54-71270

GUIDE

SN: 45760-UP

2шт.

34

144-43-51180

FRAME

SN: 45760-UP

1шт.

35

09415-03614

CAP

SN: 45760-UP

1шт.

36

07049-04253

PLUG

SN: 45760-UP

1шт.

Выбрано товаров: 37