Запчасти Komatsu D65A-8 КАПОТ (ДЛЯ EC)(№7-) МАРКИРОВКА¤ ИНСТРУМЕНТ И РЕМКОМПЛЕКТЫ

Схема запчастей Komatsu D65A-8 - КАПОТ (ДЛЯ EC)(№7-) МАРКИРОВКА¤ ИНСТРУМЕНТ И РЕМКОМПЛЕКТЫ
FIT
1:1
100%

Артикул

Название

Примечание

Количество

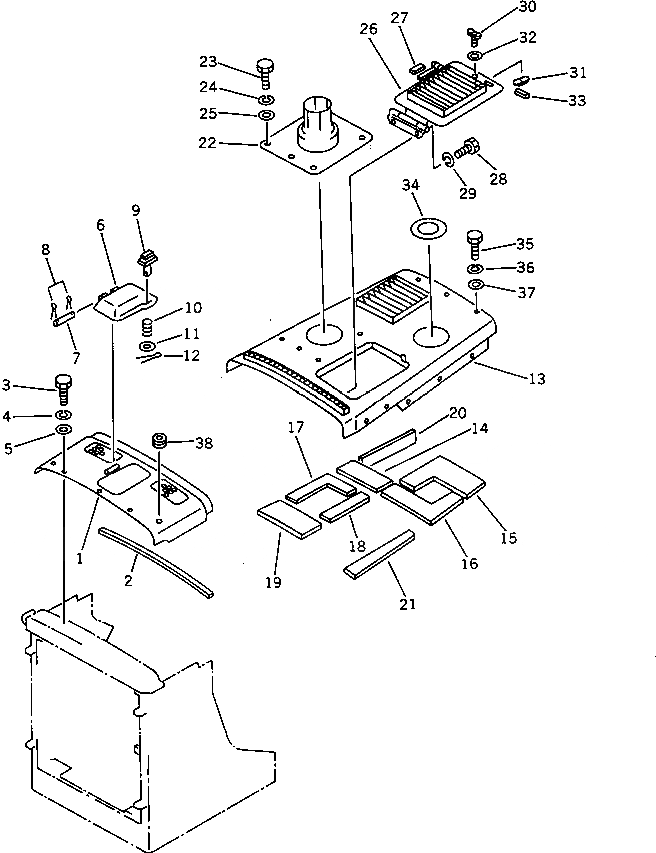
1

144-A62-7340

COVER ASS'Y

SN: 45760-UP

1шт.

2

144-A62-6540

BAFFLE

SN: 45760-UP

1шт.

3

01010-51235

BOLT

SN: 45760-UP

7шт.

4

01602-21236

WASHER,SPRING

SN: 45760-UP

7шт.

5

01643-31232

WASHER

SN: 45760-UP

7шт.

6

144-54-51140

COVER

SN: 45760-UP

1шт.

7

131-54-11270

PIN

SN: 45760-UP

1шт.

8

04050-11610

PIN,COTTER

SN: 45760-UP

2шт.

9

09459-11033

LOCK

SN: 45760-UP

1шт.

10

09459-01614

SPRING

SN: 45760-UP

1шт.

11

01642-21016

WASHER

SN: 45760-UP

1шт.

12

04050-13015

PIN,COTTER

SN: 45760-UP

1шт.

13

144-A62-7250

HOOD ASS'Y

SN: 45760-UP

1шт.

14

144-A62-7260

BAFFLE

SN: 45760-UP

1шт.

15

144-A62-7270

BAFFLE

SN: 45760-UP

1шт.

16

144-A62-7280

BAFFLE

SN: 45760-UP

1шт.

17

144-A62-7290

BAFFLE

SN: 45760-UP

1шт.

18

144-A62-7310

BAFFLE

SN: 45760-UP

1шт.

19

144-A62-7320

BAFFLE

SN: 45760-UP

1шт.

20

144-A62-7330

BAFFLE

SN: 45760-UP

1шт.

21

144-A62-6160

BAFFLE

SN: 45760-UP

1шт.

22

144-54-71150

COVER

SN: 45760-UP

1шт.

23

01010-51235

BOLT

SN: 45760-UP

5шт.

24

01602-21236

WASHER,SPRING

SN: 45760-UP

5шт.

25

01643-31232

WASHER

SN: 45760-UP

5шт.

26

144-A62-6550

COVER

SN: 45760-UP

1шт.

27

144-874-9720

SEAL

SN: 45760-UP

1шт.

28

01010-51020

BOLT

SN: 45760-UP

2шт.

29

01602-21030

WASHER,SPRING

SN: 45760-UP

2шт.

30

135-54-31290

HANDLE

SN: 45760-UP

1шт.

31

135-54-31310

STOPPER

SN: 45760-UP

1шт.

32

01643-31032

WASHER

SN: 45760-UP

1шт.

33

04025-00316

PIN,SPRING

SN: 45760-UP

1шт.

34

144-851-1990

RUBBER

SN: 45760-UP

1шт.

35

01010-51235

BOLT

SN: 45760-UP

5шт.

36

01602-21236

WASHER,SPRING

SN: 45760-UP

5шт.

37

01643-31232

WASHER

SN: 45760-UP

5шт.

38

08037-01610

GROMMET

SN: 45760-UP

2шт.

Выбрано товаров: 38