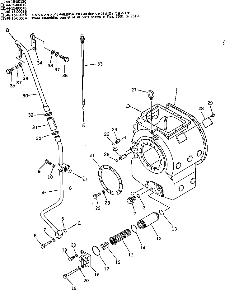
Запчасти Komatsu D65A-8 КОРПУС ГИДРОТРАНСФОРМАТОРА ГИДРОТРАНСФОРМАТОР И ТРАНСМИССИЯ

Схема запчастей Komatsu D65A-8 - КОРПУС ГИДРОТРАНСФОРМАТОРА ГИДРОТРАНСФОРМАТОР И ТРАНСМИССИЯ
FIT
1:1
100%

Артикул

Название

Примечание

Количество

|$0

144-15-00120

TRANSMISSION ASS'Y (D65A)

SN: 45825-UP

1шт.

|$1

0

TRANSMISSION ASS'Y (D65A)

SN: 45018-45824

1шт.

|$2

0

TRANSMISSION ASS'Y (D65A)

SN: 45001-45017

1шт.

|$3

14G-15-00016

TRANSMISSION ASS'Y (D65P)

SN: 45000-45000

1шт.

|$4

0

TRANSMISSION ASS'Y (D65P)

SN: 45000-45000

1шт.

|$5

0

TRANSMISSION ASS'Y (D65P)

SN: 45000-45000

1шт.

1

15B-15-11110

CASE

SN: 45563-UP

1шт.

1

0

CASE

SN: 45001-45562

1шт.

2

07044-13620

PLUG

SN: 45001-UP

1шт.

3

07002-03634

O-RING (K2)

SN: 45001-UP

1шт.

4

144-15-28120

PIPE

SN: 45001-UP

1шт.

5

07000-73028

O-RING (K2)

SN: 45001-UP

1шт.

6

01010-51060

BOLT

SN: 45001-UP

2шт.

7

01602-21030

WASHER,SPRING

SN: 45001-UP

2шт.

8

07000-73035

O-RING (K2)

SN: 45001-UP

1шт.

9

01010-51030

BOLT

SN: 45001-UP

2шт.

10

01602-21030

WASHER,SPRING

SN: 45001-UP

2шт.

11

145-15-41620

MAGNET ASS'Y

SN: 45533-UP

1шт.

11

145-14-31620

MAGNET ASS'Y

SN: 45001-45532

1шт.

12

145-14-31662

CASE

SN: 45001-UP

1шт.

13

07000-03045

O-RING (K2)

SN: 45001-UP

1шт.

14

07000-02075

O-RING (K2)

SN: 45001-UP

1шт.

15

145-14-31650

SPRING

SN: 45001-UP

1шт.

16

145-15-41410

COVER

SN: 45001-UP

1шт.

17

07000-72090

O-RING (K2)

SN: 45001-UP

1шт.

18

01010-51090

BOLT

SN: 45572-UP

2шт.

18

0

BOLT

SN: 45001-45571

2шт.

19

01010-51025

BOLT

SN: 45001-UP

2шт.

20

01602-21030

WASHER,SPRING

SN: 45001-UP

4шт.

21

144-15-21390

PLATE

SN: 45001-UP

1шт.

22

01010-51035

BOLT

SN: 45001-UP

12шт.

23

01602-21030

WASHER,SPRING

SN: 45001-UP

12шт.

24

145-15-44170

SLEEVE

SN: 45001-UP

1шт.

25

15B-15-14180

SLEEVE

SN: 45825-UP

1шт.

25

144-15-24180

SLEEVE

SN: 45001-45824

1шт.

26

07000-72018

O-RING (K2)

SN: 45001-UP

2шт.

27

04530-02030

BOLT,EYE

SN: 45001-UP

1шт.

28

09608-05080

PLATE, NAME,(LIMITED SUPPLY)

SN: 45001-UP

1шт.

29

04418-13060

SCREW

SN: 45001-UP

4шт.

30

144-15-28131

FILLER

SN: 45001-UP

1шт.

31

07260-24111

HOSE

SN: 45001-UP

1шт.

32

07280-05429

CLAMP

SN: 45001-UP

2шт.

33

144-15-28140

GAUGE

SN: 45001-UP

1шт.

34

144-15-28150

BRACKET

SN: 45001-UP

1шт.

35

01010-51025

BOLT

SN: 45001-UP

2шт.

36

01010-51035

BOLT

SN: 45001-UP

2шт.

37

01602-21030

WASHER,SPRING

SN: 45001-UP

4шт.

38

01643-31032

WASHER

SN: 45001-UP

4шт.

Выбрано товаров: 0