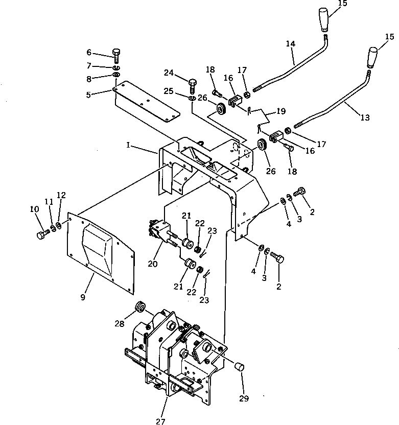
Запчасти Komatsu D65A-8 РУЛЕВ. УПРАВЛЕНИЕ РЫЧАГ СИСТЕМАУПРАВЛЕНИЯ ПОВОРОТОМ И КОНЕЧНАЯ ПЕРЕДАЧА

Схема запчастей Komatsu D65A-8 - РУЛЕВ. УПРАВЛЕНИЕ РЫЧАГ СИСТЕМАУПРАВЛЕНИЯ ПОВОРОТОМ И КОНЕЧНАЯ ПЕРЕДАЧА
FIT
1:1
100%

Артикул

Название

Примечание

Количество

1

144-54-24111

DASHBOARD

SN: 45001-UP

1шт.

2

01010-51235

BOLT

SN: 45001-UP

10шт.

3

01602-21236

WASHER,SPRING

SN: 45001-UP

10шт.

4

01643-31232

WASHER

SN: 45001-UP

10шт.

5

120-54-31541

COVER

SN: 45001-UP

1шт.

6

01010-51225

BOLT

SN: 45001-UP

6шт.

7

01602-21236

WASHER,SPRING

SN: 45001-UP

6шт.

8

01643-31232

WASHER

SN: 45001-UP

6шт.

9

144-54-24120

COVER

SN: 45001-UP

1шт.

10

01010-51225

BOLT

SN: 45001-UP

7шт.

11

01602-21236

WASHER,SPRING

SN: 45001-UP

7шт.

12

01643-31232

WASHER

SN: 45001-UP

7шт.

13

144-43-31111

LEVER,L.H.

SN: 45001-UP

1шт.

14

144-43-31121

LEVER,R.H.

SN: 45001-UP

1шт.

15

09305-11400

KNOB

SN: 45001-UP

2шт.

16

04210-21456

YOKE

SN: 45001-UP

2шт.

17

01582-11411

NUT

SN: 45001-UP

2шт.

18

04205-11438

PIN

SN: 45001-UP

2шт.

19

04050-14025

PIN,COTTER

SN: 45001-UP

2шт.

20

120-43-32411

BRACKET

SN: 45001-UP

1шт.

21

09365-00826

ROLLER

SN: 45001-UP

4шт.

22

01590-10809

NUT

SN: 45001-UP

4шт.

23

04050-12015

PIN,COTTER

SN: 45001-UP

4шт.

24

01010-51020

BOLT

SN: 45001-UP

2шт.

25

01602-21030

WASHER,SPRING

SN: 45001-UP

2шт.

26

130-54-61270

GUIDE

SN: 45001-UP

2шт.

27

144-43-51180

FRAME

SN: 45001-UP

1шт.

28

09415-03614

CAP

SN: 45001-UP

1шт.

29

07049-04253

PLUG

SN: 45001-UP

1шт.

Выбрано товаров: 29