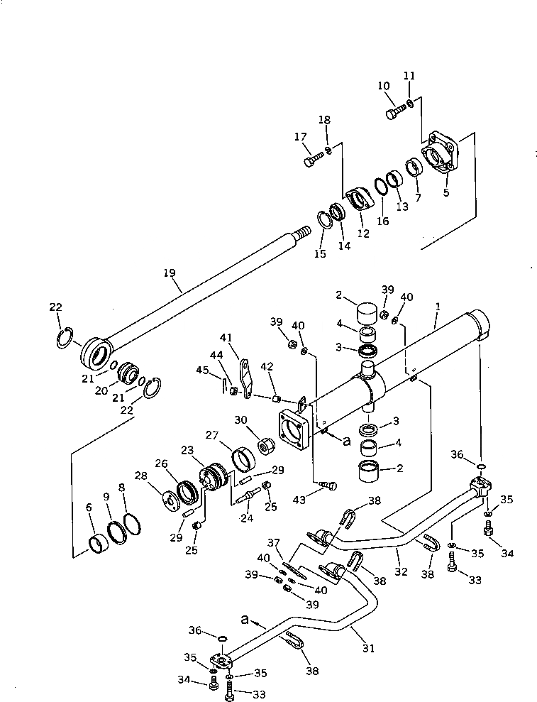
Запчасти Komatsu D65A-8 ЦИЛИНДР ПОДЪЕМА ОТВАЛА(№-9) УПРАВЛ-Е РАБОЧИМ ОБОРУДОВАНИЕМ

Схема запчастей Komatsu D65A-8 - ЦИЛИНДР ПОДЪЕМА ОТВАЛА(№-9) УПРАВЛ-Е РАБОЧИМ ОБОРУДОВАНИЕМ
FIT
1:1
100%

Артикул

Название

Примечание

Количество

|1

144-63-12502

CYLINDER ASS'Y,L.H.

SN: 45001-45942

1шт.

|1

144-63-12602

CYLINDER ASS'Y,R.H.

SN: 45001-45942

1шт.

1

144-63-12540

CYLINDER,L.H.

SN: 45001-45942

1шт.

|1

144-63-12640

CYLINDER,R.H.

SN: 45001-45942

1шт.

2

144-60-15431

BUSHING

SN: 45001-@

2шт.

3

07145-00055

SEAL,DUST

SN: 45001-@

2шт.

4

144-60-15450

BUSHING

SN: 45001-@

2шт.

5

144-63-12130

HEAD

SN: 45001-45942

1шт.

6

07177-06530

BUSHING

SN: 45001-@

1шт.

7

707-51-65110

PACKING

SN: 45001-45942

1шт.

8

07000-12105

O-RING

SN: 45001-@

1шт.

9

07146-02106

RING,BACK-UP

SN: 45001-45942

1шт.

10

01010-52055

BOLT

SN: 45001-45942

4шт.

11

01602-22060

WASHER,SPRING

SN: 45001-45942

4шт.

12

144-63-12230

GLAND

SN: 45001-45942

1шт.

13

07177-06515

BUSHING

SN: 45001-45942

1шт.

14

144-63-92170

SEAL,DUST

SN: 45001-@

1шт.

15

07179-00088

RING,SNAP

SN: 45001-45942

1шт.

16

07000-03078

O-RING

SN: 45001-45942

1шт.

17

01010-51450

BOLT

SN: 45001-45942

2шт.

18

01602-21442

WASHER,SPRING

SN: 45001-45942

2шт.

19

144-63-12120

ROD

SN: 45001-45942

1шт.

20

07137-04006

BUSHING

SN: 45001-@

1шт.

|20

07137-00040

SEAL,DUST

SN: 45001-@

2шт.

21

07000-03040

O-RING

SN: 45001-@

2шт.

22

04065-09030

RING,SNAP

SN: 45001-@

2шт.

|23

144-63-92360

PISTON SUB ASS'Y

SN: 45001-45942

1шт.

23

0

PISTON

SN: 45001-45942

1шт.

24

0

VALVE

SN: 45001-45942

3шт.

25

0

SEAT

SN: 45001-45942

6шт.

26

707-44-11080

RING,PISTON

SN: 45001-45942

1шт.

27

07155-01125

RING,WEAR

SN: 45001-45942

1шт.

28

707-40-11090

RETAINER

SN: 45001-45942

2шт.

29

130-63-12761

PIN

SN: 45001-45942

2шт.

30

144-63-12360

NUT

SN: 45001-45942

1шт.

31

144-63-12582

TUBE,L.H.

SN: 45001-45942

1шт.

|31

144-63-12682

TUBE,R.H.

SN: 45001-45942

1шт.

32

144-63-12592

TUBE,L.H.

SN: 45001-45942

1шт.

|32

144-63-12692

TUBE,R.H.

SN: 45001-45942

1шт.

33

01010-51055

BOLT

SN: 45001-45942

4шт.

34

01010-51050

BOLT

SN: 45001-45942

4шт.

35

01602-21030

WASHER,SPRING

SN: 45001-45942

8шт.

36

07000-13035

O-RING

SN: 45001-45942

2шт.

37

144-63-12571

PLATE

SN: 45001-45942

1шт.

38

07283-13442

CLIP

SN: 45001-45942

4шт.

39

01599-01011

NUT

SN: 45001-45942

8шт.

40

01643-21032

WASHER

SN: 45001-45942

8шт.

41

144-60-15491

PLATE

SN: 45001-45942

1шт.

42

140-60-15460

TUBE

SN: 45001-45942

1шт.

43

01012-51245

BOLT

SN: 45001-45942

1шт.

44

01590-11215

NUT

SN: 45001-45942

1шт.

45

04050-13025

PIN,COTTER

SN: 45001-45942

1шт.

Выбрано товаров: 52