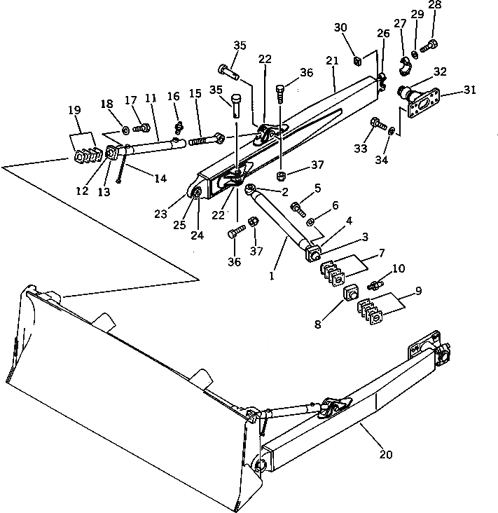
Запчасти Komatsu D65A-8 ПРЯМ. РАМА РАБОЧЕЕ ОБОРУДОВАНИЕ

Схема запчастей Komatsu D65A-8 - ПРЯМ. РАМА РАБОЧЕЕ ОБОРУДОВАНИЕ
FIT
1:1
100%

Артикул

Название

Примечание

Количество

|1

144-920-0121

BRACE ASS'Y

SN: 45001-UP

2шт.

1

144-920-2711

BRACE

SN: 45001-UP

1шт.

2

144-920-2592

BOSS

SN: 45001-UP

1шт.

3

144-920-2610

JOINT,BALL

SN: 45001-UP

1шт.

4

144-817-2420

RETAINER

SN: 45001-UP

1шт.

5

144-920-2720

BOLT

SN: 45001-UP

4шт.

6

01643-32060

WASHER

SN: 45001-UP

4шт.

7

144-920-0610

SHIM KIT

SN: 45001-UP

1шт.

|7

0

SHIM¤ 0.5MM

SN: 45001-UP

4шт.

|7

0

SHIM¤ 1.0MM

SN: 45001-UP

4шт.

8

144-920-1590

RETAINER

SN: 45001-UP

1шт.

9

144-920-0620

SHIM KIT

SN: 45001-UP

1шт.

|9

0

SHIM¤ 1.0MM

SN: 45001-UP

8шт.

|9

0

SHIM¤ 6.0MM

SN: 45001-UP

2шт.

10

07020-00000

FITTING,GREASE

SN: 45001-UP

1шт.

|11

144-920-0021

TILT BRACE ASS'Y

SN: 45001-UP

2шт.

11

144-920-2113

BRACE

SN: 45001-UP

1шт.

12

144-817-2171

JOINT,BALL

SN: 45001-UP

1шт.

13

144-817-2361

RETAINER

SN: 45001-UP

1шт.

14

144-817-2280

ROD

SN: 45001-UP

1шт.

15

144-920-2122

JOINT

SN: 45001-UP

1шт.

16

07020-00000

FITTING,GREASE

SN: 45001-UP

1шт.

17

01010-51865

BOLT

SN: 45001-UP

4шт.

18

01643-31845

WASHER

SN: 45001-UP

4шт.

19

144-817-0620

SHIM ASS'Y

SN: 45001-UP

1шт.

|19

0

SHIM¤ 0.5MM

SN: 45001-UP

4шт.

|19

0

SHIM¤ 1.0MM

SN: 45001-UP

4шт.

|20

144-920-0131

FRAME ASS'Y,L.H.

SN: 45001-UP

1шт.

|20

144-920-0141

FRAME ASS'Y,R.H.

SN: 45001-UP

1шт.

20

0

FRAME,L.H.

SN: 45001-UP

1шт.

21

0

FRAME,R.H.

SN: 45001-UP

1шт.

22

144-920-3172

BRACKET (WELDED)

SN: 45001-UP

2шт.

23

144-Z20-3420

JOINT (WELDED)

SN: 45001-UP

1шт.

24

144-817-3150

BUSHING (WELDED)

SN: 45001-UP

1шт.

25

140-920-3180

BUSHING (WELDED)

SN: 45001-UP

2шт.

26

0

PIVOT,(WELDED) (KIT)

SN: 45001-UP

1шт.

27

140-70-13151

CAP (KIT)

SN: 45001-UP

1шт.

28

01011-82430

BOLT (KIT)

SN: 45001-UP

2шт.

29

01643-32460

WASHER (KIT)

SN: 45001-UP

2шт.

30

130-70-13241

NUT (KIT)

SN: 45001-UP

2шт.

31

144-920-3211

TRUNNION

SN: 45001-UP

2шт.

32

144-920-3191

SHAFT (WELDED)

SN: 45001-UP

1шт.

33

01010-32045

BOLT

SN: 45001-UP

16шт.

34

01643-32060

WASHER

SN: 45001-UP

16шт.

35

13F-Z27-5610

PIN

SN: 45001-UP

4шт.

36

01010-51265

BOLT

SN: 45001-UP

4шт.

37

01598-01214

NUT

SN: 45001-UP

4шт.

|$$48

SERVICE KIT

-1шт.

|26

140-70-00032

PIVOT ASS'Y

SN: 45001-UP

2шт.

26

0

PIVOT

SN: 45001-UP

1шт.

27

140-70-13151

CAP

SN: 45001-UP

1шт.

28

01011-82430

BOLT

SN: 45001-UP

2шт.

29

01643-32460

WASHER

SN: 45001-UP

2шт.

30

130-70-13241

NUT

SN: 45001-UP

2шт.

Выбрано товаров: 54