Запчасти Komatsu D65A-8 БОКОВ. КРЫШКА ДВИГ. МАРКИРОВКА¤ ИНСТРУМЕНТ И РЕМКОМПЛЕКТЫ

Схема запчастей Komatsu D65A-8 - БОКОВ. КРЫШКА ДВИГ. МАРКИРОВКА¤ ИНСТРУМЕНТ И РЕМКОМПЛЕКТЫ
FIT
1:1
100%

Артикул

Название

Примечание

Количество

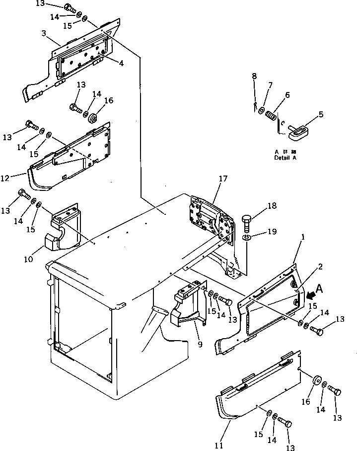
|1

144-54-00100

COVER ASS'Y,L.H.

SN: 45001-UP

1шт.

|1

144-54-00110

COVER ASS'Y,R.H.

SN: 45001-UP

1шт.

1

144-A62-7210

COVER,L.H.

SN: 45001-UP

1шт.

2

144-54-24580

COVER

SN: 45001-UP

1шт.

3

144-A62-7220

COVER,R.H.

SN: 45001-UP

1шт.

4

144-54-24590

COVER

SN: 45001-UP

1шт.

5

09459-11033

LOCK

SN: 45001-UP

2шт.

6

09459-01614

SPRING

SN: 45001-UP

2шт.

7

01642-21016

WASHER

SN: 45001-UP

2шт.

8

04050-13015

PIN,COTTER

SN: 45001-UP

2шт.

9

144-A62-7350

COVER,L.H.

SN: 45001-UP

1шт.

10

144-A62-7370

COVER,R.H.

SN: 45001-UP

1шт.

11

144-A62-7430

COVER,L.H.

SN: 45001-UP

1шт.

12

144-A62-7440

COVER,R.H.

SN: 45001-UP

1шт.

13

01010-51235

BOLT

SN: 45001-UP

24шт.

14

01602-21236

WASHER,SPRING

SN: 45001-UP

24шт.

15

01643-31232

WASHER

SN: 45001-UP

20шт.

16

144-54-24430

WASHER

SN: 45001-UP

4шт.

17

144-A62-6350

COVER

SN: 45001-UP

1шт.

18

01010-51440

BOLT

SN: 45001-UP

8шт.

19

01602-21442

WASHER,SPRING

SN: 45001-UP

8шт.

Выбрано товаров: 21