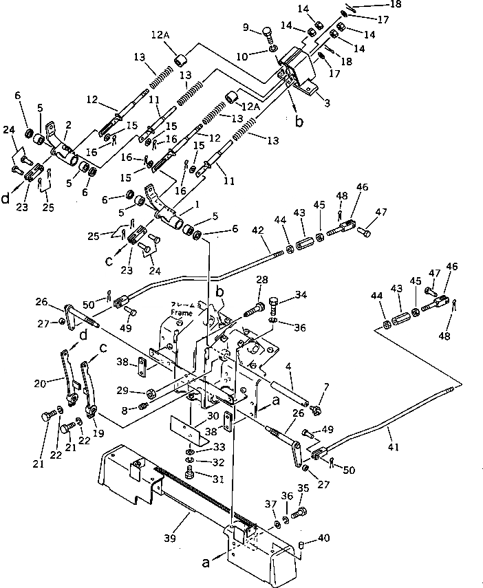
Запчасти Komatsu D65A-8 МЕХАНИЗМ УПРАВЛЕНИЯ ПОВОРОТОМ СИСТЕМАУПРАВЛЕНИЯ ПОВОРОТОМ И КОНЕЧНАЯ ПЕРЕДАЧА

Схема запчастей Komatsu D65A-8 - МЕХАНИЗМ УПРАВЛЕНИЯ ПОВОРОТОМ СИСТЕМАУПРАВЛЕНИЯ ПОВОРОТОМ И КОНЕЧНАЯ ПЕРЕДАЧА
FIT
1:1
100%

Артикул

Название

Примечание

Количество

1

144-43-31240

LEVER,L.H.

SN: 45001-UP

1шт.

2

144-43-31250

LEVER,R.H.

SN: 45001-UP

1шт.

3

144-43-31163

BRACKET

SN: 45001-UP

1шт.

4

120-43-39311

SHAFT

SN: 45001-UP

1шт.

5

06120-03020

BEARING

SN: 45001-UP

4шт.

6

06122-03004

SEAL

SN: 45001-UP

4шт.

7

07020-00900

FITTING,GREASE

SN: 45001-UP

1шт.

8

01322-40812

SCREW

SN: 45001-UP

1шт.

9

01010-51225

BOLT

SN: 45001-UP

2шт.

10

01602-21236

WASHER,SPRING

SN: 45001-UP

2шт.

11

144-43-31290

SHAFT

SN: 45001-UP

2шт.

12

144-43-31280

SHAFT

SN: 45001-UP

2шт.

12A

120-43-39331

GUIDE

SN: 45001-UP

2шт.

13

176-76-27620

SPRING

SN: 45001-UP

4шт.

14

01582-11008

NUT

SN: 45001-UP

4шт.

15

01642-20810

WASHER

SN: 45001-UP

4шт.

16

04050-12012

PIN,COTTER

SN: 45001-UP

4шт.

17

01642-21016

WASHER

SN: 45001-UP

2шт.

18

04050-13015

PIN,COTTER

SN: 45001-UP

2шт.

19

144-43-31132

LEVER,L.H.

SN: 45001-UP

1шт.

20

144-43-31142

LEVER,R.H.

SN: 45001-UP

1шт.

21

01010-51245

BOLT

SN: 45001-UP

2шт.

22

01602-21236

WASHER,SPRING

SN: 45001-UP

2шт.

23

04213-21460

YOKE

SN: 45001-UP

2шт.

24

04205-11438

PIN

SN: 45001-UP

4шт.

25

04050-14025

PIN,COTTER

SN: 45001-UP

4шт.

26

120-43-34752

LEVER

SN: 45001-UP

2шт.

27

0

BUSHING

SN: 45001-UP

1шт.

28

120-43-39361

DAMPER

SN: 45001-UP

2шт.

29

01580-11008

NUT

SN: 45001-UP

2шт.

30

120-43-34652

COVER

SN: 45001-UP

1шт.

31

01010-51225

BOLT

SN: 45001-UP

2шт.

32

01602-21236

WASHER,SPRING

SN: 45001-UP

2шт.

33

01643-31232

WASHER

SN: 45001-UP

2шт.

34

01010-51235

BOLT

SN: 45001-UP

2шт.

35

01010-51270

BOLT

SN: 45001-UP

4шт.

36

01602-21236

WASHER,SPRING

SN: 45001-UP

6шт.

37

01643-31232

WASHER

SN: 45001-UP

4шт.

38

01573-22310

SEAT

SN: 45001-UP

2шт.

39

144-43-31231

BRACKET

SN: 45001-UP

1шт.

40

07049-01620

PLUG

SN: 45001-UP

6шт.

41

144-43-31170

ROD,L.H.

SN: 45001-UP

1шт.

42

144-43-31180

ROD,R.H.

SN: 45001-UP

1шт.

43

176-43-41170

JOINT

SN: 45001-UP

2шт.

44

01582-11411

NUT

SN: 45001-UP

2шт.

45

01508-41408

NUT,L.H. THREAD

SN: 45001-UP

2шт.

46

144-43-31220

ROD

SN: 45001-UP

2шт.

47

04205-11028

PIN

SN: 45001-UP

2шт.

48

04050-13018

PIN,COTTER

SN: 45001-UP

2шт.

49

04205-11438

PIN

SN: 45001-UP

2шт.

50

04050-14022

PIN,COTTER

SN: 45001-UP

2шт.

Выбрано товаров: 0