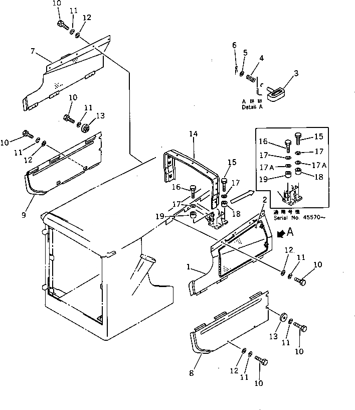
Запчасти Komatsu D65A-8 БОКОВ. КРЫШКА ДВИГ. ЧАСТИ КОРПУСА

Схема запчастей Komatsu D65A-8 - БОКОВ. КРЫШКА ДВИГ. ЧАСТИ КОРПУСА
FIT
1:1
100%

Артикул

Название

Примечание

Количество

|1

144-54-00010

COVER ASS'Y

SN: 45001-UP

1шт.

1

0

COVER

SN: 45001-UP

1шт.

2

144-54-24640

COVER

SN: 45001-UP

1шт.

3

09459-11033

LOCK

SN: 45001-UP

2шт.

4

09459-01614

SPRING

SN: 45001-UP

2шт.

5

01642-21016

WASHER

SN: 45001-UP

2шт.

6

04050-13015

PIN,COTTER

SN: 45001-UP

2шт.

7

144-54-24620

COVER

SN: 45001-UP

1шт.

8

144-54-14650

COVER

SN: 45001-UP

1шт.

9

144-54-14662

COVER

SN: 45001-UP

1шт.

10

01010-51235

BOLT

SN: 45001-UP

18шт.

11

01602-21236

WASHER,SPRING

SN: 45001-UP

18шт.

12

01643-31232

WASHER

SN: 45001-UP

16шт.

13

130-54-61230

WASHER

SN: 45305-UP

4шт.

|13

144-54-24430

WASHER

SN: 45001-45304

4шт.

14

144-54-24230

COVER

SN: 45001-UP

1шт.

15

01010-51465

BOLT

SN: 45001-UP

6шт.

16

01010-51495

BOLT

SN: 45001-UP

2шт.

17

01602-21442

WASHER,SPRING

SN: 45001-UP

8шт.

17A

01640-21426

WASHER

SN: 45570-UP

8шт.

18

144-54-51270

COLLAR

SN: 45001-UP

6шт.

19

144-54-51280

COLLAR

SN: 45001-UP

2шт.

Выбрано товаров: 22