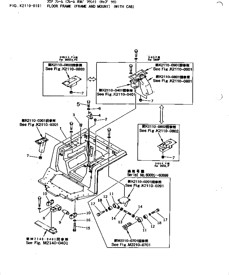
Запчасти Komatsu D65E-12 ОСНОВН. КОНСТРУКЦИЯ (РАМА И КРЕПЛЕНИЕ) (С КАБИНОЙ) КАБИНА ОПЕРАТОРА И СИСТЕМА УПРАВЛЕНИЯ

Схема запчастей Komatsu D65E-12 - ОСНОВН. КОНСТРУКЦИЯ (РАМА И КРЕПЛЕНИЕ) (С КАБИНОЙ) КАБИНА ОПЕРАТОРА И СИСТЕМА УПРАВЛЕНИЯ
FIT
1:1
100%

Артикул

Название

Примечание

Количество

1

14X-54-16114

FRAME

SN: 60700-UP

1шт.

1

0

FRAME

SN: 60001-60699

1шт.

2

07049-01215

PLUG

SN: 60001-UP

2шт.

3

07049-02430

PLUG

SN: 60001-UP

2шт.

4

14X-54-16641

BRACKET

SN: 60001-UP

1шт.

5

01010-51025

BOLT

SN: 60001-UP

2шт.

6

01643-31032

WASHER

SN: 60001-UP

2шт.

7

09415-02512

CAP,(D60)

SN: 60001-UP

3шт.

7

09415-02512

CAP,(D65)

SN: 60001-UP

2шт.

8

14X-54-17122

BRACKET

SN: 60001-UP

2шт.

9

14X-54-17110

RUBBER

SN: 60001-UP

2шт.

10

14X-54-17130

PLATE

SN: 60001-UP

4шт.

|$24

17A-54-16440

HEAD ASS'Y

SN: 60001-60699

2шт.

11

17A-54-16450

HEAD

SN: 60001-60699

1шт.

12

17A-54-16460

CUSHION

SN: 60001-60699

1шт.

13

14X-54-17470

ROD

SN: 60001-60699

1шт.

14

01580-12419

NUT

SN: 60001-60699

2шт.

15

01011-51600

BOLT

SN: 60001-UP

8шт.

16

01643-31645

WASHER

SN: 60001-UP

8шт.

17

01010-52495

BOLT

SN: 60001-60699

1шт.

18

01643-32460

WASHER

SN: 60001-60699

1шт.

Выбрано товаров: 21