Запчасти Komatsu D65E-12 ОМЫВАТЕЛЬ СТЕКЛА БАК КАБИНА ОПЕРАТОРА И СИСТЕМА УПРАВЛЕНИЯ

Схема запчастей Komatsu D65E-12 - ОМЫВАТЕЛЬ СТЕКЛА БАК КАБИНА ОПЕРАТОРА И СИСТЕМА УПРАВЛЕНИЯ
FIT
1:1
100%

Артикул

Название

Примечание

Количество

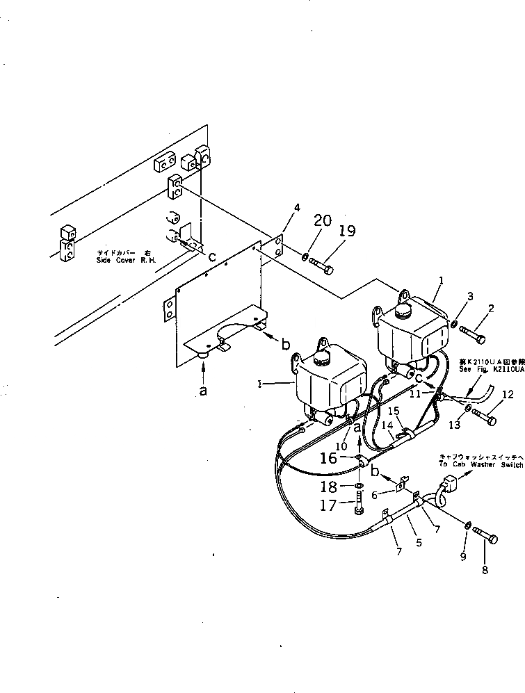
1

14X-911-1160

WASHER TANK,TANK

SN: 60001-UP

2шт.

2

01010-50616

BOLT

SN: 60001-UP

4шт.

3

01643-30623

WASHER

SN: 60001-UP

4шт.

4

14X-911-3630

BRACKET

SN: 60001-UP

1шт.

5

14X-06-14210

WIRING HARNESS

SN: 60001-UP

1шт.

6

08053-00910

CLIP

SN: 60001-UP

1шт.

7

08036-01214

CLIP

SN: 60001-UP

2шт.

8

01010-51016

BOLT

SN: 60001-UP

2шт.

9

01643-31032

WASHER

SN: 60001-UP

2шт.

10

08034-00519

BAND

SN: 60001-UP

1шт.

11

08036-02514

CLIP

SN: 60001-UP

1шт.

12

01010-51016

BOLT

SN: 60001-UP

1шт.

13

01643-31032

WASHER

SN: 60001-UP

1шт.

14

14X-911-1170

HOSE ASS'Y

SN: 60001-UP

1шт.

15

08036-01414

CLIP

SN: 60001-UP

1шт.

16

08036-00814

CLIP

SN: 60001-UP

1шт.

17

01010-51016

BOLT

SN: 60001-UP

2шт.

18

01643-31032

WASHER

SN: 60001-UP

2шт.

19

01010-51220

BOLT

SN: 60001-UP

4шт.

20

01643-31232

WASHER

SN: 60001-UP

4шт.

Выбрано товаров: 20