Запчасти Komatsu D65E-12 ОХЛАЖД-Е (КРЕПЛЕНИЕ И РЕЗЕРВН. БАК) СИСТЕМА ОХЛАЖДЕНИЯ

Схема запчастей Komatsu D65E-12 - ОХЛАЖД-Е (КРЕПЛЕНИЕ И РЕЗЕРВН. БАК) СИСТЕМА ОХЛАЖДЕНИЯ
FIT
1:1
100%

Артикул

Название

Примечание

Количество

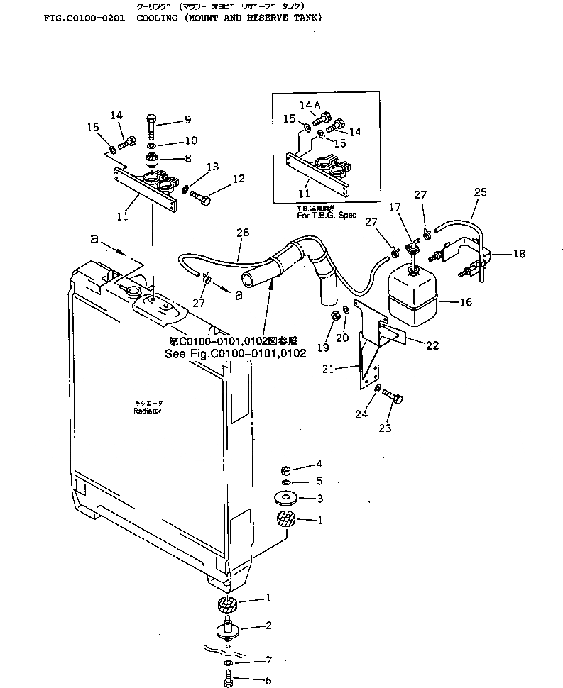
1

205-54-71680

CUSHION

SN: 60001-UP

4шт.

2

14X-03-13121

BOSS

SN: 60001-UP

2шт.

3

566-95-91410

PLATE

SN: 60001-UP

2шт.

4

01580-11411

NUT

SN: 60001-UP

2шт.

5

01643-31445

WASHER

SN: 60001-UP

2шт.

6

01010-51455

BOLT

SN: 60001-UP

2шт.

7

01643-31445

WASHER

SN: 60001-UP

2шт.

8

135-03-12110

DAMPER

SN: 60001-UP

2шт.

9

01010-51455

BOLT

SN: 60001-UP

2шт.

10

01643-31445

WASHER

SN: 60001-UP

2шт.

11

14X-03-13211

BRACKET

SN: 60001-UP

1шт.

12

01010-51035

BOLT

SN: 60001-UP

2шт.

13

01643-31032

WASHER

SN: 60001-UP

2шт.

14

01010-51030

BOLT

SN: 60001-UP

4шт.

|14

01010-51020

BOLT,(TBG SPEC.)

SN: 60001-UP

2шт.

14A

01439-01030

BOLT,(TBG SPEC.)

SN: 60001-UP

2шт.

15

01643-31032

WASHER

SN: 60001-UP

4шт.

16

202-03-61110

TANK,RESERVE

SN: 60001-UP

1шт.

17

205-03-71531

CAP

SN: 60001-UP

1шт.

18

20Y-03-11361

BAND

SN: 60001-UP

1шт.

19

01580-10806

NUT

SN: 60001-UP

2шт.

20

01643-30823

WASHER

SN: 60001-UP

2шт.

21

14X-03-12111

BRACKET

SN: 60001-UP

1шт.

22

205-03-71440

SHEET

SN: 60001-UP

2шт.

23

01010-51220

BOLT

SN: 60001-UP

4шт.

24

01643-31232

WASHER

SN: 60001-UP

4шт.

25

206-03-43331

HOSE

SN: 60001-UP

1шт.

26

14X-03-12130

HOSE

SN: 60001-UP

1шт.

27

206-03-43340

CLIP

SN: 60001-UP

3шт.

Выбрано товаров: 29