Запчасти Komatsu D65E-12 ОПОРНЫЙ ЭЛЕМЕНТ ЛЕНИВЦА ХОДОВАЯ

Схема запчастей Komatsu D65E-12 - ОПОРНЫЙ ЭЛЕМЕНТ ЛЕНИВЦА ХОДОВАЯ
FIT
1:1
100%

Артикул

Название

Примечание

Количество

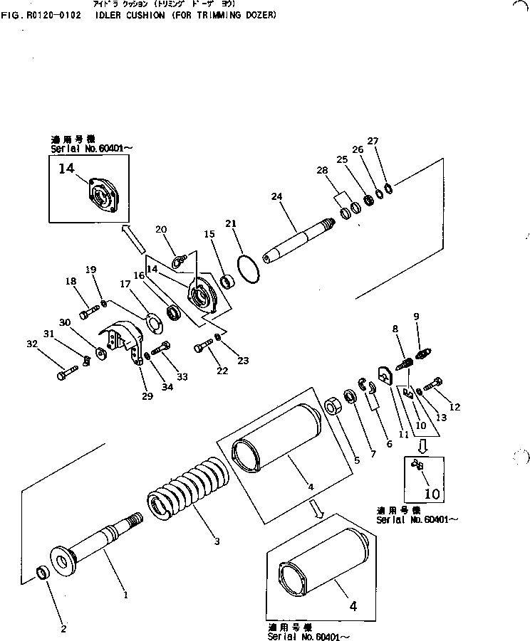
1

14X-30-13113

CYLINDER

SN: 60001-UP

2шт.

2

07177-09040

BUSHING

SN: 60001-UP

2шт.

3

207-30-54140

SPRING

SN: 60001-UP

2шт.

4

14Y-30-11373

CABIN

SN: 60401-UP

2шт.

|4

14Y-30-11372

CABIN

SN: 60001-60400

2шт.

5

208-30-54160

NUT

SN: 60001-UP

2шт.

6

14X-30-13240

SPACER

SN: 60001-UP

4шт.

7

14X-30-13250

SPACER

SN: 60001-UP

2шт.

8

203-30-42260

VALVE

SN: 60001-UP

2шт.

9

07020-00900

FITTING

SN: 60001-UP

2шт.

10

14X-30-13174

PLATE

SN: 60401-UP

2шт.

|10

14X-30-13173

PLATE

SN: 60001-60400

2шт.

11

14X-30-13280

PLATE

SN: 60001-60400

2шт.

12

01010-50830

BOLT

SN: 60401-UP

4шт.

|12

01010-50830

BOLT

SN: 60001-60400

6шт.

13

01643-30823

WASHER

SN: 60401-UP

4шт.

|13

01643-30823

WASHER

SN: 60001-60400

6шт.

14

14X-30-13163

HOLDER

SN: 60401-UP

2шт.

|14

14X-30-13162

HOLDER

SN: 60001-60400

2шт.

15

07177-09040

BUSHING

SN: 60001-UP

2шт.

16

07019-00090

SEAL

SN: 60001-UP

2шт.

17

135-30-14620

COVER

SN: 60001-UP

2шт.

18

01010-51020

BOLT

SN: 60001-UP

6шт.

19

01643-31032

WASHER

SN: 60001-UP

6шт.

20

04530-11018

BOLT

SN: 60001-UP

2шт.

21

07000-06235

O-RING

SN: 60001-UP

2шт.

22

01010-51235

BOLT

SN: 60401-UP

8шт.

|22

01010-51235

BOLT

SN: 60001-60400

4шт.

23

01643-31232

WASHER

SN: 60401-UP

8шт.

|23

01643-31232

WASHER

SN: 60001-60400

4шт.

24

14X-30-13142

PISTON

SN: 60001-UP

2шт.

25

150-30-13442

PACKING

SN: 60001-UP

2шт.

26

150-30-13480

RING

SN: 60001-UP

2шт.

27

150-30-13460

RING,SNAP

SN: 60001-UP

2шт.

28

150-30-13430

RING

SN: 60001-UP

4шт.

29

14X-30-13124

YOKE

SN: 60001-UP

2шт.

30

195-30-14151

WASHER

SN: 60001-UP

2шт.

31

195-30-14160

PLATE

SN: 60001-UP

2шт.

32

01010-52460

BOLT

SN: 60001-UP

2шт.

33

01010-52070

BOLT

SN: 60001-UP

12шт.

34

01643-32060

WASHER

SN: 60001-UP

12шт.

Выбрано товаров: 41